LEMON Manuals: Even more car manuals for everyone: 1960-2025
Home >> Nissan-Datsun >> 2016 >> Rogue SV, FWD >> Repair and Diagnosis >> Electrical >> Body Electrical >> Power Control System (Power Distribution System) >> System Description >> System >> Auto Acc Function >> System Description >> Operation Flow
April 5, 2026: LEMON Manuals is launched! Read the announcement.

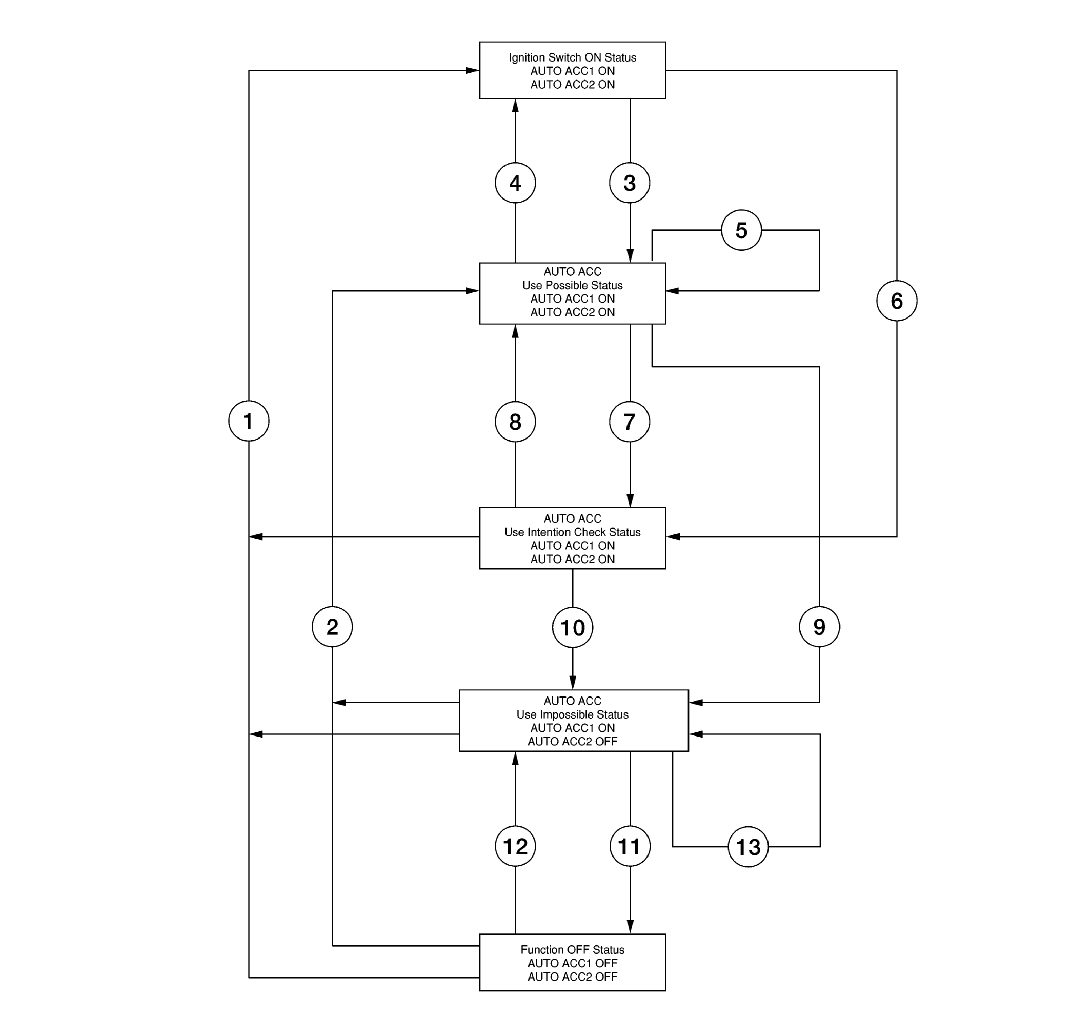
Operation Flow

Fig 1: Auto ACC Operation Flow
GNSALMIA0834GB-834Courtesy of NISSAN NORTH AMERICA, INC.