LEMON Manuals: Even more car manuals for everyone: 1960-2025
Home >> Nissan-Datsun >> 2016 >> Sentra FE+S >> Repair and Diagnosis (Single Page) >> Brakes >> Brakes Control Systems >> Brake Control System (With ICC) (Introduction, Wiring Diagrams And Basic Inspection) >> Basic Inspection >> ICC Sensor Alignment >> Vehicle Set Up >> Description
April 5, 2026: LEMON Manuals is launched! Read the announcement.

Vehicle Set Up: Description

Accurate adjustment of the ICC sensor alignment requires that the ICC target board, wheel adapter, laser assembly, and stationary target be properly positioned.

CAUTION:

If the ICC sensor alignment is adjusted with the ICC target board, wheel adapter, laser assembly, or stationary target in the incorrect position, the ICC system will not function properly or the alignment procedure may not be completed successfully.

  1. PREPOSITION TARGET BOARD

    NOTE:
    • The center of the sensor wave axis (A) is located at the center of the front lens.
      Fig 1: Center Of The Sensor Wave Axis
      GNSDB120012Courtesy of NISSAN NORTH AMERICA, INC.
    • Initial ICC target board setting must be in the center position.
    1. Position the ICC target board in front facing the right front side of the vehicle:
      Fig 2: Adjusting Height Of ICC Target Board Using Adjustable Nut
      G08852459Courtesy of NISSAN NORTH AMERICA, INC.
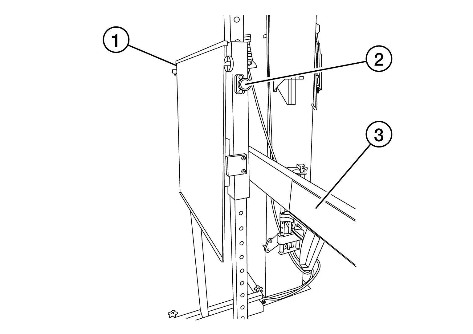
      1. Using the full length of the supplied chain for distance, place the marked center of the ICC target board (1) 1200 mm (47.2 in.) +- 625 mm(24.6 in) facing the ICC sensor.
      2. Adjust the height of the ICC target board using the adjustable nut (2) to achieve the proper height. The up/down tolerance is +- 80 mm (3.15 in).
      3. Adjust the ICC target board lateral position aligning the marked center of the board horizontally with the center of the ICC sensor front lens. The right/left tolerance is +- 80 mm (3.15 in).
    2. Extend the machined arm of the ICC target board exposing the reflective surface (3) to the right front side of the vehicle.
    3. Place one side of the laser assembly (2) flush against the center of the ICC target board (1) to assist in the positioning.
      Fig 3: Laser Assembly (2), Icc Target Board (1) And Laser Assembly On (3)
      GNSDB122899Courtesy of NISSAN NORTH AMERICA, INC.
    4. Turn the laser assembly ON (3) allowing the laser beam to emit through the opening of the laser assembly toward the center of the ICC sensor.
    5. Move the ICC target board (1) as necessary so that center of ICC target board aligns with center of ICC sensor.
    6. Turn the laser assembly OFF when done.

    Are you using Hunter alignment equipment?

    YES 

    Refer to Hunter's equipment instructions for complete vehicle set up and ICC target board setting. Then, refer to ICC SENSOR ADJUSTMENT .

    NO 

    GO TO STEP 2. 

  2. INSTALLING LASER ASSEMBLY

    NOTE:
    • Ensure the steering wheel is positioned in the center straight-forward position.
    • Ensure all four vehicle wheels do not have any physical damage.
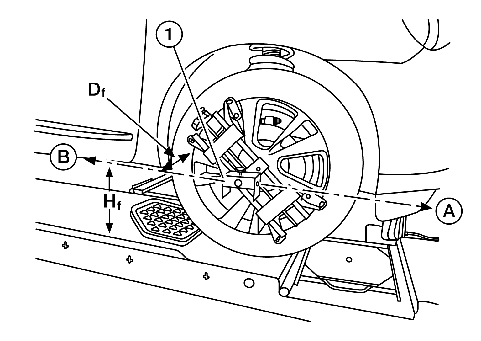
    1. Install the wheel adapter (1) on the right front wheel.
      Fig 4: Self-Centering Wheel Adapter And Laser Assembly
      G08852453Courtesy of NISSAN NORTH AMERICA, INC.
    2. Mount the laser assembly (2) to the wheel adapter (1) as shown in the figure.
      NOTE:

      When the power switch is turned ON, the front laser signal (A) will be emitted toward the front ICC target board, and the rear laser signal (B) will be emitted toward the rear of the vehicle.

    GO TO STEP 3. 

  3. SETTING UP STATIONARY TARGET

    1. Place the stationary target next to the right rear tire as shown in the figure.
      Fig 5: Placing Stationary Target Next To Right Rear Tire
      G08852462Courtesy of NISSAN NORTH AMERICA, INC.
    2. Turn the laser assembly ON allowing the laser beam to be emitted through the front and rear laser assembly openings.
    3. Measure and record the distance (Dr ) between the edge of the right rear wheel and the laser beam (1) on the stationary target (horizontal line).
    4. Measure and record the height (Hr ) between the laser beam (1) on the stationary target and ground level (vertical line).
    5. Measure and record the distance (Df ) between the edge of the right front wheel and the laser beam signal/opening (1) on the laser assembly (horizontal line).
      Fig 6: Measuring Height Between Laser Beam Signal/Opening On Laser Assembly And Ground Level
      G08852463Courtesy of NISSAN NORTH AMERICA, INC.
    6. Measure and record the height (Hf ) between the laser beam signal/opening (1) on the laser assembly and ground level (vertical line).
      NOTE:
      • Horizontal adjustment [front distance (Df) and rear distance (Dr )] is accomplished by slowly turning the steering wheel until the 2 distances are the same.
      • Vertical adjustment [front height (Hf) and rear height (Hr )] is accomplished by rotating the laser assembly around its axis until the two heights are the same.
      • Directional arrows (A) and (B) are shown to illustrate the direction of the laser assembly beams.
    7. Adjust laser beam as necessary until the two distances match and the two heights match.
      NOTE:

      You will have to verify both horizontal and vertical adjustments anytime one adjustment is made.

    Refer to SETTING THE ICC TARGET BOARD .