LEMON Manuals: Even more car manuals for everyone: 1960-2025
Home >> Nissan-Datsun >> 2016 >> Sentra FE+S >> Repair and Diagnosis (Single Page) >> Drivelines & Axles >> Wheel Hubs >> Front Axle >> Unit Disassembly And Assembly >> Front Drive Shaft >> Except 6M/T >> Exploded View With Torque Specifications
April 5, 2026: LEMON Manuals is launched! Read the announcement.

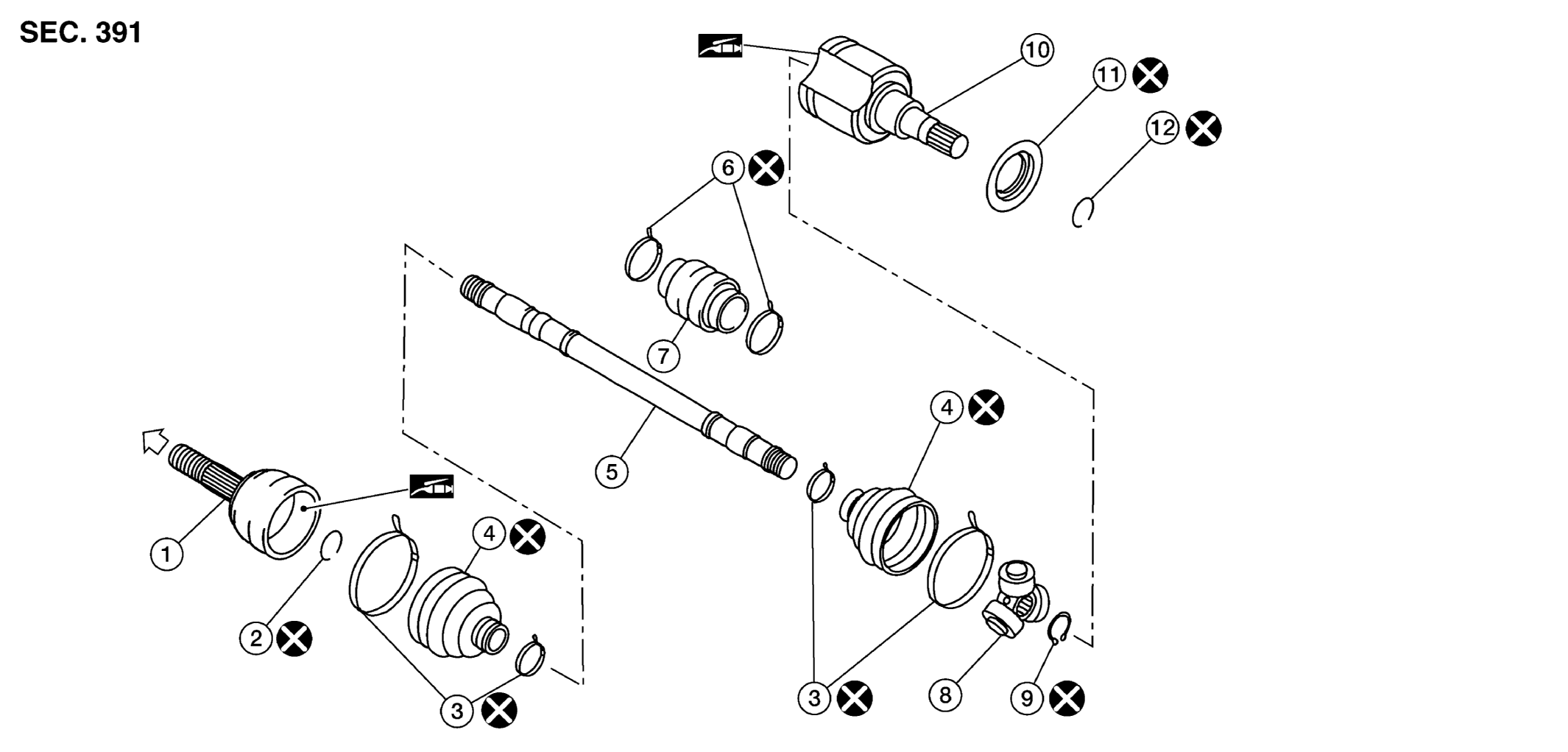
Exploded View With Torque Specifications

(LH) 

Fig 1: Exploded View Of Front Drive Shaft And Boots (LH)
GNSJPDIF0266ZZ-266Courtesy of NISSAN NORTH AMERICA, INC.
1. Circular clip 2. Dust shield 3. Slide joint housing
4. Snap ring 5. Spider assembly 6. Boot band
7. Boot 8. Shaft 9. Damper band
10. Dynamic damper 11. Circular clip 12. Joint sub-assembly
ARROW Wheel side        

(RH) 

Fig 2: Exploded View Of Front Drive Shaft And Boots (RH) (2 Of 2)
GNSAWDIA1083ZZ-083Courtesy of NISSAN NORTH AMERICA, INC.
1. Joint sub - assembly 2. Circular clip 3. Boot band
4. Boot 5. Shaft 6. Damper band
7. Dynamic damper 8. Spider assembly 9. Snap ring
10. Slide joint housing 11. Dust shield 12. Circular clip
ARROW Wheel side