Required Tools
- ICC alignment kit 1-20-2851-1 in addition to one of the following:
a) Hunter self-centering wheel adapter (Hunter wheel alignment tool)
b) Special Service Tool kit 1-20-2722-1-IF (kit SCA W/Tire Clamp-ICC Aiming)
The following ICC alignment kit 1-20-2851-1 is necessary to perform the ICC sensor alignment:
- ICC target board.
- Position 1, with top tilted 2° toward vehicle (1).
- Position 2, vertical (2).
- Position 3, with top tilted 2° away from vehicle (3).
- Hunter self-centering wheel adapter (1) [shown with laser assembly (2) installed]. (Hunter alignment rack head may be substituted.)
NOTE:
When the power switch is turned ON, the front laser signal (A) will be emitted toward the front ICC target board, and the rear laser signal (B) will be emitted toward the rear of the vehicle.
NOTE:Retailers that are not equipped with a Hunter self-centering wheel adapter will require the following kit:
Part No. 1-20-2722-1-IF (kit SCA W/Tire Clamp-ICC Aiming)
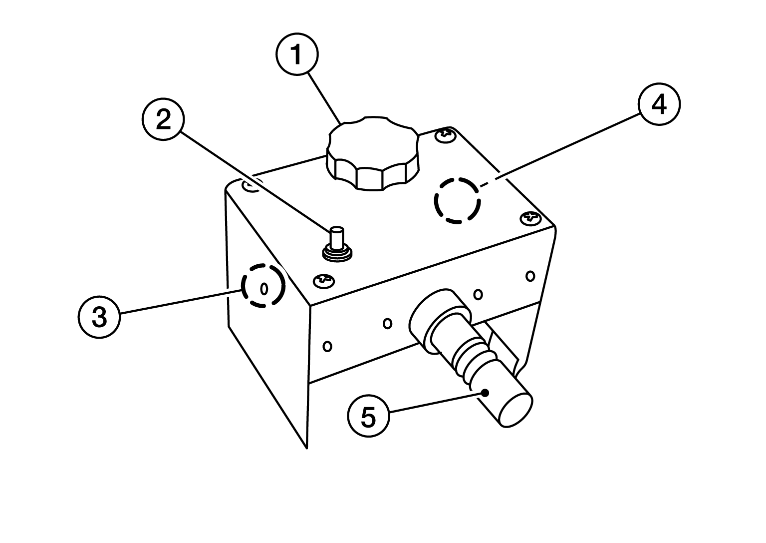
- Laser assembly (with bi-directional laser beam) as shown in the illustration.
- Tightening knob (1)
- Power ON/OFF button (2)
- Front laser beam opening (3)
- Rear laser beam opening (4)
- Attaching shaft (5)
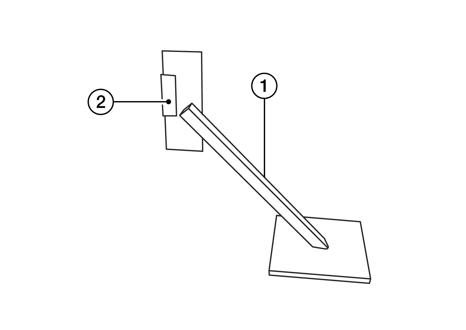
- Stationary target as shown in the illustration.
- Stationary target (1)
- Laser signal reception plate (2)
- Distance chain (not shown).