LEMON Manuals: Even more car manuals for everyone: 1960-2025
Home >> Nissan-Datsun >> 2016 >> Versa Note S, Standard Trans >> Repair and Diagnosis (Single Page) >> Accessories & Equipment >> Entertainment Systems >> Audio, Visual & Navigation System (Base Audio) >> Removal And Installation >> Audio Unit >> Exploded View With Torque Specifications
April 5, 2026: LEMON Manuals is launched! Read the announcement.

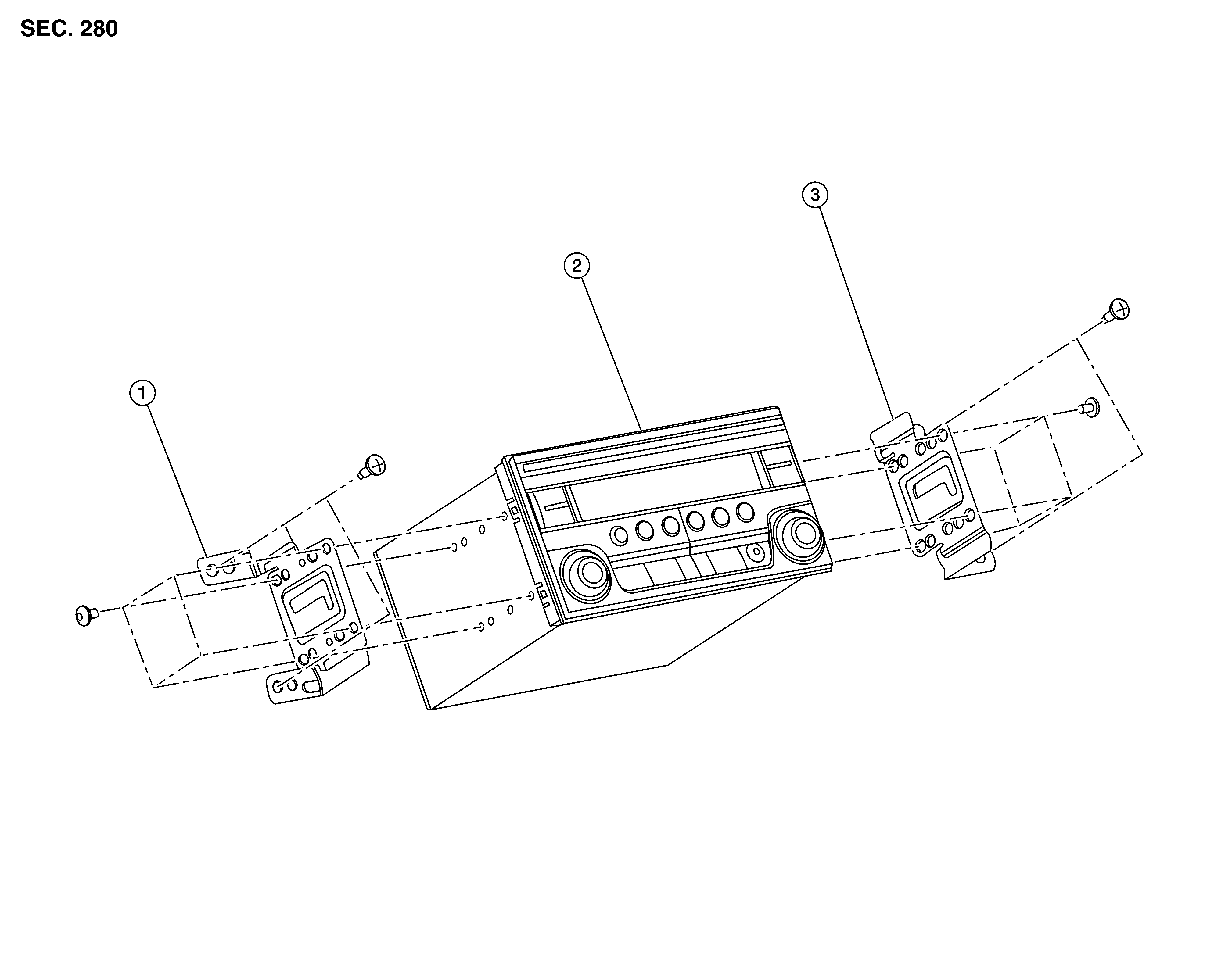
Exploded View With Torque Specifications

Fig 1: Exploded View Of Audio Unit
GNSAWNIA3121ZZ-121Courtesy of NISSAN NORTH AMERICA, INC.
1. Audio unit bracket (LH) 2. Audio unit 3. Audio unit bracket (RH)