LEMON Manuals: Even more car manuals for everyone: 1960-2025
Home >> Nissan-Datsun >> 2016 >> Versa Note SL >> Repair and Diagnosis >> Brakes >> Traction Control >> Brake Control System >> System Description >> System >> VDC/TCS/Abs >> TCS Function >> System Diagram
April 5, 2026: LEMON Manuals is launched! Read the announcement.

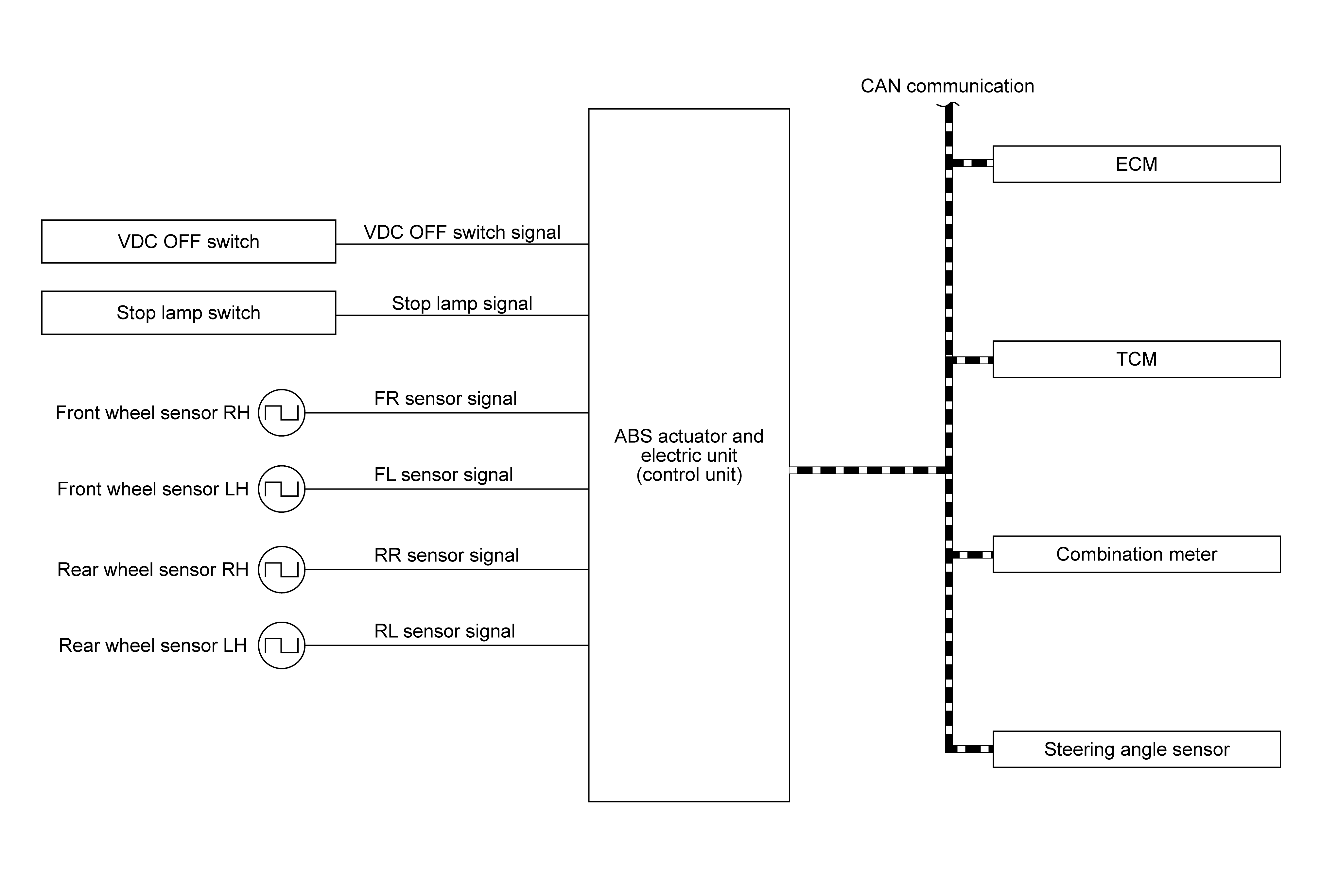
System Diagram

Fig 1: TCS Function System Diagram
G08200249Courtesy of NISSAN NORTH AMERICA, INC.