LEMON Manuals: Even more car manuals for everyone: 1960-2025
Home >> Nissan-Datsun >> 2016 >> Versa Note SL >> Repair and Diagnosis >> Suspension >> Wheel Alignment >> Front Suspension >> Unit Disassembly And Assembly >> Front Coil Spring And Strut >> Disassembly And Assembly >> Assembly
April 5, 2026: LEMON Manuals is launched! Read the announcement.

Disassembly And Assembly: Assembly

CAUTION:

Do not damage the piston rod when removing components from the front coil spring and strut.

  1. If necessary, install strut mount bearing (1) to spring upper seat (2), using a Tool (A).
    Fig 1: Strut Mount Bearing (1) To Spring Upper Seat (2) And Tool (A)
    GNSJPEIA0233ZZ-233Courtesy of NISSAN NORTH AMERICA, INC.
    Tool number (A) : KV10106700 (-)
    CAUTION:
    • Do not press on aluminum shield.
    • Do not reuse strut mount bearing.
  2. Install Tool (A) to the front coil spring and strut.
    Fig 2: Shock Absorber Attachment
    G05224320Courtesy of NISSAN NORTH AMERICA, INC.
    CAUTION:

    When installing Tool (A), wrap a shop cloth around the front coil spring and strut to protect the parts from damage.

    Tool number (A) : ST35652000 (-)
  3. Secure Tool (A) in a vise.
  4. Compress coil spring using a suitable tool (A).
    Fig 3: Compressing Coil Spring Between Spring Upper Seat And Lower Seat Using Spring Compressor
    G05224321Courtesy of NISSAN NORTH AMERICA, INC.
    WARNING:

    Make sure that the pawls of the suitable tool are firmly hooked on the coil spring. The suitable tool must be tightened alternately so as to not tilt the coil spring.

    CAUTION:

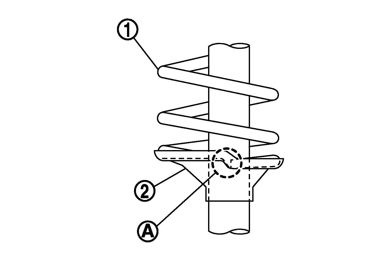
    Face tube side of coil spring (1) downward. Align the lower end to lower seat (2).

    Fig 4: Coil Spring And Lower Rubber Seat
    G05893067Courtesy of NISSAN NORTH AMERICA, INC.
    Maximum gap (A) :5 mm (0.2 in)
  5. Apply soapy water to bound bumper.
    CAUTION:

    Do not use machine oil.

  6. Insert bound bumper into spring upper seat.
  7. Install strut mount bearing, spring upper seat, and bound bumper as a set.
    CAUTION:

    Do not apply oil, such as grease, when installing the strut mount bearing.

  8. Secure piston rod tip so that piston rod does not turn, then install piston rod lock nut and tighten to the specified torque.
    CAUTION:

    Do not reuse piston rod lock nut.

  9. Gradually release the suitable tool, and remove the suitable tool from the coil spring.
    CAUTION:

    Release the suitable tool while making sure the position of the suitable tool on the coil spring does not move.

  10. Remove the Tool (A) from the vise.
    Fig 5: Shock Absorber Attachment
    G05224320Courtesy of NISSAN NORTH AMERICA, INC.
    Tool number (A) : ST35652000 (-)
  11. Remove Tool (A) from the front coil spring and strut.
  12. Install strut mount insulator.
  13. After replacing the strut, always follow the disposal procedure to discard the old strut. Refer to DISPOSAL .