LEMON Manuals: Even more car manuals for everyone: 1960-2025
Home >> Nissan-Datsun >> 2016 >> Versa Note SL >> Repair and Diagnosis >> Transmission >> Manual Transmission >> Unit Disassembly And Assembly >> Transaxle Assembly >> Assembly
April 5, 2026: LEMON Manuals is launched! Read the announcement.

Transaxle Assembly: Assembly

  1. Install snap rings (1) along transaxle case groove so that notch mates with housing as shown.
    Fig 1: Snap Rings
    G06538081Courtesy of NISSAN NORTH AMERICA, INC.
    CAUTION:
    • Do not reuse snap rings.
    • Check snap ring installation direction.
    • Be sure to align notch with housing.
  2. Expand snap rings (1) and install input shaft rear bearing and mainshaft rear bearing to transaxle case, using Tool (A).
    Fig 2: Snap Rings And Check Balls
    G06538082Courtesy of NISSAN NORTH AMERICA, INC.
    CAUTION:

    Check that snap ring is correctly installed within bearing groove.

    Tool number : ST35300000 (-)
  3. Install check balls (2) to transaxle case.
  4. Install bushings (1) until they reach transaxle case, using suitable tool (A).
    Fig 3: Installing Bushings Using Tool
    G06538083Courtesy of NISSAN NORTH AMERICA, INC.
    CAUTION:

    Do not reuse bushings.

  5. Apply gear oil to O-ring, and then install it to control shaft.
    CAUTION:

    Do not reuse O-ring.

  6. Install control shaft (1) to transaxle case, and tighten bolts (ARROWF ) to the specified torque.
    Fig 4: Control Shaft With Bolts
    G06538079Courtesy of NISSAN NORTH AMERICA, INC.
    CAUTION:

    Replace control shaft and selector as a set.

  7. Install selector to control shaft, and then install retaining pin (ARROWF ) to selector, using suitable tool.
    Fig 5: Retaining Pin
    G06538085Courtesy of NISSAN NORTH AMERICA, INC.
    CAUTION:
    • Be careful with the orientation of selector.
    • Replace control shaft and selector as a set.
    • Do not reuse retaining pin.
  8. Install gear catch, spring, and bushing to transaxle case, and then tighten bolt (ARROWF ) to the specified torque.
    Fig 6: Transaxle Case Bolt
    G06538078Courtesy of NISSAN NORTH AMERICA, INC.
    CAUTION:

    Replace gear catch, spring, and bushing as a set.

  9. Install oil gutter to transaxle case.
  10. Install air breather inner tube (2) to transaxle case.
    Fig 7: Way Connector And Air Breather Inner Tube
    G06538076Courtesy of NISSAN NORTH AMERICA, INC.
    CAUTION:

    Do not damage air breather inner tube.

    NOTE:

    It is easier to install when air breather inner tube end is wrapped and narrowed by tape. Remove tape after installation.

  11. Insert 2-way connector (1) straight, and then install it to air breather inner tube.
    CAUTION:

    Check air breather inner tube for twists after installing.

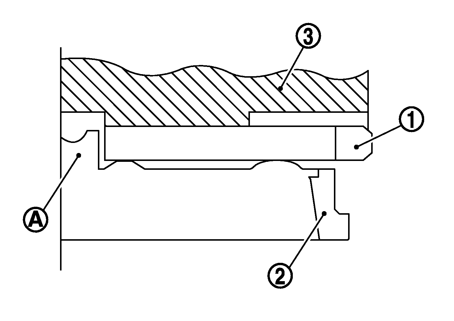
  12. Install differential side oil seals (1) to clutch housing and transaxle case, using Tool.
    Fig 8: Differential Side Oil Seal
    G06538042Courtesy of NISSAN NORTH AMERICA, INC.
    (B) : Transaxle case side
    (C) : Clutch housing side
    Dimension (L1 ) : 5.7 - 6.3 mm (0.224 - 0.248 in)
    Dimension (L2) : 2.4 - 3.0 mm (0.094 - 0.118 in)
    Tool number : KV32500QAA (-)
    CAUTION:
    • Do not reuse differential side oil seal.
    • Do not tilt differential side oil seal.
    • Do not damage clutch housing and transaxle case.
  13. Install differential side bearing outer races until they reach clutch housing and transaxle case, using Tool (A).
    Fig 9: Installing Differential Side Bearing Outer Races Using Tool
    G06538089Courtesy of NISSAN NORTH AMERICA, INC.
    CAUTION:

    Replace differential side bearing outer race and differential side bearing as a set.

    Tool number : KV32300QAE (-)
  14. Install bushings (1) until they reach clutch housing, using suitable tool (A).
    Fig 10: Installing Bushings Using Suitable Tool
    G06538090Courtesy of NISSAN NORTH AMERICA, INC.
    CAUTION:

    Do not reuse bushings.

  15. Install oil channel to clutch housing.
    CAUTION:

    Do not reuse oil channel.

  16. Install mainshaft front bearing so that it becomes even with clutch housing surface, using Tool (A).
    Fig 11: Installing Mainshaft Front Bearing Using Tool
    G06538091Courtesy of NISSAN NORTH AMERICA, INC.
    Tool number : ST33400001 (-)
  17. Install input shaft front bearing so that it becomes even with clutch housing surface, using Tool (A).
    Fig 12: Installing Input Shaft Front Bearing Using Tool
    G06538092Courtesy of NISSAN NORTH AMERICA, INC.
    Tool number : KV40100900 (-)
  18. Install pinion gear, pinion shaft, and plug to clutch housing.
  19. Install final drive (1) to clutch housing.
    Fig 13: Final Drive Assembly And Dowel Pins
    G06538070Courtesy of NISSAN NORTH AMERICA, INC.
  20. Install dowel pins (2) and magnet to clutch housing.
    CAUTION:

    Do not reuse dowel pins.

  21. Install reverse gear to clutch housing, and then install retaining pin to clutch housing, using suitable tool.
    Fig 14: Removing Reverse Gear From Clutch Housing
    G06538069Courtesy of NISSAN NORTH AMERICA, INC.
    CAUTION:

    Do not reuse retaining pin.

  22. Install 1st-2nd shift fork to 1st-2nd fork rod, and then install retaining pin to 1st-2nd shift fork.
    CAUTION:
    • Do not reuse retaining pin.
    • Replace 1st-2nd fork rod and 1st-2nd shift fork as a set.
  23. Set 1st-2nd fork rod assembly (1) onto mainshaft assembly (2), and then install them to clutch housing.
    Fig 15: 1st-2nd Fork Rod Assembly And Mainshaft Assembly
    G06538068Courtesy of NISSAN NORTH AMERICA, INC.
  24. Install lock pins (ARROWF ) to clutch housing.
    Fig 16: Clutch Housing Lock Pins
    G06538067Courtesy of NISSAN NORTH AMERICA, INC.
  25. Install 3rd-4th shift fork to 3rd-4th fork rod, and then install retaining pin to 3rd-4th shift fork.
    CAUTION:
    • Do not reuse retaining pin.
    • Replace 3rd-4th fork rod and 3rd-4th shift fork as a set.
  26. Install 3rd-4th fork rod assembly (1), 3rd-4th coupling sleeve (2), and input shaft assembly (3) to clutch housing.
    Fig 17: 3rd-4th Fork Rod Assembly, 3rd-4th Coupling Sleeve, Input Shaft Assembly And 1st-2nd Fork Rod
    G06538097Courtesy of NISSAN NORTH AMERICA, INC.
    1. Pull 1st-2nd fork rod (4) up, and then maintain the neutral position.
    2. Set 3rd-4th fork rod assembly onto 3rd-4th coupling sleeve, and then install them together with input shaft assembly to clutch housing.
      CAUTION:
      • Set lock pin (3rd-4th fork rod side) onto 1st-2nd fork rod groove and then install 3rd-4th fork rod assembly.
      • Be careful with the orientation of 3rd-4th coupling sleeve.
        Fig 18: Orientation Of 3rd-4th Coupling Sleeve
        G06538098Courtesy of NISSAN NORTH AMERICA, INC.
        (A) : 4th main gear side
        (B) : 3rd main gear side
      • Install 3rd input gear of input shaft assembly so that it is set under reverse main gear of 3rd-4th coupling sleeve.
      • Replace 3rd-4th coupling sleeve and 3rd-4th synchronizer hub as a set.
    3. Install springs and insert keys to 3rd-4th synchronizer hub.
      Fig 19: Applying Gear Oil To 4th Baulk Ring
      G06538099Courtesy of NISSAN NORTH AMERICA, INC.
    4. Apply gear oil to 4th baulk ring.
    5. Install 4th baulk ring.
  27. Install 5th-reverse fork rod (1) to clutch housing.
    Fig 20: Pulling Gear Of Reverse Gear Assembly
    G06538100Courtesy of NISSAN NORTH AMERICA, INC.
    CAUTION:

    Replace 5th-reverse fork rod and 5th-reverse shift fork as a set.

    1. Pull gear of reverse gear (2) up.
    2. Temporarily install 5th-reverse fork rod to clutch housing.
    3. Press gear of reverse gear (1) down and then install 5th-reverse fork rod (2) to clutch housing.
      Fig 21: Reverse Gear Assembly And 5th-Reverse Fork Rod
      G06538101Courtesy of NISSAN NORTH AMERICA, INC.
      CAUTION:

      Set levers of 5th-reverse fork rod so as to align with reverse gear groove (MARU-H ).

  28. Install 4th main gear (2) and spacer (1) to mainshaft.
    Fig 22: Spacer And 4th Main Gear
    G06538064Courtesy of NISSAN NORTH AMERICA, INC.
    CAUTION:

    Install spacer so that spacer protrusion faces rear side of transaxle.

  29. Press 3rd-4th shift fork down and then shift 3rd-4th coupling sleeve to 3rd gear side.
  30. Move the shifter lever A (1) to the 3rd gear position.
    Fig 23: Shifter Lever A
    G06538058Courtesy of NISSAN NORTH AMERICA, INC.
    NOTE:
    • If it is not moved to the 3rd gear position, transaxle case cannot be installed to clutch housing.
    • The 3rd gear position means that shifter lever A is fully rotated clockwise and it is returned approximately 10 degrees.
  31. Apply recommended sealant to transaxle case mating surface of clutch housing.
    CAUTION:
    • Use Genuine Silicone RTV or equivalent.  Refer to RECOMMENDED CHEMICAL PRODUCTS AND SEALANTS .
    • Do not allow old Silicone RTV, moisture, oil, or foreign matter to remain on mating surface.
    • Check that mating surface is not damaged.
    • Apply a continuous bead of Silicone RTV to the mating surface.
  32. Install transaxle case to clutch housing. If it is difficult to install, slightly rotate shifter lever A counterclockwise, and then install.
    Fig 24: Selector And Shift Fork
    G06538104Courtesy of NISSAN NORTH AMERICA, INC.
    (1) : Selector
    (2) : Shift fork
    CAUTION:
    • Do not damage Silicone RTV bead with transaxle case or other objects during installation.
    • Be careful to align the lever of 5th-reverse fork rod with reverse gear groove.
  33. Rotate input shaft so that bearing and shaft fit each other, and then tighten transaxle bolts (ARROWF ) to the specified torque.
    Fig 25: Transaxle Case Bolts
    G06538063Courtesy of NISSAN NORTH AMERICA, INC.
  34. Apply recommended sealant to position switch thread and check ball plug thread. Install to transaxle case and tighten to specified torque.
    CAUTION:
  35. Apply gear oil to mainshaft spline.
  36. Install 5th main gear (1) to mainshaft, using a suitable bolt (A) [M10 x 1.0] and a suitable nut (B).
    Fig 26: Installing 5th Main Gear To Mainshaft Using Suitable Bolt
    G06538106Courtesy of NISSAN NORTH AMERICA, INC.
  37. Install adapter plate (1), bushing (2), and 5th input gear (3) to input shaft.
    Fig 27: Adapter Plate, Bushing And 5th Input Gear
    G06538107Courtesy of NISSAN NORTH AMERICA, INC.
    CAUTION:

    Be careful with the orientation of adapter plate.

    ARROW : Transaxle case side
  38. Install 5th-reverse synchronizer hub, 5th-reverse coupling sleeve, and 5th-reverse shift fork.
    1. Apply gear oil to 5th-reverse baulk ring.
    2. Install 5th-reverse baulk ring (1) to 5th input gear.
      Fig 28: 5th-Reverse Baulk Ring, Synchronizer Levers And 5th-Reverse Synchronizer Hub
      G06538108Courtesy of NISSAN NORTH AMERICA, INC.
      ARROW : 5th-reverse synchronizer hub side
      CAUTION:

      Be careful with the orientation of 5th-reverse baulk ring.

    3. Install synchronizer levers (2) to 5th-reverse synchronizer hub (3).
      CAUTION:
      • Replace 5th-reverse synchronizer hub and 5th-reverse coupling sleeve as a set.
      • Be careful with the orientation of synchronizer lever.
    4. Install 5th-reverse synchronizer hub assembly and lock washer to input shaft.
      CAUTION:
      • Be careful with the orientation of 5th-reverse synchronizer hub.
        Fig 29: Installing 5th-Reverse Synchronizer Hub Assembly And Washer To Input Shaft
        G06538109Courtesy of NISSAN NORTH AMERICA, INC.
        ARROW : 5th input gear side
      • Do not allow synchronizer lever (1) to overlap 5th-reverse baulk ring protrusion (A).
        Fig 30: Synchronizer Lever And 5th Reverse Baulk Ring
        G06538110Courtesy of NISSAN NORTH AMERICA, INC.
        (2) : 5th-reverse baulk ring
        (3) : 5th-reverse synchronizer hub
    5. Set 5th-reverse shift fork (1) to 5th-reverse coupling sleeve, and then install them to 5th-reverse fork rod and input shaft.
      Fig 31: 5th-Reverse Shift Fork, Pin Punch, Bolt And Nut
      G06538059Courtesy of NISSAN NORTH AMERICA, INC.
      CAUTION:

      Do not reuse nut.

      (A) : Suitable tool
      (B) : Bolt
      (C) : Nut
      CAUTION:
      • Be careful with the orientation of 5th-reverse coupling sleeve.
        Fig 32: 5th-Reverse Coupling Sleeve
        G06538112Courtesy of NISSAN NORTH AMERICA, INC.
        ARROW : 5th input gear side
      • Replace 5th-reverse synchronizer hub and 5th-reverse coupling sleeve as a set.
      • Replace 5th-reverse shift fork and 5th-reverse fork rod as a set.
    6. Check that the shifter lever A is in the 3rd position. Press 5th-reverse shift fork (1) and move shifter lever A to 5th gear.
      Fig 33: 5th-Reverse Shift Fork, Pin Punch, Bolt And Nut
      G06538059Courtesy of NISSAN NORTH AMERICA, INC.
      (A) : Suitable tool
    7. Tighten bolt (B) to the specified torque.
    8. Tighten nut (C) to the specified torque.
      CAUTION:

      Do not reuse nut.

    9. Install retaining pin to 5th-reverse shift fork, using suitable tool.
      CAUTION:

      Do not reuse retaining pin.

  39. Move shifter lever A (1) to the neutral position.
    Fig 34: Shifter Lever
    G06538113Courtesy of NISSAN NORTH AMERICA, INC.
  40. Install O-ring to rear housing.
    CAUTION:

    Do not reuse O-ring.

  41. Install rear housing to transaxle case, and tighten bolts (ARROWF ) to the specified torque.
    Fig 35: Transaxle Case Bolts
    G06538114Courtesy of NISSAN NORTH AMERICA, INC.
    CAUTION:
    • Do not reuse O-ring.
    • Do not pinch O-ring when installing rear housing.
  42. Install drain plug.
    1. Install gasket to drain plug.
      CAUTION:

      Do not reuse gasket.

    2. Install drain plug to clutch housing, using suitable tool.
    3. Tighten drain plug to the specified torque.
  43. Install filler plug.
    1. Install gasket to filler plug, and then install filler plug to transaxle case.
      CAUTION:

      Do not reuse gasket.

    2. Tighten filler plug to the specified torque.
      CAUTION:

      Fill with gear oil before tightening filler plug to the specified torque.