LEMON Manuals: Even more car manuals for everyone: 1960-2025
Home >> Nissan-Datsun >> 2016 >> Versa Note SL >> Repair and Diagnosis >> Transmission >> Manual Transmission >> Unit Disassembly And Assembly >> Transaxle Assembly >> Disassembly
April 5, 2026: LEMON Manuals is launched! Read the announcement.

Transaxle Assembly: Disassembly

  1. Remove drain plug and gasket from clutch housing using suitable tool, and drain gear oil.
  2. Remove filler plug and gasket from transaxle case.
  3. Remove rear housing and O-ring.
    Fig 1: Removing Rear Housing And O-Ring
    G06538057Courtesy of NISSAN NORTH AMERICA, INC.
    CAUTION:

    Remove in direction of input shaft (ARROWF ) as shown. Rear housing oil channel is inserted to input shaft center hole.

  4. Move the shifter lever A (1) to the 3rd gear position.
    Fig 2: Shifter Lever A
    G06538058Courtesy of NISSAN NORTH AMERICA, INC.
    NOTE:
    • If it is not moved to the 3rd gear position, transaxle case cannot be removed from clutch housing.
    • The 3rd gear position means that shifter lever A is fully rotated clockwise and it is returned approximately 10 degrees.
  5. Remove 5th-reverse shift fork (1) and 5th-reverse coupling sleeve.
    Fig 3: 5th-Reverse Shift Fork, Pin Punch, Bolt And Nut
    G06538059Courtesy of NISSAN NORTH AMERICA, INC.
    1. Remove retaining pin from 5th-reverse shift fork, using a suitable tool (A).
    2. Press 5th-reverse shift fork, shift to 5th, and then engage it with 3rd gear.
    3. Remove bolt (B).
    4. Remove nut (C) and lock washer.
      CAUTION:
      • Do not reuse nut.
      • Do not use an impact wrench for removal. Gears may be damaged.
    5. Remove 5th-reverse shift fork and 5th-reverse coupling sleeve from 5th-reverse synchronizer hub.
  6. Remove 5th-reverse synchronizer hub from input shaft, using a suitable tool.
    Fig 4: Removing 5th-Reverse Synchronizer Hub From Input Shaft Using Suitable Tool
    G06538060Courtesy of NISSAN NORTH AMERICA, INC.
    CAUTION:

    Set claw of suitable tool to the wider side of the hub when setting the suitable tool in 5th-reverse synchronizer hub.

  7. Remove synchronizer levers, 5th-reverse baulk ring, 5th input gear, bushing, and adapter plate from input shaft.
  8. Remove 5th main gear from mainshaft, using Tools.
    Fig 5: Removing 5th Main Gear From Mainshaft Using Tools
    G06538061Courtesy of NISSAN NORTH AMERICA, INC.
    Tool number (A): KV32300QAC (-)
      (B): KV32300QAD (-)
  9. Remove position switch from transaxle case.
    Fig 6: Position Switch From Transaxle Case
    G06538062Courtesy of NISSAN NORTH AMERICA, INC.
  10. Remove transaxle case bolts (ARROWF ).
    Fig 7: Transaxle Case Bolts
    G06538063Courtesy of NISSAN NORTH AMERICA, INC.
  11. Remove transaxle case from clutch housing.
  12. Remove spacer (1) and 4th main gear (2) from mainshaft.
    Fig 8: Spacer And 4th Main Gear
    G06538064Courtesy of NISSAN NORTH AMERICA, INC.
  13. Remove 5th-reverse fork rod (1).
    Fig 9: Removing 5th-Reverse Fork Rod
    G06538065Courtesy of NISSAN NORTH AMERICA, INC.
    1. Pull 5th-reverse fork rod up until it contacts claw (MARU-H ) of reverse gear (2).
    2. Press gear portion of reverse gear down, and then remove 5th-reverse fork rod from clutch housing.
  14. Remove 3rd-4th fork rod assembly (1), 3rd-4th coupling sleeve (2), and input shaft assembly (3).
    Fig 10: 3rd-4th Fork Rod Assembly, 3rd-4th Coupling Sleeve, Input Shaft Assembly And Reverse Gear Assembly
    G06538066Courtesy of NISSAN NORTH AMERICA, INC.
    1. Remove 4th baulk ring, insert keys, and springs from mainshaft.
    2. Pull gear of reverse gear (4) up.
    3. Pull 1st-2nd fork rod (5) up, and then maintain the neutral position.
    4. Remove 3rd-4th fork rod assembly, 3rd-4th coupling sleeve, and input shaft assembly from clutch housing at the same time.
  15. Remove retaining pin from 3rd-4th shift fork, using a pin punch.
  16. Remove 3rd-4th shift fork from 3rd-4th shift fork rod.
  17. Remove lock pins (ARROWF ) from clutch housing.
    Fig 11: Clutch Housing Lock Pins
    G06538067Courtesy of NISSAN NORTH AMERICA, INC.
  18. Remove 1st-2nd fork rod assembly (1) and mainshaft assembly (2) from clutch housing at the same time.
    Fig 12: 1st-2nd Fork Rod Assembly And Mainshaft Assembly
    G06538068Courtesy of NISSAN NORTH AMERICA, INC.
  19. Remove retaining pin from 1st-2nd shift fork, using suitable tool.
  20. Remove 1st-2nd shift fork from 1st-2nd shift fork rod.
  21. Remove retaining pin from reverse gear, using suitable tool.
    Fig 13: Removing Reverse Gear From Clutch Housing
    G06538069Courtesy of NISSAN NORTH AMERICA, INC.
  22. Remove reverse gear from clutch housing.
  23. Remove final drive (1) from clutch housing.
    Fig 14: Final Drive Assembly And Dowel Pins
    G06538070Courtesy of NISSAN NORTH AMERICA, INC.
  24. Remove magnet and dowel pins (2) from clutch housing.
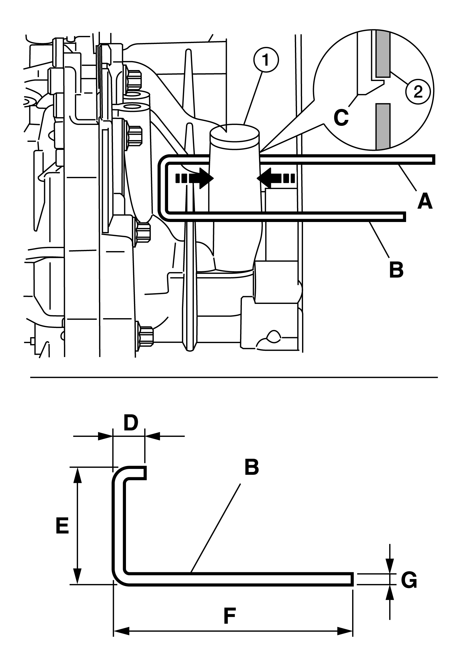
  25. Remove plug (1) from clutch housing (2).
    Fig 15: Removing Plug From Clutch Housing
    G08199822Courtesy of NISSAN NORTH AMERICA, INC.
    • (C): Plug
    • (D): 15 mm (0.59 in)
    • (E): 45 mm (1.77 in)
    • (F): 95 mm (3.74 in) or more
    • (G): 4 mm (0.16 in)
    1. Install suitable tool (A) and (B) to the holes of clutch housing as shown.
    2. While pressing the suitable tool (A) and (B) in the direction of the arrows shown, remove plug from clutch housing.
  26. Remove input shaft front bearing from clutch housing, using suitable tool.
    Fig 16: Input Shaft Front Bearing From Clutch Housing
    G06538071Courtesy of NISSAN NORTH AMERICA, INC.
  27. Cut oil channel tube at the base.
    CAUTION:

    Do not reuse oil channel.

    NOTE:

    Oil channel will be removed with the mainshaft front bearing.

  28. Remove mainshaft front bearing and oil channel from clutch housing, using Tool (A).
    Fig 17: Removing Mainshaft Front Bearing And Oil Channel From Clutch Housing Using Tool
    G06538072Courtesy of NISSAN NORTH AMERICA, INC.
    Tool number : KV111011S0 (-)
  29. Remove bushings (1) from clutch housing, using suitable tool.
    Fig 18: Removing Bushings From Clutch Housing Using Suitable Tool
    G06538073Courtesy of NISSAN NORTH AMERICA, INC.
  30. Remove differential side oil seals (1) from clutch housing and transaxle case, using suitable tool.
    Fig 19: Removing Differential Side Oil Seals From Clutch Housing And Transaxle Case Using Suitable Tool
    G06538074Courtesy of NISSAN NORTH AMERICA, INC.
    CAUTION:

    Do not damage transaxle case and clutch housing.

  31. Remove differential side bearing outer races (1) from clutch housing and transaxle case, using suitable tool.
    Fig 20: Removing Differential Side Bearing Outer Races From Clutch Housing And Transaxle Case Using Suitable Tool
    G06538075Courtesy of NISSAN NORTH AMERICA, INC.
    CAUTION:

    Do not damage transaxle case and clutch housing.

  32. Pull 2-way connector (1) straight out to remove it from air breather inner tube (2).
    Fig 21: Way Connector And Air Breather Inner Tube
    G06538076Courtesy of NISSAN NORTH AMERICA, INC.
  33. Remove air breather inner tube from transaxle case.
  34. Remove bushings (1) from transaxle case, using suitable tool.
    Fig 22: Retaining Pin
    G06538077Courtesy of NISSAN NORTH AMERICA, INC.
  35. Remove retaining pin (ARROWF ) from selector, using suitable tool.
  36. Remove selector from control shaft.
  37. Remove oil gutter from transaxle case.
  38. Remove bolt (ARROWF ), and then remove bushing, spring, and gear catch from transaxle case.
    Fig 23: Transaxle Case Bolt
    G06538078Courtesy of NISSAN NORTH AMERICA, INC.
  39. Remove check ball plug from transaxle case.
  40. Remove bolts (ARROWF ), and then remove control shaft (1) from transaxle case.
    Fig 24: Control Shaft With Bolts
    G06538079Courtesy of NISSAN NORTH AMERICA, INC.
  41. Remove O-ring from control shaft.
  42. Expand snap rings (1) and remove input shaft rear bearing and mainshaft rear bearing from transaxle case, using Tool (A).
    Fig 25: Removing Input Shaft Rear Bearing And Mainshaft Rear Bearing From Transaxle Case
    G06538080Courtesy of NISSAN NORTH AMERICA, INC.
    Tool number : ST35300000 (-)
  43. Remove snap rings from transaxle case.
  44. Remove check balls (2) from transaxle case.