LEMON Manuals: Even more car manuals for everyone: 1960-2025
Home >> Nissan-Datsun >> 2017 >> 370Z Base, 2D Convertible >> Repair and Diagnosis >> Brakes >> Traction Control >> Brake Control System >> System Description >> Abs >> System Diagram
April 5, 2026: LEMON Manuals is launched! Read the announcement.

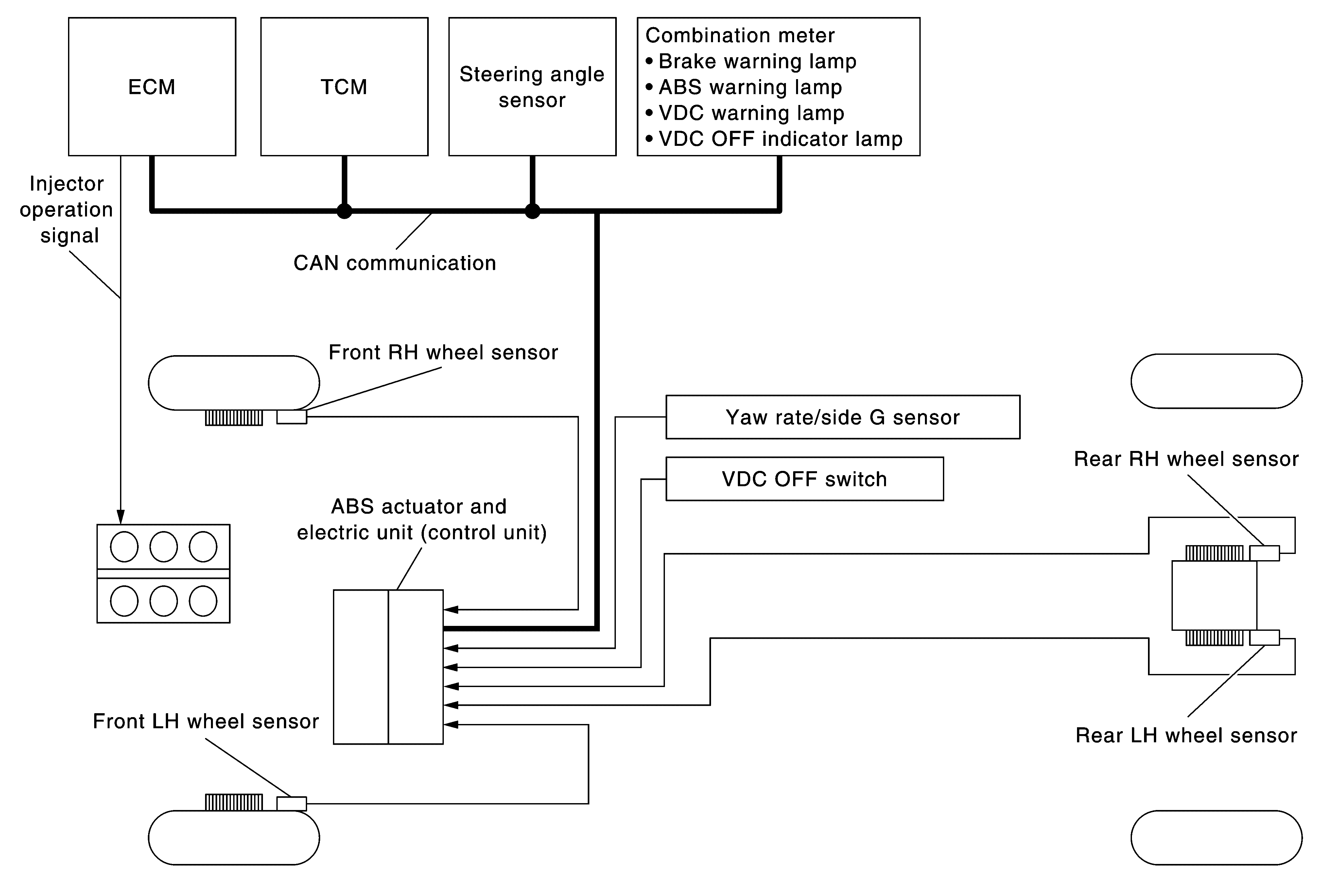
System Diagram

G07101087Courtesy of NISSAN NORTH AMERICA, INC.