LEMON Manuals: Even more car manuals for everyone: 1960-2025
Home >> Nissan-Datsun >> 2017 >> Altima Base >> Repair and Diagnosis >> Body & Frame >> Windows >> Power Window Control System (RH Front Anti-Pinch) >> System Description >> System >> System Diagram >> Front Window Anti-Pinch System
April 5, 2026: LEMON Manuals is launched! Read the announcement.

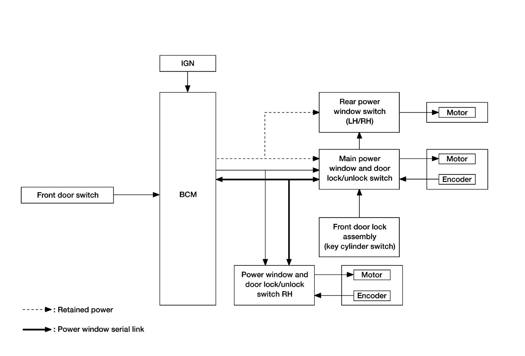
Front Window Anti-Pinch System

G07000944Courtesy of NISSAN NORTH AMERICA, INC.