LEMON Manuals: Even more car manuals for everyone: 1960-2025
Home >> Nissan-Datsun >> 2017 >> Altima Base >> Repair and Diagnosis >> External Pages >> Different car >> Section 114 (Driver Assistance System) >> Removal And Installation >> ICC Sensor >> Exploded View With Torque Specifications
April 5, 2026: LEMON Manuals is launched! Read the announcement.

Exploded View With Torque Specifications

WARNING: This page is about a different car, the 2016 Nissan Murano. However, it is still accessible from the selected car via links, so may be relevant.
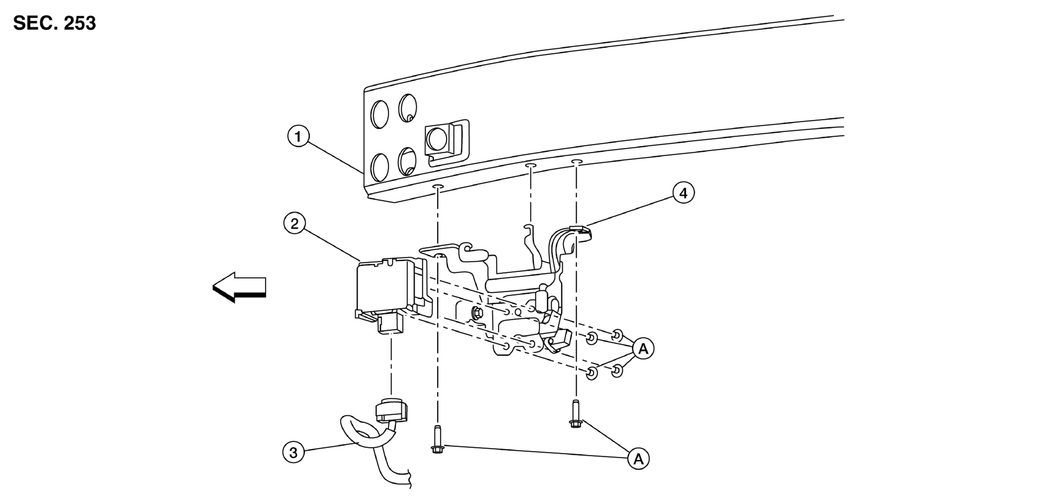
Fig 1: ICC Sensor Components
GNSAWBIA2866ZZ-866ARROWCourtesy of NISSAN NORTH AMERICA, INC.
1. Front Bumper Reinforcement 2. ICC Sensor 3. ICC Sensor Harness Connector
4. ICC Sensor Bracket A. Refer to INSTALLATION ARROW Front