LEMON Manuals: Even more car manuals for everyone: 1960-2025
Home >> Nissan-Datsun >> 2017 >> NV200 S >> Repair and Diagnosis >> Engine Performance >> Engine Control Systems >> Accelerator Control System - Except Taxi >> Service Data And Specifications (SDS) >> Service Data And Specifications (SDS) >> Accelerator Control
April 5, 2026: LEMON Manuals is launched! Read the announcement.

Accelerator Control

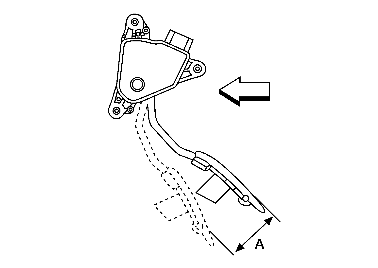
Unit: mm (in)

G08983821Courtesy of NISSAN NORTH AMERICA, INC.
 
Accelerator pedal stroke (A) 47.8 - 55.0 (1.88 - 2.17)
Accelerator pedal height 147.9 - 157.9 (5.82 - 6.22)