LEMON Manuals: Even more car manuals for everyone: 1960-2025
Home >> Nissan-Datsun >> 2017 >> Qashqai SL >> Repair and Diagnosis >> Engine Performance >> Engine Control Systems >> Drive Mode System (ECO Mode) >> System Description >> System >> ECO Mode Control >> Circuit Diagram
April 5, 2026: LEMON Manuals is launched! Read the announcement.

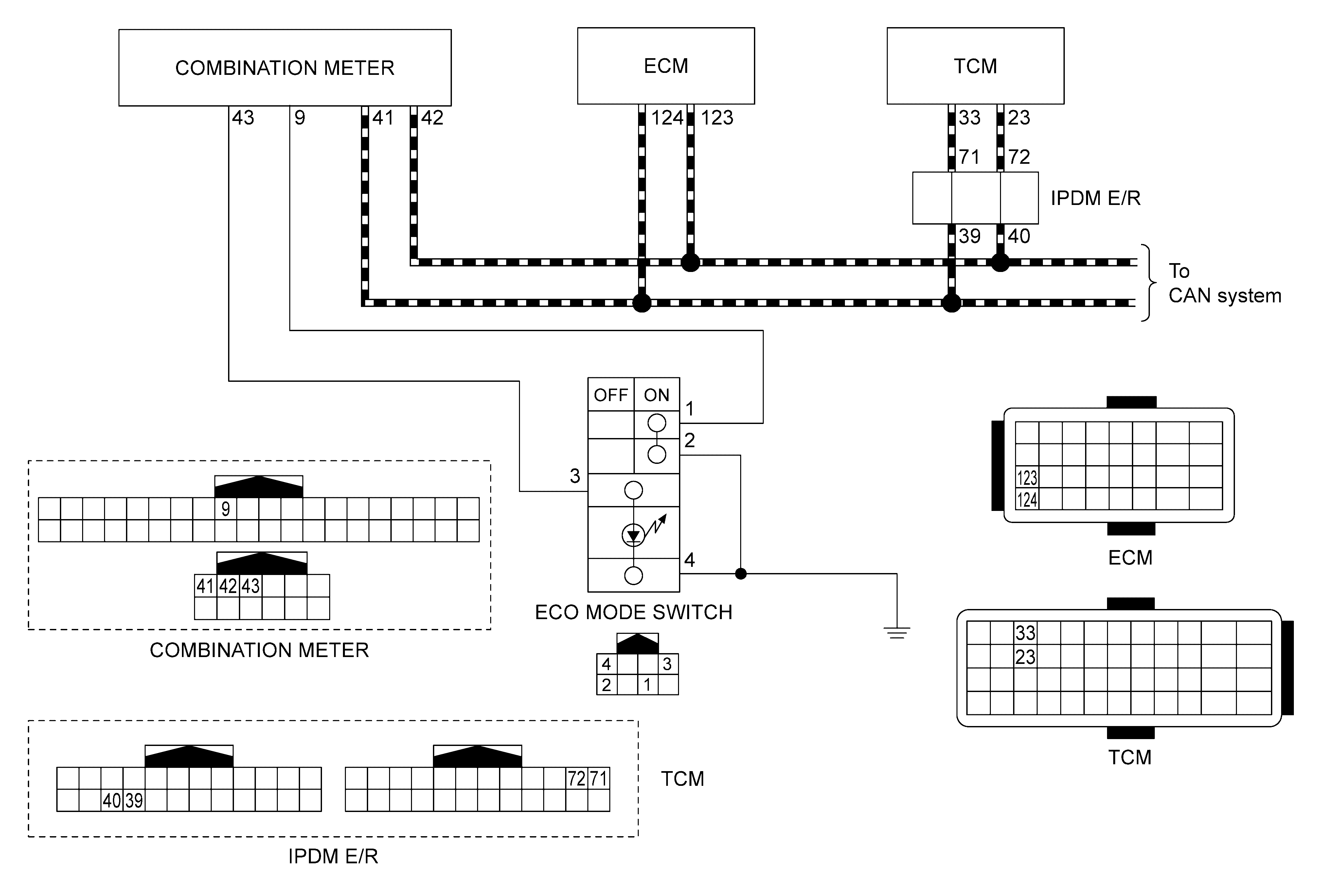
Circuit Diagram

GNSJSOIA3063GB-063Courtesy of NISSAN NORTH AMERICA, INC.