LEMON Manuals: Even more car manuals for everyone: 1960-2025
Home >> Nissan-Datsun >> 2017 >> Quest SL >> Repair and Diagnosis (Single Page) >> Body & Frame >> Door Locks >> Security Control System >> System Description >> System >> Intelligent Key System/Engine Start Function >> System Description >> System Diagram
April 5, 2026: LEMON Manuals is launched! Read the announcement.

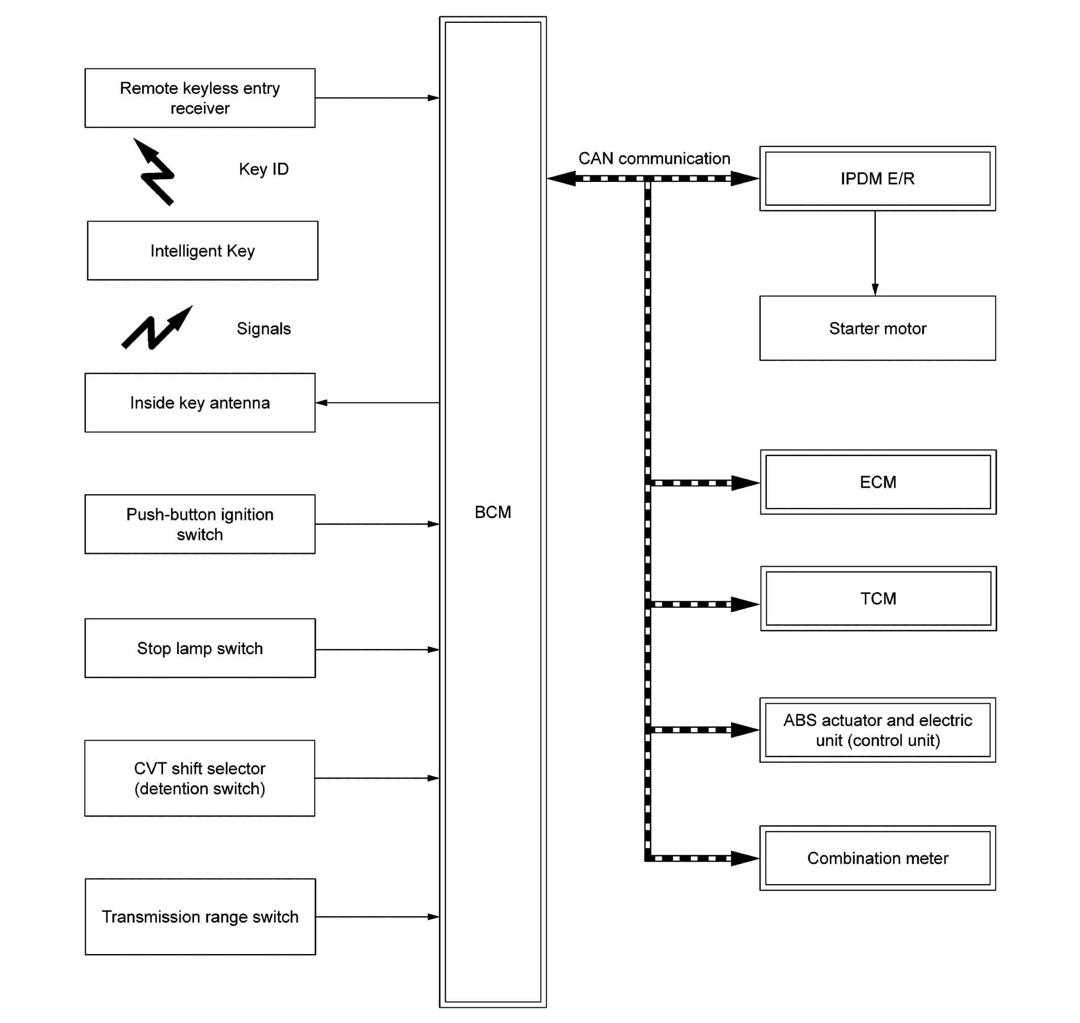
System Diagram

GNSJMKIB4515GB-515Courtesy of NISSAN NORTH AMERICA, INC.