LEMON Manuals: Even more car manuals for everyone: 1960-2025
Home >> Nissan-Datsun >> 2017 >> Quest SL >> Repair and Diagnosis (Single Page) >> Electrical >> Body Electrical >> Power Control System (IPDM E/R) >> System Description >> System >> Relay Control System >> System Description >> System Diagram
April 5, 2026: LEMON Manuals is launched! Read the announcement.

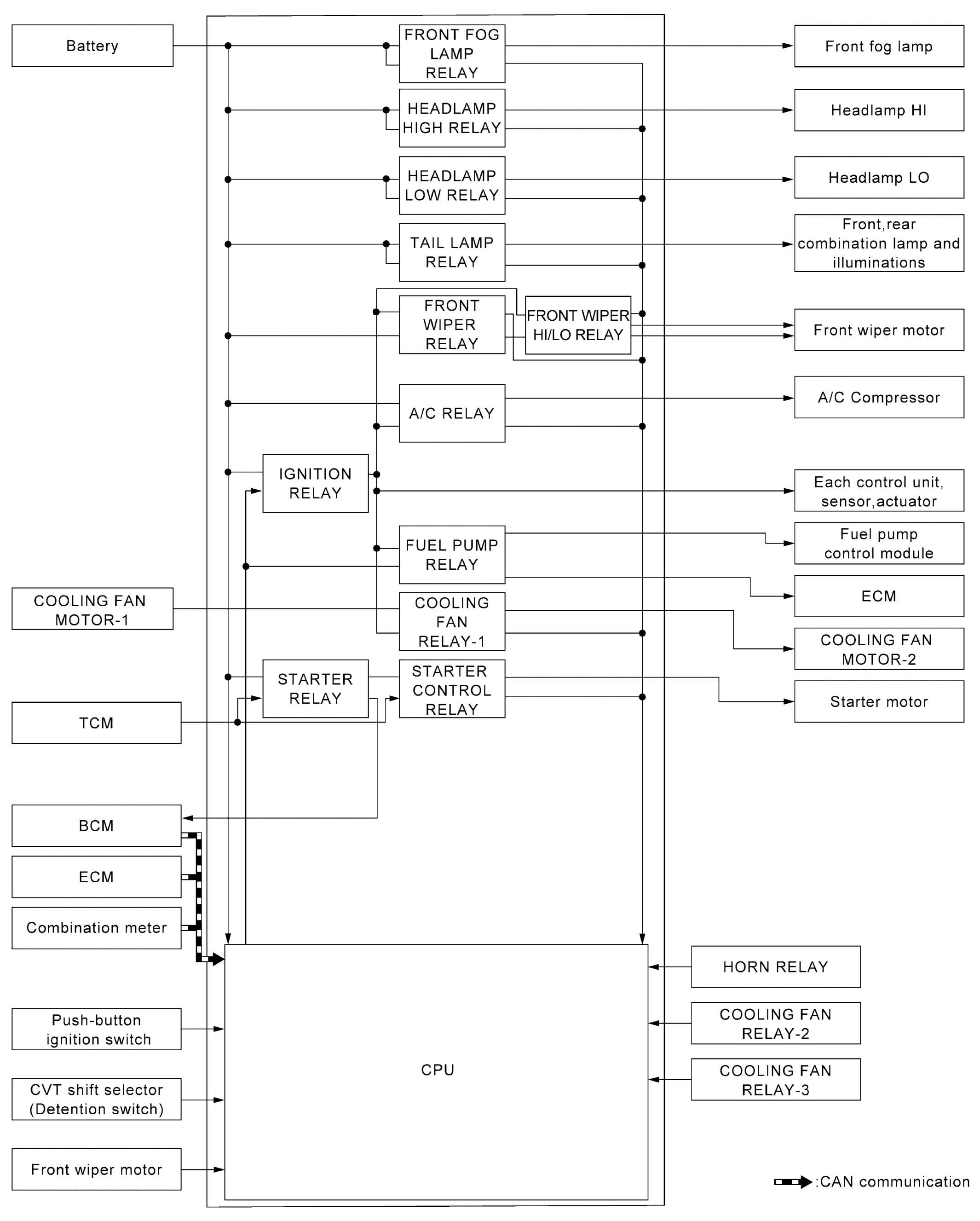
System Diagram

GNSJMMIA2159GB-159Courtesy of NISSAN NORTH AMERICA, INC.