LEMON Manuals: Even more car manuals for everyone: 1960-2025
Home >> Nissan-Datsun >> 2017 >> Rogue SL, AWD >> Repair and Diagnosis (Single Page) >> Electrical >> Body Electrical >> Power Control System (IPDM E/R) (Except Hybrid) >> System Description >> System >> Relay Control System >> System Description >> System Diagram
April 5, 2026: LEMON Manuals is launched! Read the announcement.

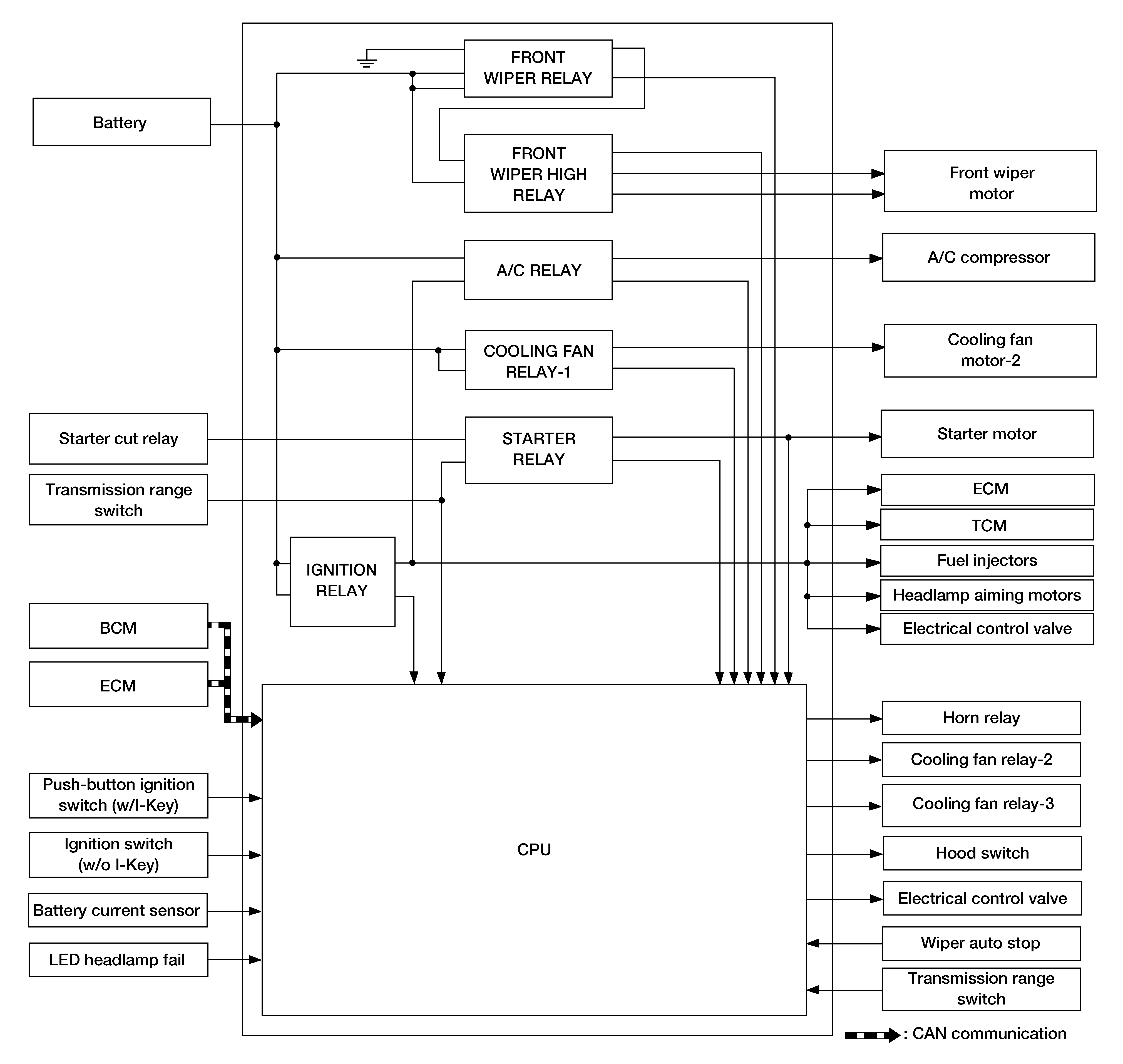
System Diagram

GNSAWMIA1899GB-899Courtesy of NISSAN NORTH AMERICA, INC.