LEMON Manuals: Even more car manuals for everyone: 1960-2025
Home >> Nissan-Datsun >> 2017 >> Sentra SR >> Repair and Diagnosis (Single Page) >> Steering >> Steering Column >> Steering System >> Service Data And Specifications (SDS) >> Service Data And Specifications (SDS) >> Power Steering Gear >> Rack Stroke
April 5, 2026: LEMON Manuals is launched! Read the announcement.

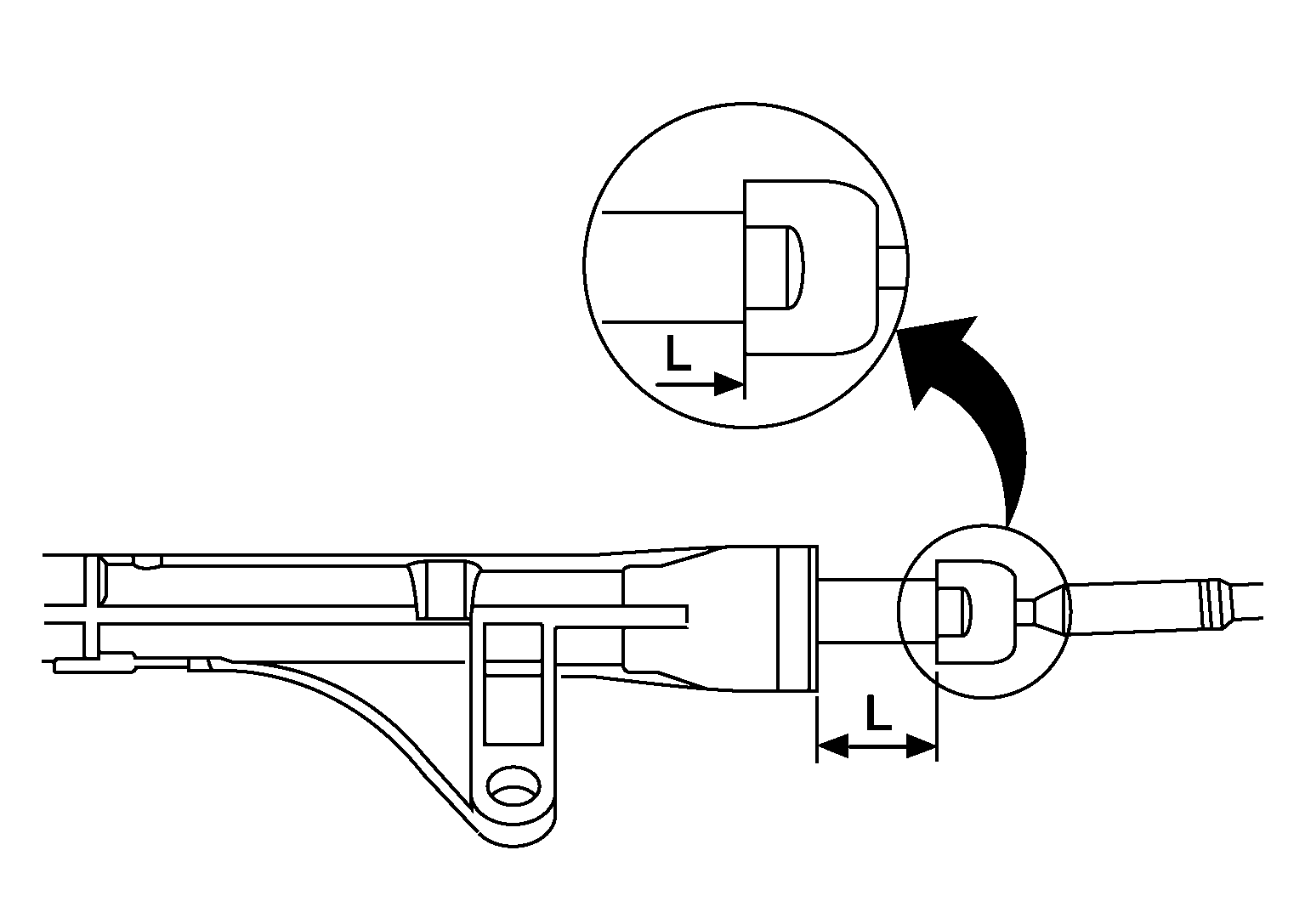
Rack Stroke

G04887319Courtesy of NISSAN NORTH AMERICA, INC.
 
Rack stroke in neutral position (L) 73.0 mm (2.9 in)