LEMON Manuals: Even more car manuals for everyone: 1960-2025
Home >> Nissan-Datsun >> 2017 >> Sentra SV >> Repair and Diagnosis (Single Page) >> Brakes >> Traction Control >> Brake Control System (Introduction, Wiring Diagrams And Basic Inspection) (With ICC) >> System Description >> System >> System Description >> System Diagram
April 5, 2026: LEMON Manuals is launched! Read the announcement.

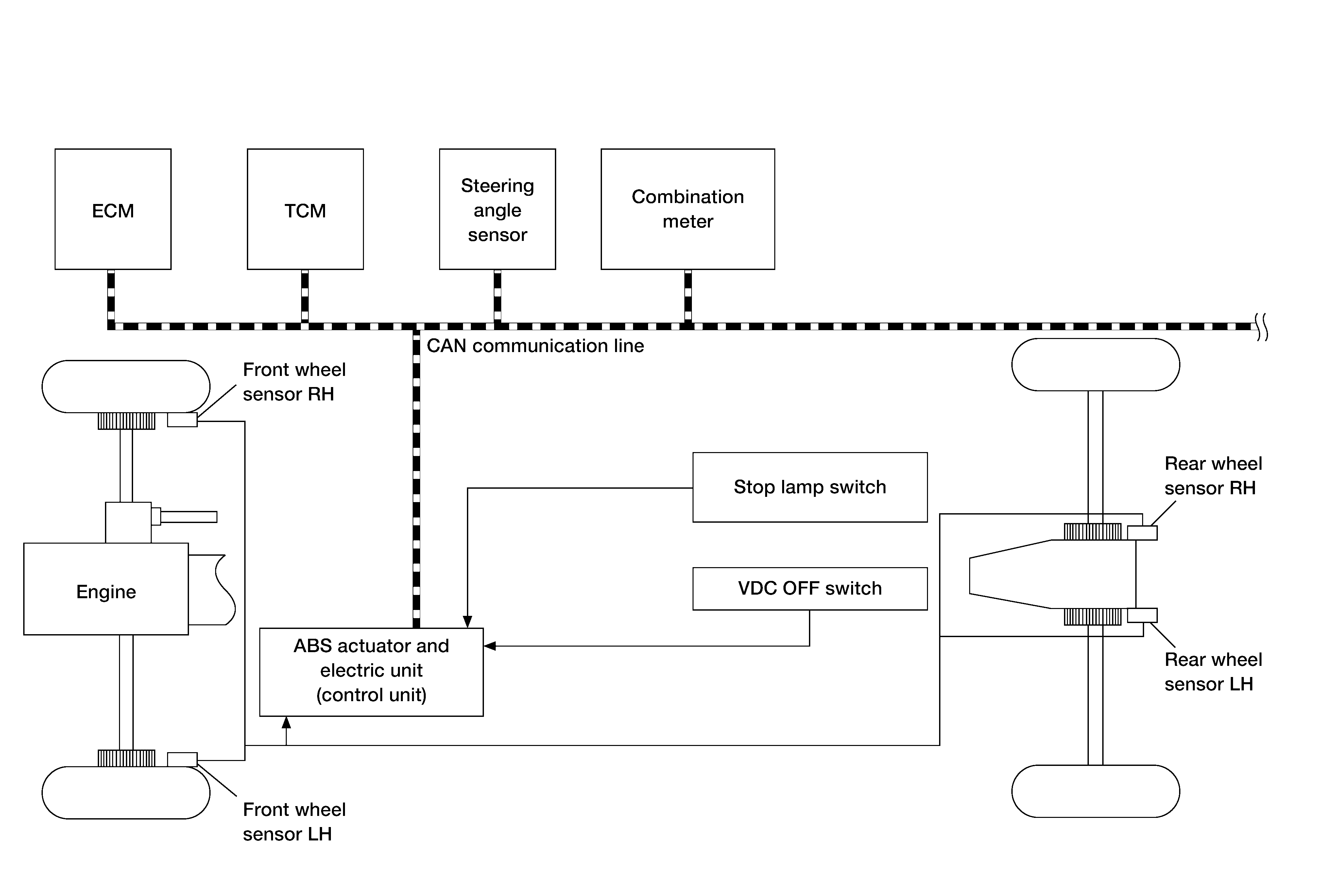
System Diagram

GNSALFIA0649GB-649Courtesy of NISSAN NORTH AMERICA, INC.