LEMON Manuals: Even more car manuals for everyone: 1960-2025
Home >> Nissan-Datsun >> 2017 >> Titan SL, RWD >> Repair and Diagnosis >> Steering >> Steering Column >> Steering System >> Service Data And Specifications (SDS) >> Service Data And Specifications (SDS) >> Steering Linkage - XD Models
April 5, 2026: LEMON Manuals is launched! Read the announcement.

Steering Linkage - XD Models

XD Models

 
GNSAWGIA0164ZZ-164Courtesy of NISSAN NORTH AMERICA, INC.
 
Tie-rod ball stud Swinging torque (F)
Measurement on spring balance (A)
  • Measuring point: cotter pin hole of stud (B)
0.7 - 1.4 Nm (0.07 - 0.14 kg-m, 6 - 12 in-lb)
Rotating torque 1.2 - 2.4 N•m (0.12 - 0.24 kg-m, 11 - 21 in-lb)
Axial end play 0.5 mm (0.020 in) or less
Ball stud length (L) 67.7 mm (2.67 in)
Pitman arm ball stud Swinging torque (F)
Measurement on spring balance (A)
  • Measuring point: cotter pin hole of stud (B)
0.4 - 3.0 Nm (0.04 - 0.3 kg-m, 4 - 27 in-lb)
Ball stud length (L) 67.7 mm (2.63 in)
Idler arm ball stud Swinging torque (F)
Measurement on spring balance (A)
  • Measuring point: cotter pin hole of stud (B)
2.2 - 3.4 Nm (0.22 - 0.35 kg-m, 2.0 - 3.0 ft-lb)
Ball stud length (L) 55 mm (2.17 in)
Idler arm Swinging torque (F)
Measurement on spring balance (A)
  • Measuring point: cotter pin hole of stud (B)
1.0 - 1.9 Nm (0.10 - 0.19 kg-m, 9 - 17 in-lb)

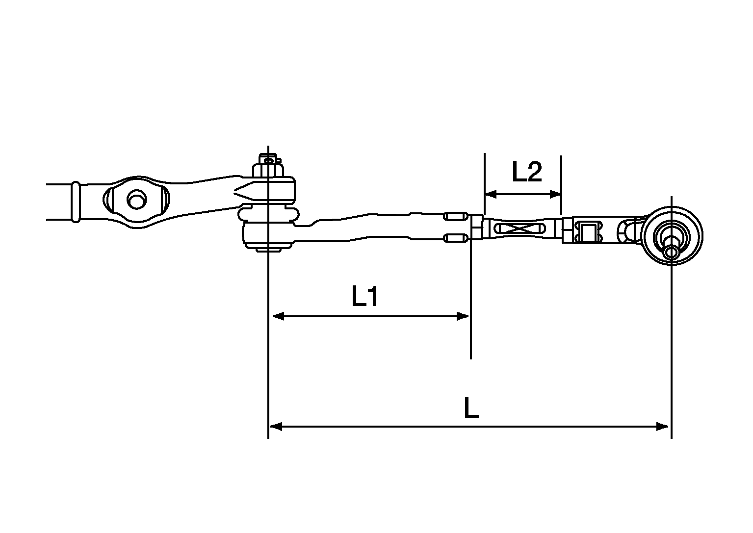
Unit: mm (in)

 
G08162844Courtesy of NISSAN NORTH AMERICA, INC.
 
Standard dimension before toe-in adjustment (L) 388.1 (15.28)
Inner socket length (L1 ) 195 (7.68)
Possible amount of adjustment (L2 ) +- 5 (+- 0.2)