LEMON Manuals: Even more car manuals for everyone: 1960-2025
Home >> Nissan-Datsun >> 2018 >> Altima S >> Repair and Diagnosis >> Body & Frame >> Windows >> Power Window Control System >> LH RH Front Anti-Pinch >> System Description >> System >> System Diagram >> Front Window Anti-Pinch System
April 5, 2026: LEMON Manuals is launched! Read the announcement.

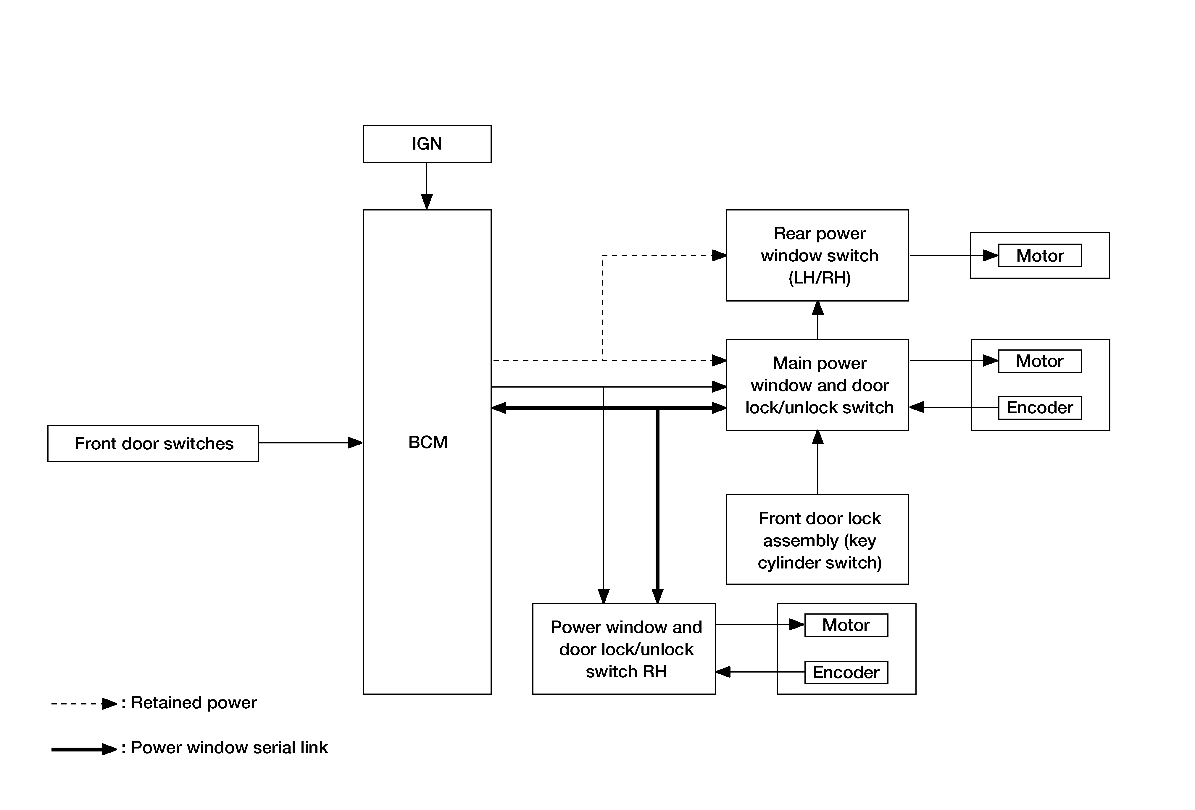
Front Window Anti-Pinch System

GNSAWKIA3176GB-176Courtesy of NISSAN NORTH AMERICA, INC.