LEMON Manuals: Even more car manuals for everyone: 1960-2025
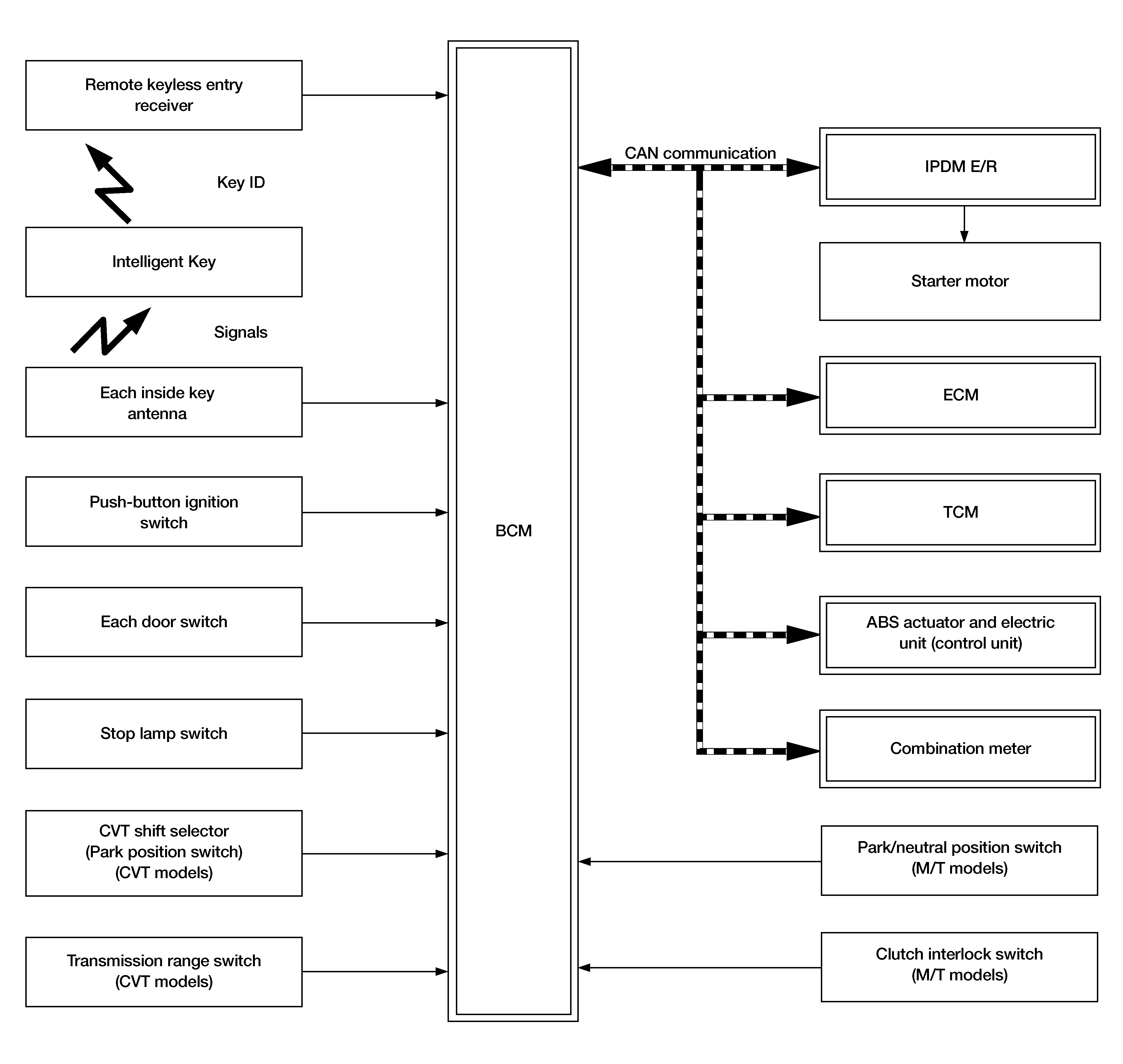
Home >> Nissan-Datsun >> 2018 >> Sentra S, Standard Trans >> Repair and Diagnosis >> Body & Frame >> Door Locks >> Security Control System (With Intelligent Key System) >> System Description >> System >> Intelligent Key System/Engine Start Function >> System Description >> System Diagram
April 5, 2026: LEMON Manuals is launched! Read the announcement.

System Diagram

G05717245Courtesy of NISSAN NORTH AMERICA, INC.