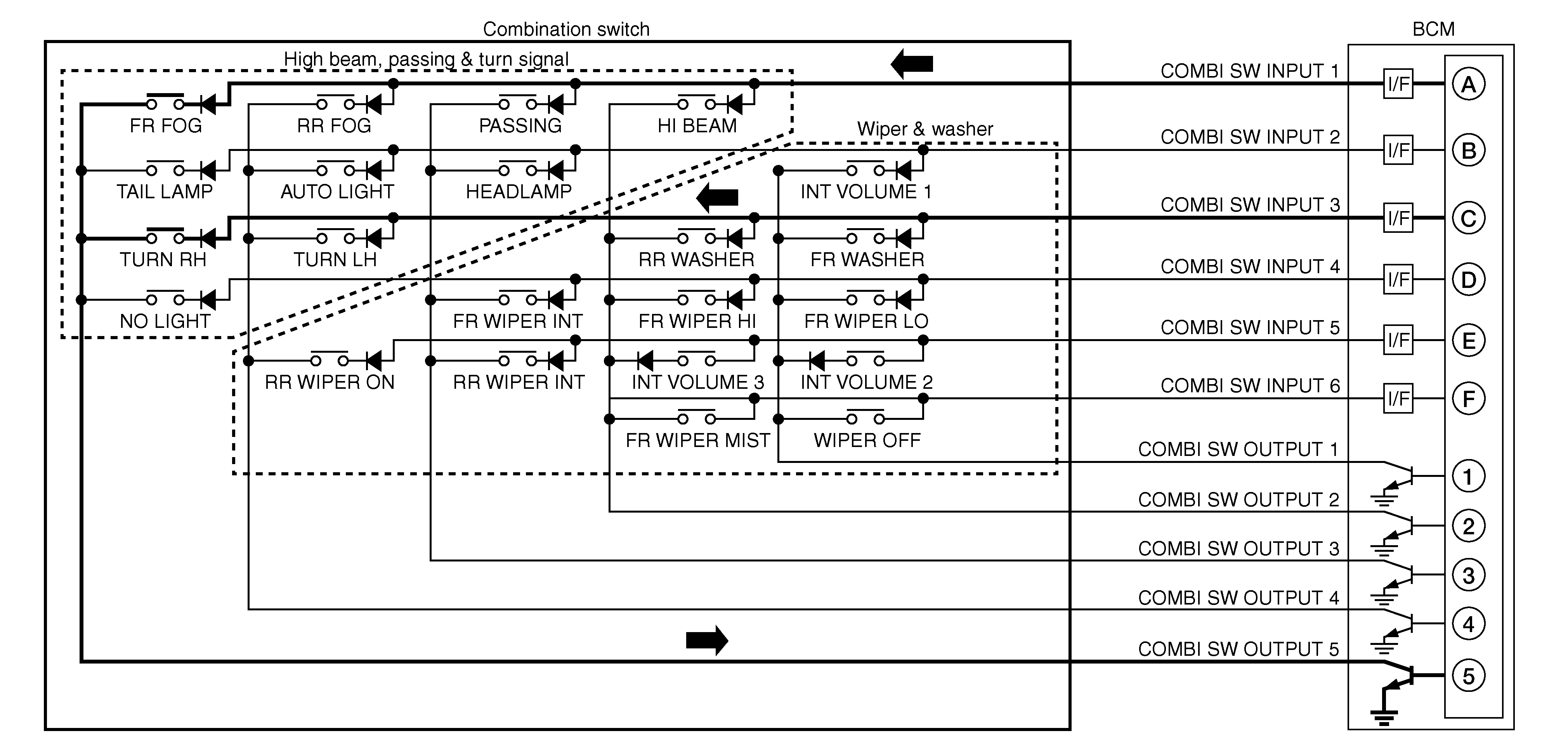
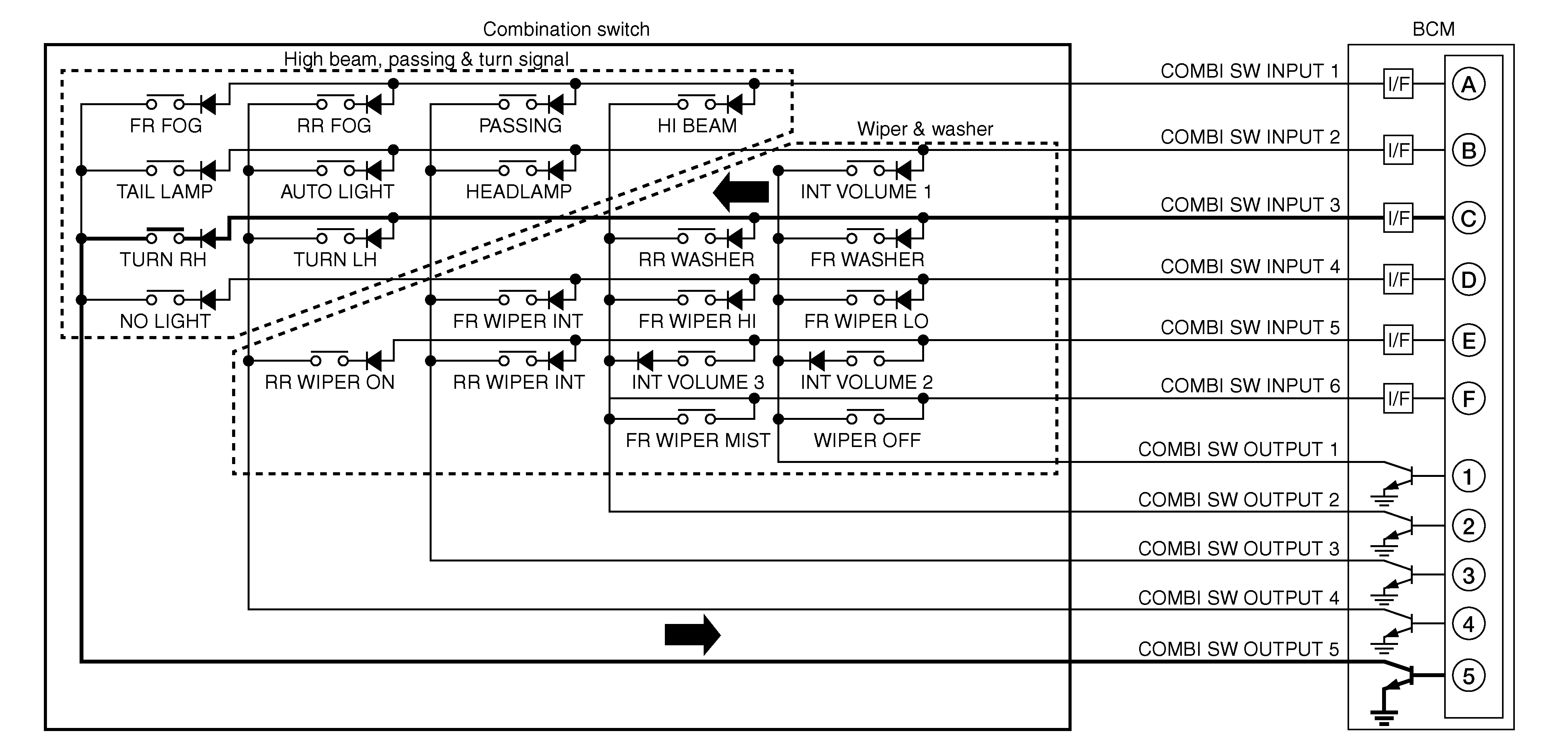
Combination Switch Reading Function
Description
- The BCM reads the status of the combination switch at 10 ms intervals normally.NOTE: The BCM reads the status of the combination switch at 60 ms intervals when BCM is controlled at low power consumption control mode.
- The BCM operates as follows and judges the status of the combination switch.
- It operates the transistor on INPUT side in the following order: OUTPUT 6-> 5 -> 4 -> 3 -> 2 -> 1, and outputs voltage waveform.
- The voltage waveform of OUTPUT corresponding to the formed circuit is input into the interface on INPUT side if any (1 or more) switches are ON.
- It reads this change of the voltage as the status signal of the combination switch.
Operation Example
In the following operation example, the combination of the status signals of the combination switch is replaced as follows: INPUT 1 - 6 to "
-
" and OUTPUT 1 - 5 to "
-
".
Example 1: When a switch (TURN RH) is turned ON
- The circuit between INPUT 3 (
) and OUTPUT 5 (
) is formed when the TURN RH switch is turned ON.
- The BCM detects the combination switch status signal "
" when the signal of INPUT 3 is input to OUTPUT 5.
- BCM judges that the TURN RH switch is ON when the signal "
" is detected.
Example 2: When some switches (FR FOG, TURN RH) are turned ON
- The circuits between INPUT 1 (
) and OUTPUT 5 (
) and between INPUT 3 (
) and OUTPUT 5 (
) are formed when the FR FOG switch and TURN RH switch are turned ON.
- The BCM detects the combination switch status signal "
" when the signals of INPUT 1 and INPUT 3 are input to OUTPUT 5.
- The BCM judges that the FR FOG switch and TURN RH switch are ON when the signal "
" is detected.