LEMON Manuals: Even more car manuals for everyone: 1960-2025
Home >> Nissan-Datsun >> 2019 >> Altima SL, AWD >> Repair and Diagnosis >> Brakes >> Traction Control >> Brake Control System >> VDC/TCS/Abs >> Description >> System >> Brake Assist Function >> System Description
April 5, 2026: LEMON Manuals is launched! Read the announcement.

System Description

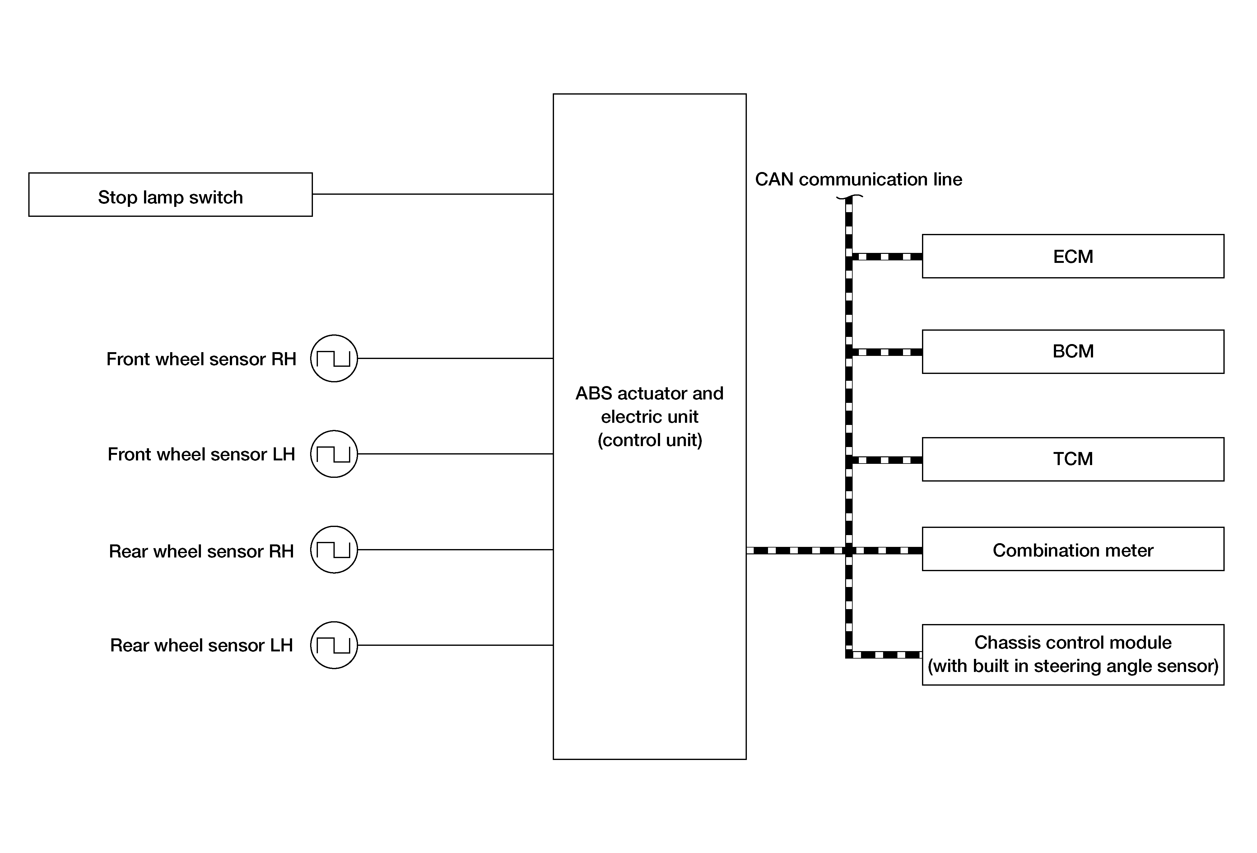
SYSTEM DIAGRAM 

G04887295Courtesy of NISSAN NORTH AMERICA, INC.

INPUT SIGNAL AND OUTPUT SIGNAL 

Major signal transmission between each unit via communication lines is shown in the following table.

Component

Signal description

ECM

Mainly transmits the following signal to ABS actuator and electric unit (control unit) via CAN communication:

  • Accelerator pedal position signal
  • Engine speed signal
  • Engine torque signal

Mainly receives the following signal from ABS actuator and electric unit (control unit) via CAN communication:

  • Engine torque request signal

Chassis control module

Mainly transmits the following signal to ABS actuator and electric unit (control unit) via CAN communication:

  • Intelligent Trace Control signal

Combination meter

Mainly receives the following signals from ABS actuator and electric unit (control unit) via CAN communication:

  • Brake fluid level switch signal
  • Parking brake switch signal

Mainly receives the following signals from ABS actuator and electric unit (control unit) via CAN communication:

  • VDC warning lamp signal
  • VDC OFF indicator lamp signal