LEMON Manuals: Even more car manuals for everyone: 1960-2025
Home >> Nissan-Datsun >> 2019 >> Altima SL, AWD >> Repair and Diagnosis >> Brakes >> Traction Control >> Brake Control System >> VDC/TCS/Abs >> Description >> System >> VDC Function >> System Description
April 5, 2026: LEMON Manuals is launched! Read the announcement.

System Description

With Electric Parking Brake System and Automatic Brake Hold Function 

SYSTEM DIAGRAM 

G04887294Courtesy of NISSAN NORTH AMERICA, INC.

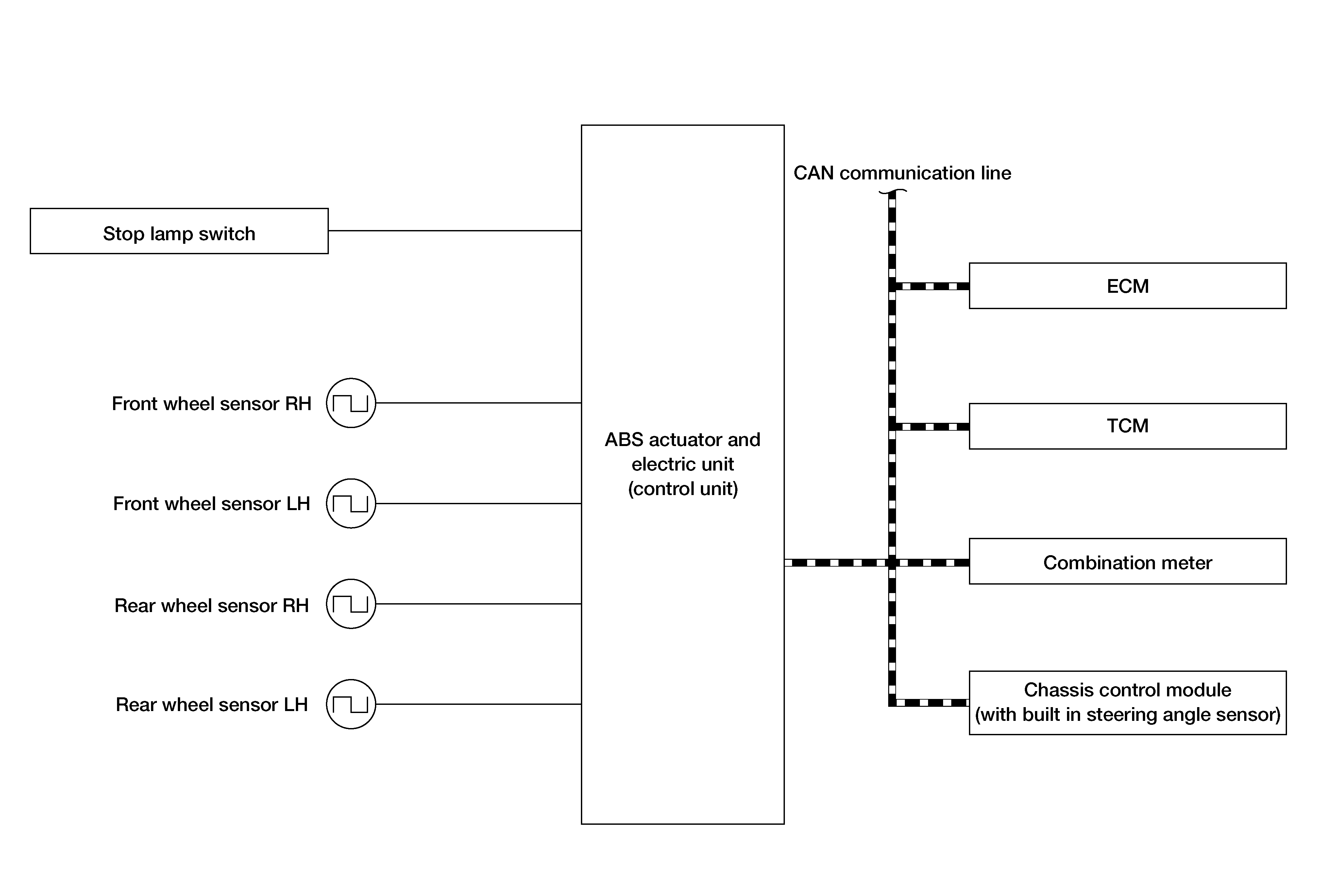
INPUT SIGNAL AND OUTPUT SIGNAL 

Major signal transmission between each unit via communication lines is shown in the following table.

Component parts

Signal description

Combination meter

Mainly transmits the following signals to ABS actuator and electric unit (control unit) via CAN communication.

  • Parking brake switch signal
  • Brake fluid level switch signal

Mainly receives the following signals from ABS actuator and electric unit (control unit) via CAN communication.

  • ABS warning lamp signal
  • VDC OFF indicator lamp signal
  • VDC warning lamp signal
  • Brake warning lamp signal

ECM

Mainly transmits the following signals to ABS actuator and electric unit (control unit) via CAN communication.

  • Accelerator pedal position signal
  • Engine speed signal
  • Engine status signal
  • ECM malfunction signal

IPDM E/R

Mainly transmits the following signals to ABS actuator and electric unit (control unit) via CAN communication.

  • Ignition switch ON signal

TCM

Mainly transmits the following signals to ABS actuator and electric unit (control unit) via CAN communication.

  • Current gear position switch signal

Chassis control module (with built in steering angle sensor)

Mainly transmits the following signals to ABS actuator and electric unit (control unit) via CAN communication.

  • Steering angle sensor signal
  • Steering angle sensor malfunction signal

OPERATION CHARACTERISTICS 

VDC Function That Prevents Over steer Tendency 

VDC Function That Prevents Tendency