LEMON Manuals: Even more car manuals for everyone: 1960-2025
Home >> Nissan-Datsun >> 2019 >> Maxima SL >> Repair and Diagnosis (Single Page) >> Brakes >> Brakes Control Systems >> Brake Control System - With ICC (Introduction And Basic Inspection) >> With ICC >> System Description >> System >> TCS Function >> System Diagram
April 5, 2026: LEMON Manuals is launched! Read the announcement.

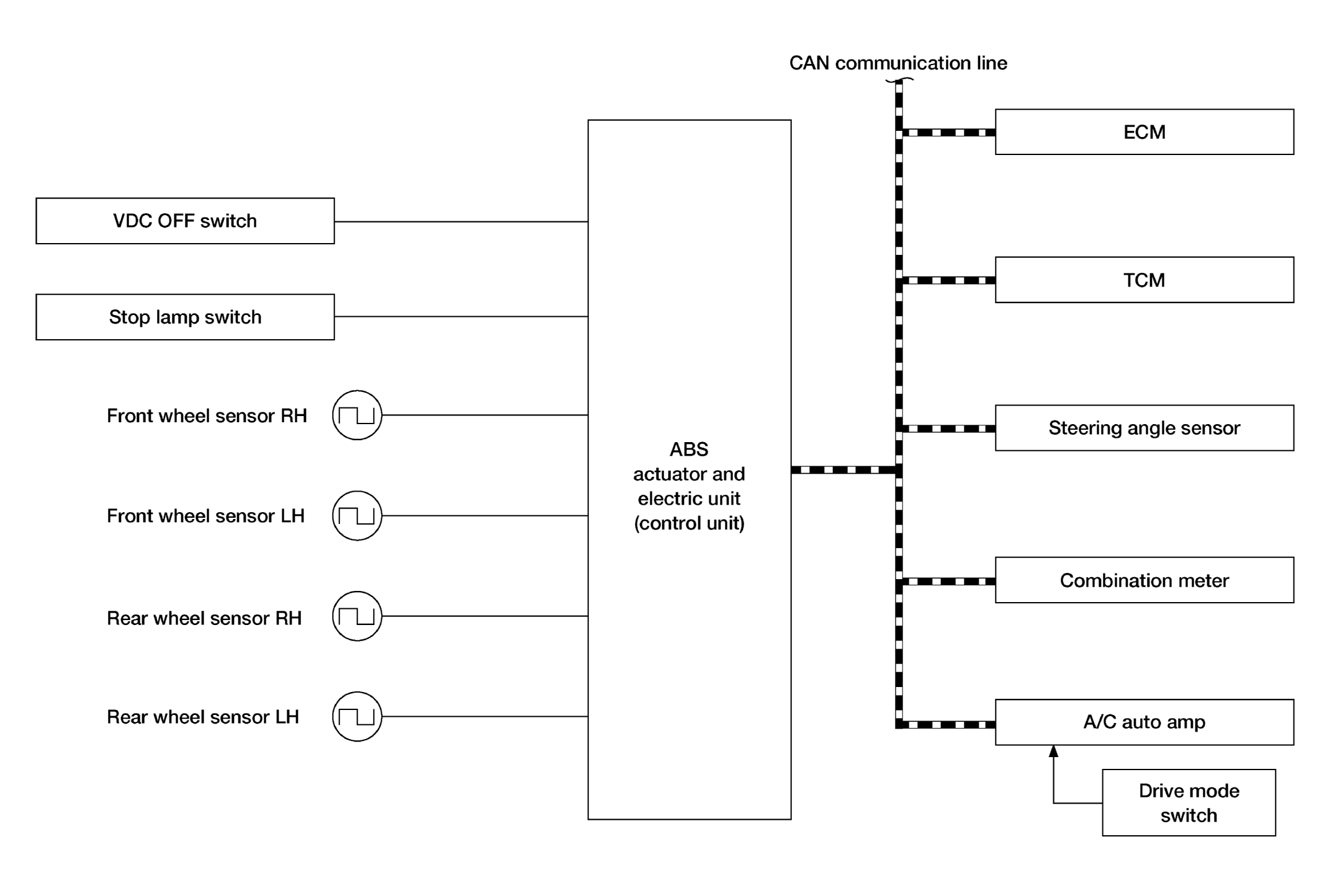
System Diagram

GNSALFIA0601GB-601Courtesy of NISSAN NORTH AMERICA, INC.