LEMON Manuals: Even more car manuals for everyone: 1960-2025
Home >> Nissan-Datsun >> 2019 >> NV1500 S >> Repair and Diagnosis >> Body & Frame >> Windows >> Power Window Control System >> System Description >> System >> System Diagram >> Front Window System
April 5, 2026: LEMON Manuals is launched! Read the announcement.

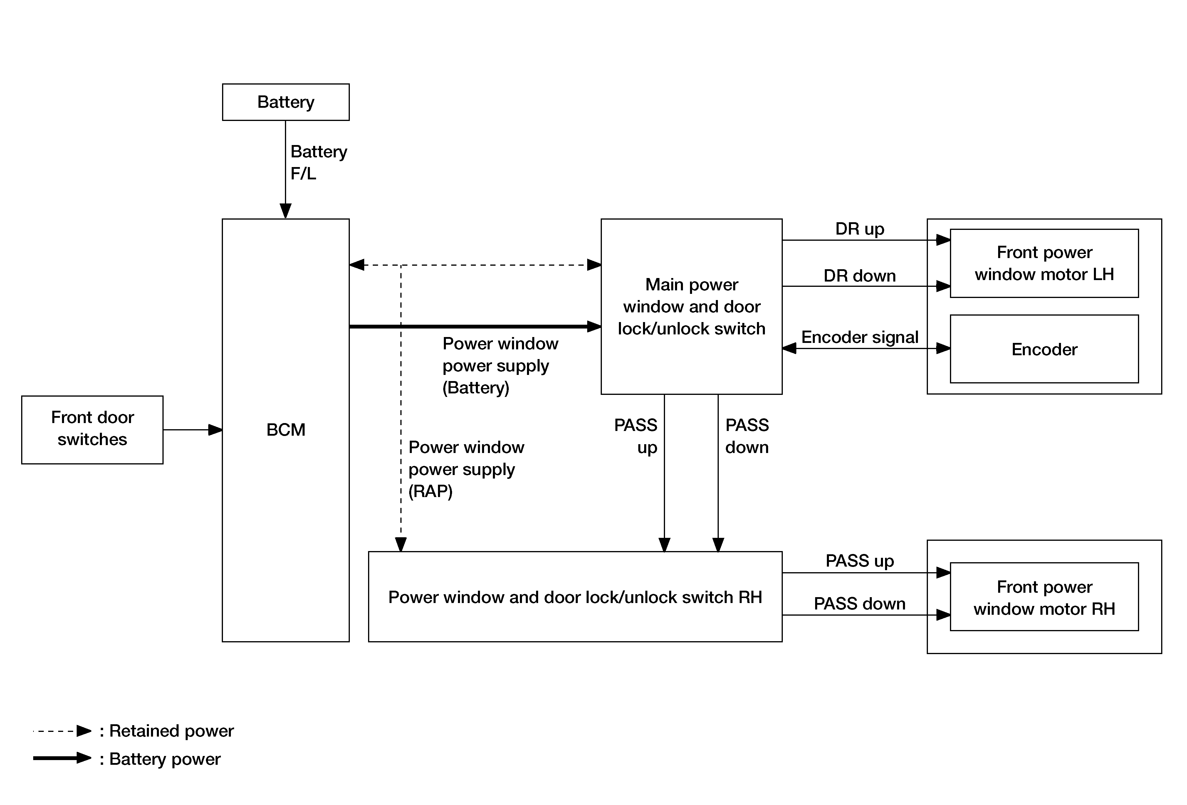
Front Window System

GNSAWKIA0013GB-013Courtesy of NISSAN NORTH AMERICA, INC.