LEMON Manuals: Even more car manuals for everyone: 1960-2025
Home >> Nissan-Datsun >> 2019 >> Rogue SL, AWD >> Repair and Diagnosis (Single Page) >> Brakes >> Brakes Control Systems >> Brake Control System (Except Hybrid) >> System Description >> System >> TCS Function >> System Description >> System Diagram
April 5, 2026: LEMON Manuals is launched! Read the announcement.

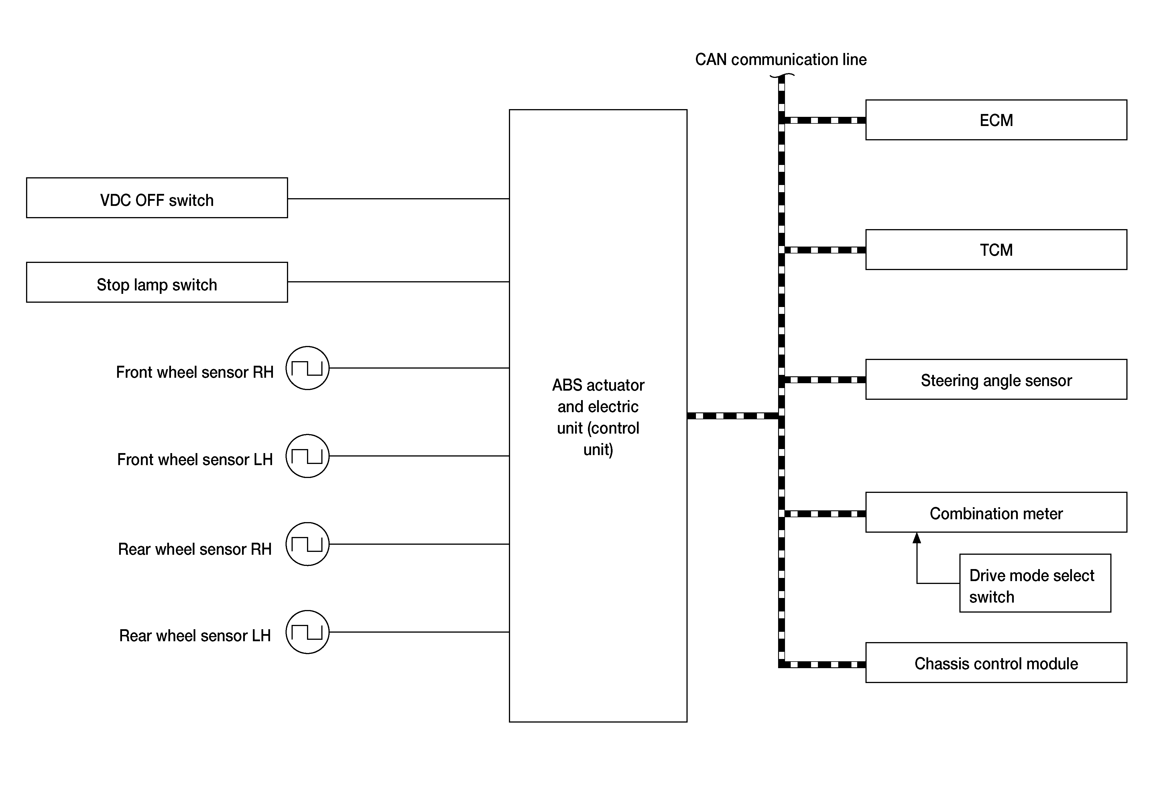
System Diagram

GNSALFIA0780GB-780Courtesy of NISSAN NORTH AMERICA, INC.