LEMON Manuals: Even more car manuals for everyone: 1960-2025
Home >> Nissan-Datsun >> 2019 >> Sentra SL >> Repair and Diagnosis >> Accessories & Equipment >> Cruise Control Systems >> Cruise Control System >> Basic Inspection >> Distance Sensor (ICC Sensor) Alignment >> Setting The Target Board >> Description
April 5, 2026: LEMON Manuals is launched! Read the announcement.

Setting The Target Board: Description

Accurate adjustment of the distance sensor (ICC sensor) alignment requires that the target board be accurately positioned.

CAUTION: If the distance sensor (ICC sensor) alignment is adjusted with the target board in the incorrect position, the ICC system will not function properly or the alignment procedure may not be completed successfully.
  1. TARGET BOARD FINAL SETTING 
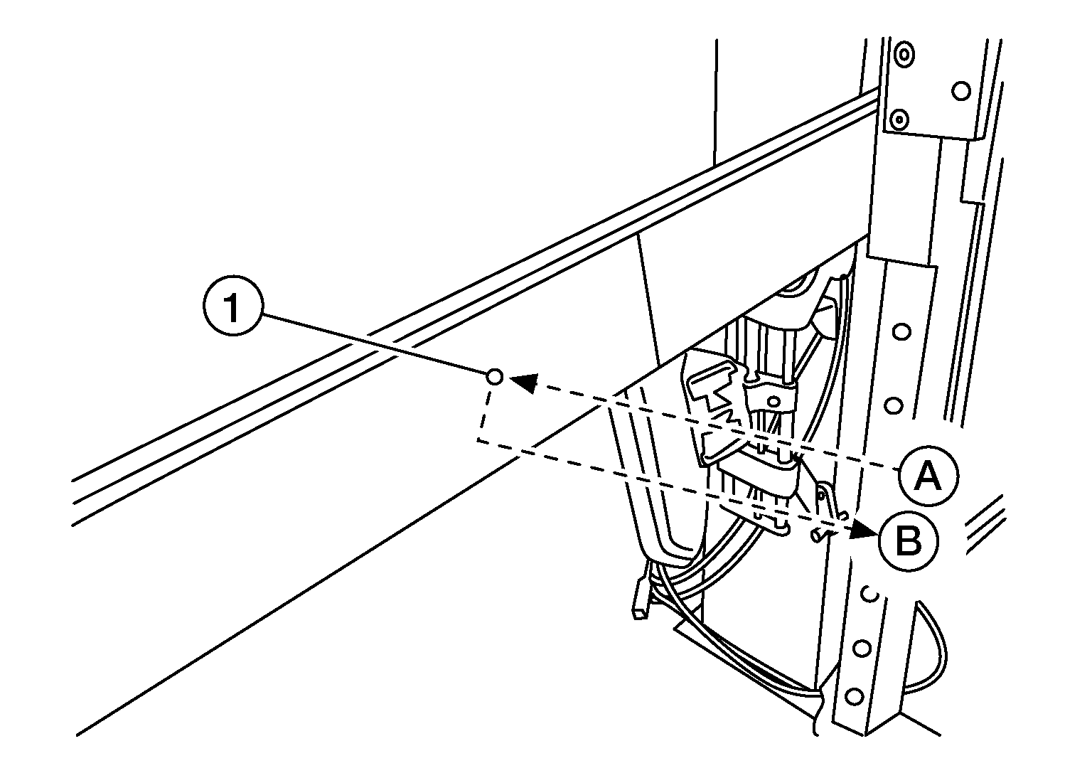
    1. With the target board arm extended, the laser beam (1) emitted by the laser assembly (A) will be reflected back (B) toward the laser assembly.
      GNSALOIA0170Z-170Courtesy of NISSAN NORTH AMERICA, INC.
      NOTE: When adjusted properly, reflected laser beam (B) must align with emitted laser beam (A) and the two laser beams will be seen as one.
    2. Rotate the target board to achieve the necessary horizontal adjustment.
    3. Adjust the target board leveling screws to achieve the necessary vertical adjustment.
    4. The figure shown illustrates the laser beam (A) emitted by the laser assembly (1) and its reflection (B) off the target board arm.
      GNSALOIA0171Z-171Courtesy of NISSAN NORTH AMERICA, INC.

    GO TO 2.

  2. CHECK THE POSITION OF THE TARGET BOARD 

    Do not place anything other than the target board in the space shown in front of the vehicle (view from top).

    GNSALOIA0169Z-169Courtesy of NISSAN NORTH AMERICA, INC.

    1.

    Target board arm

    2.

    Target board

    3.

    Distance sensor (ICC sensor)

    4.

    Vehicle

    A .

    Distance between front wheel and laser beam (D f)

    B.

    Distance between rear wheel and laser beam (D r)

    C.

    Height between front laser beam and ground (H f)

    D.

    Height between rear laser beam and ground (H r)

    E.

    Target board center position (Position 2)

    L.

    1 - 1.5 m (39.3 - 59 in.)

    Refer to Distance Sensor (ICC Sensor) Adjustment .