System Description
SYSTEM DIAGRAM
System Description
OUTLINE
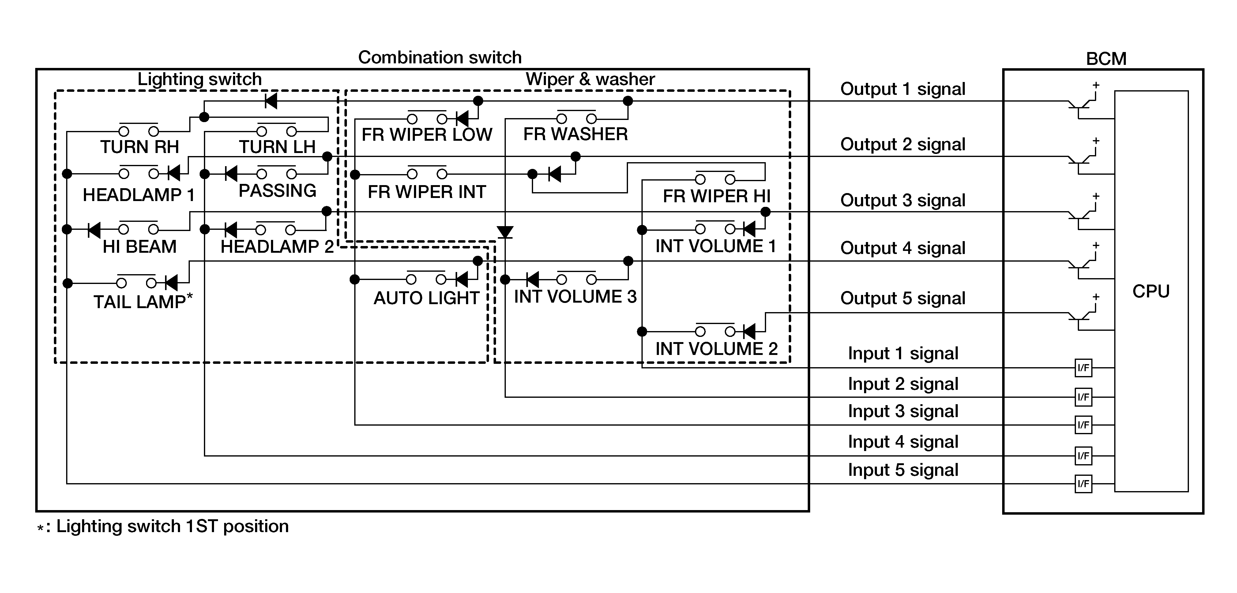
- BCM reads the status of the combination switch (light, turn signal, wiper and washer) and recognizes the status of each switch.
- BCM has a combination of 5 output terminals (OUTPUT 1 - 5) and 5 input terminals (INPUT 1 - 5). It reads a maximum of 20 switch states.
COMBINATION SWITCH MATRIX
Combination switch INPUT-OUTPUT system list
|
System |
INPUT 1 |
INPUT 2 |
INPUT 3 |
INPUT 4 |
INPUT 5 |
|
OUTPUT 1 |
- |
FR WASHER |
FR WIPER LOW |
TURN LH |
TURN RH |
|
OUTPUT 2 |
FR WIPER HI |
- |
FR WIPER INT |
PASSING |
HEADLAMP 1 |
|
OUTPUT 3 |
INT VOLUME 1 |
- |
- |
HEADLAMP 2 |
HI BEAM |
|
OUTPUT 4 |
- |
INT VOLUME 3 |
AUTO LIGHT |
- |
TAIL LAMP |
|
OUTPUT 5 |
INT VOLUME 2 |
- |
- |
- |
- |
COMBINATION SWITCH READING FUNCTION
Description
- BCM reads the status of the combination switch at 10 ms intervals normally.NOTE: BCM reads the status of the combination switch at 60 ms intervals when BCM is controlled at low power consumption control mode.
- BCM operates as follows and judges the status of the combination switch.
- It operates the transistor on OUTPUT side in the following order: OUTPUT 1 → 2 → 3 → 4 → 5, and outputs voltage waveform.
- The voltage waveform of OUTPUT corresponding to the formed circuit is input into the interface on INPUT side if any (1 or more) switches are ON.
- It reads this change of the voltage as the status signal of the combination switch.
Operation Example
In the following operation example, the combination of the status signals of the combination switch is replaced as follows: INPUT 1 - 5 to "1 - 5" and OUTPUT 1 - 5 to "A - E".
Example 1: When a switch (TAIL LAMP) is turned ON
- The circuit between OUTPUT 4 and INPUT 5 is formed when the TAIL LAMP switch is turned ON.
- BCM detects the combination switch status signal "5D" when the signal of OUTPUT 4 is input to INPUT 5.
- BCM judges that the TAIL LAMP switch is ON when the signal "5D" is detected.
Example 2: When some switches (TURN RH, TAIL LAMP) are turned ON
- The circuits between OUTPUT 1 and INPUT 5 and between OUTPUT 4 and INPUT 5 are formed when the TURN RH switch and TAIL LAMP switch are turned ON.
- BCM detects the combination switch status signal "5AD" when the signals of OUTPUT 1 and OUTPUT 4 are input to INPUT 5.
- BCM judges that the TURN RH switch and TAIL LAMP switch are ON when the signal "5AD" is detected.