Required Tools
- Radar Sensor Aiming Kit 1-20-2851-1. Kit includes the following:
a) Target Board (Fixture)
b) Laser Assembly
c) Rear Stand
Use Kit 1-20-2851-1 with a self-centering wheel adapter (e.g. 1-20-2722-1-IF, Hunter 20-3339-1 or equivalent).
NOTE:
Tools 1-20-2721-1-IF, 1-20-2722-1-IF and J-50808 have been superseded and are no longer available, but may still be used for distance sensor (ICC sensor) alignment.
The following tools are necessary to perform the distance sensor (ICC sensor) alignment:
- Target board.
- Position 1, with top tilted 2° toward vehicle (1).
- Position 2, vertical (2).
- Position 3, with top tilted 2° away from vehicle (3).
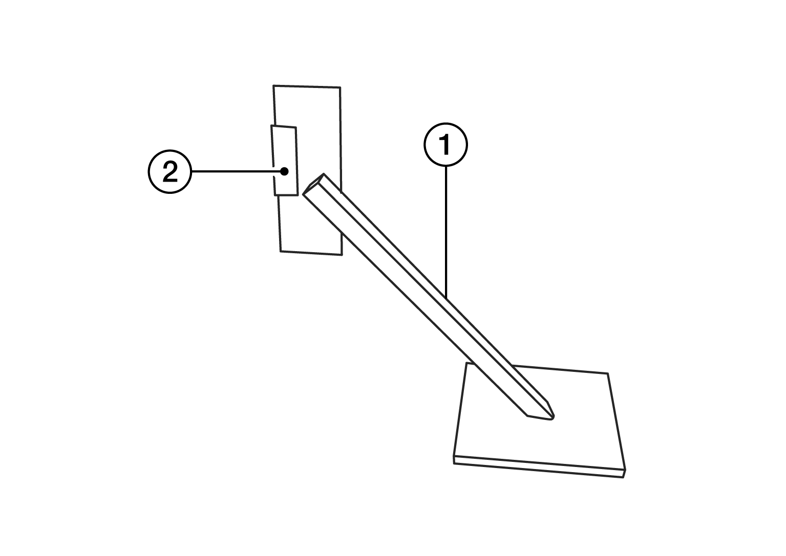
- Hunter self-centering wheel adapter (1) [shown with laser assembly (2) installed]. (Hunter alignment rack head may be substituted.)
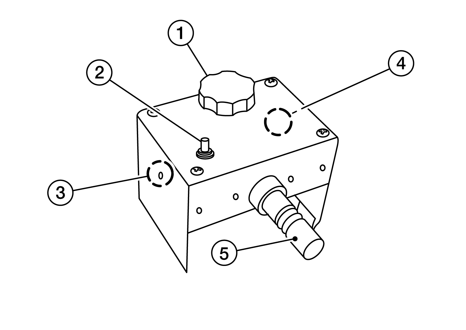
- Laser assembly (with bi-directional laser beam) as shown in the illustration.
- Tightening knob (1)
- Power ON/OFF button (2)
- Front laser beam opening (3)
- Rear laser beam opening (4)
- Attaching shaft (5)
- Rear stand as shown in the illustration.
- Rear stand (1)
- Laser signal reception plate (2)
- Distance chain (not shown).