LEMON Manuals: Even more car manuals for everyone: 1960-2025
Home >> Nissan-Datsun >> 2019 >> Sentra SR >> Repair and Diagnosis >> Accessories & Equipment >> Cruise Control Systems >> Cruise Control System >> Basic Inspection >> Distance Sensor (ICC Sensor) Alignment >> Vehicle Set Up >> Description
April 5, 2026: LEMON Manuals is launched! Read the announcement.

Vehicle Set Up: Description

Accurate adjustment of the distance sensor (ICC sensor) alignment requires that the target board, wheel adapter, laser assembly, and rear stand be properly positioned.

CAUTION: If the distance sensor (ICC sensor) alignment is adjusted with the target board, wheel adapter, laser assembly, or rear stand in the incorrect position, the ICC system will not function properly or the alignment procedure may not be completed successfully.
  1. PREPOSITION TARGET BOARD 
    NOTE:
    • The center of the sensor wave axis (A) is located at the center of the front lens.
      GNSDB120012Courtesy of NISSAN NORTH AMERICA, INC.
    • Initial target board setting must be in the center position.
    1. Position the target board in front facing the left front side of the vehicle:
      GNSALOIA0115Z-115Courtesy of NISSAN NORTH AMERICA, INC.
      1. Place the marked center of the target board (1) 1200 mm (47.2 in.) ± 625 mm (24.6 in) facing the distance sensor (ICC sensor).
      2. Adjust the height of the target board using the adjustable nut (2) to achieve the proper height. The up/down tolerance is ± 80 mm (3.15 in).
      3. Adjust the target board lateral position aligning the marked center of the board horizontally with the center of the distance sensor (ICC sensor) front lens. The right/left tolerance is ± 80 mm (3.15 in).
    2. Extend the machined arm of the target board exposing the reflective surface (3) to the left front side of the vehicle.
    3. Place one side of the laser assembly (2) flush against the center of the target board (1) to assist in the positioning.
      GNSDB122899Courtesy of NISSAN NORTH AMERICA, INC.
    4. Turn the laser assembly ON (3) allowing the laser beam to emit through the opening of the laser assembly toward the center of the distance sensor (ICC sensor).
    5. Move the target board (1) as necessary so that center of target board aligns with center of distance sensor (ICC sensor).
    6. Turn the laser assembly OFF when done.

    Are you using Hunter alignment equipment?

    YES

    Refer to Hunter's equipment instructions for complete vehicle set up and target board setting. Then, refer to Distance Sensor (ICC Sensor) Adjustment .

    NO

    GO TO 2.

  2. INSTALLING LASER ASSEMBLY 
    NOTE:
    • Ensure the steering wheel is positioned in the center straight-forward position.
    • Ensure all four vehicle wheels do not have any physical damage.
    1. Install the wheel adapter (1) on the left front wheel.
      GNSALOIA0173Z-173Courtesy of NISSAN NORTH AMERICA, INC.
    2. Mount the laser assembly (2) to the wheel adapter (1) as shown in the figure.
      NOTE: When the power switch is turned ON, the front laser signal (A) will be emitted toward the target board, and the rear laser signal (B) will be emitted toward the rear of the vehicle.

    GO TO 3.

  3. SETTING UP REAR STAND 
    1. Place the rear stand next to the left rear tire as shown in the figure.
      GNSALOIA0172Z-172Courtesy of NISSAN NORTH AMERICA, INC.
    2. Turn the laser assembly ON allowing the laser beam to be emitted through the front and rear laser assembly openings.
    3. Measure and record the distance (D r ) between the edge of the left rear wheel and the laser beam (1) on the rear stand (horizontal line).
    4. Measure and record the height (H r ) between the laser beam (1) on the rear stand and ground level (vertical line).
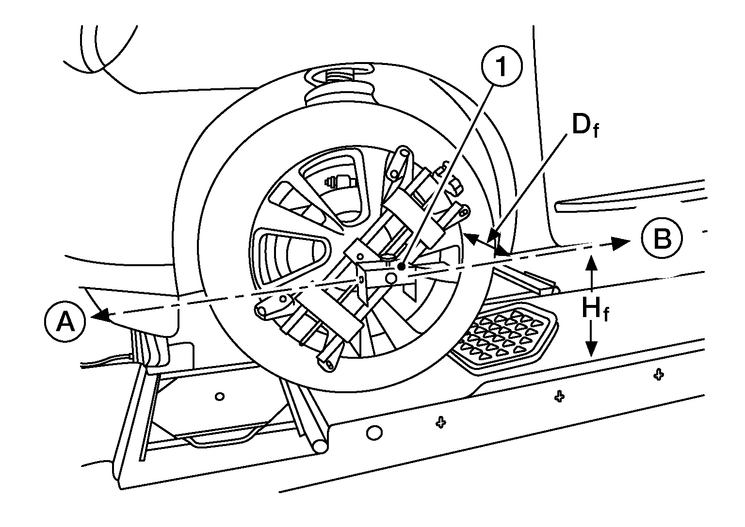
    5. Measure and record the distance (D f ) between the edge of the left front wheel and the laser beam signal/opening (1) on the laser assembly (horizontal line).
      GNSALOIA0174Z-174Courtesy of NISSAN NORTH AMERICA, INC.
    6. Measure and record the height (H f ) between the laser beam signal/opening (1) on the laser assembly and ground level (vertical line).
      NOTE:
      • Horizontal adjustment [front distance (D f) and rear distance (D r )] is accomplished by slowly turning the steering wheel until the 2 distances are the same.
      • Vertical adjustment [front height (H f) and rear height (H r )] is accomplished by rotating the laser assembly around its axis until the two heights are the same.
      • Directional arrows (A) and (B) are shown to illustrate the direction of the laser assembly beams.
    7. Adjust laser beam as necessary until the two distances match and the two heights match.
      NOTE: You will have to verify both horizontal and vertical adjustments anytime one adjustment is made.

    Refer to Setting The Target Board .