LEMON Manuals: Even more car manuals for everyone: 1960-2025
Home >> Nissan-Datsun >> 2019 >> Versa 1.6 S Plus >> Repair and Diagnosis >> Electrical >> Body Electrical >> Power Control System >> System Description >> System >> Relay Control System >> System Description >> System Diagram
April 5, 2026: LEMON Manuals is launched! Read the announcement.

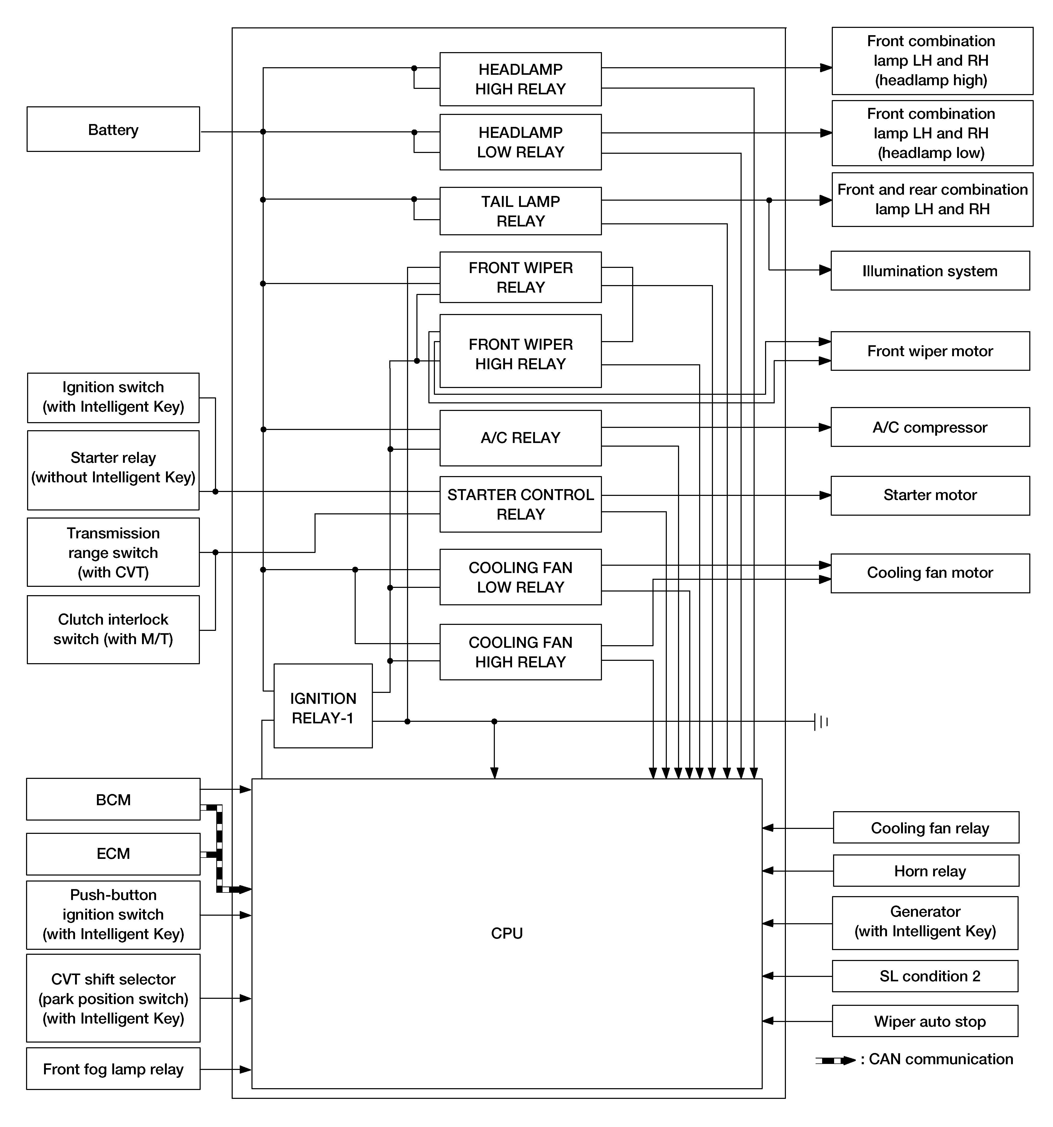
System Diagram

GNSAWMIA07GB-007Courtesy of NISSAN NORTH AMERICA, INC.