Precaution for Brake System
WARNING:
Clean any dust from the front brake and rear brake using a vacuum dust collector. Do not blow by compressed air.
- Brake fluid use refer to Fluids and Lubricants .
- Do not reuse drained brake fluid.
- Do not spill or splash brake fluid on painted surfaces. Brake fluid may seriously damage paint. Wipe it off immediately and wash with water if it gets on a painted surface.
- Always confirm the specified tightening torque when installing the brake pipes.
- After pressing the brake pedal more deeply or harder than normal driving, such as air bleeding, check each item of brake pedal. Adjust brake pedal if it is outside the standard value.
- Do not use mineral oils such as gasoline or light oil to clean. They may damage rubber parts and cause improper operation.
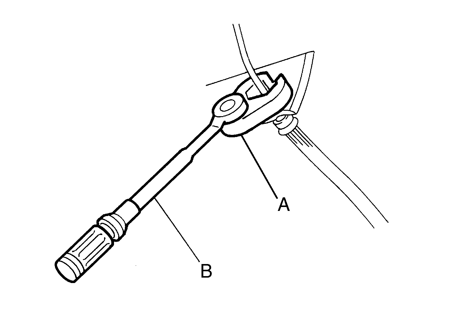
- Always loosen the brake tube flare nut with a flare nut wrench.
- Tighten the brake tube flare nut to the specified torque using a crowfoot (A) and a torque wrench (B).
- Always connect the battery terminal when moving the vehicle.
- Turn the ignition switch OFF and disconnect the ABS actuator and electric unit (control unit) harness connector or the battery negative terminal before performing the work.
- Check that no brake fluid leakage is present after replacing the parts.