LEMON Manuals: Even more car manuals for everyone: 1960-2025
Home >> Nissan-Datsun >> 2019 >> Versa Note S >> Repair and Diagnosis >> Transmission >> Automatic Trans >> Automatic Transmission (Introduction And Basic Inspection) >> System Description >> Structure And Operation >> Transaxle >> Cross-Sectional View
April 5, 2026: LEMON Manuals is launched! Read the announcement.

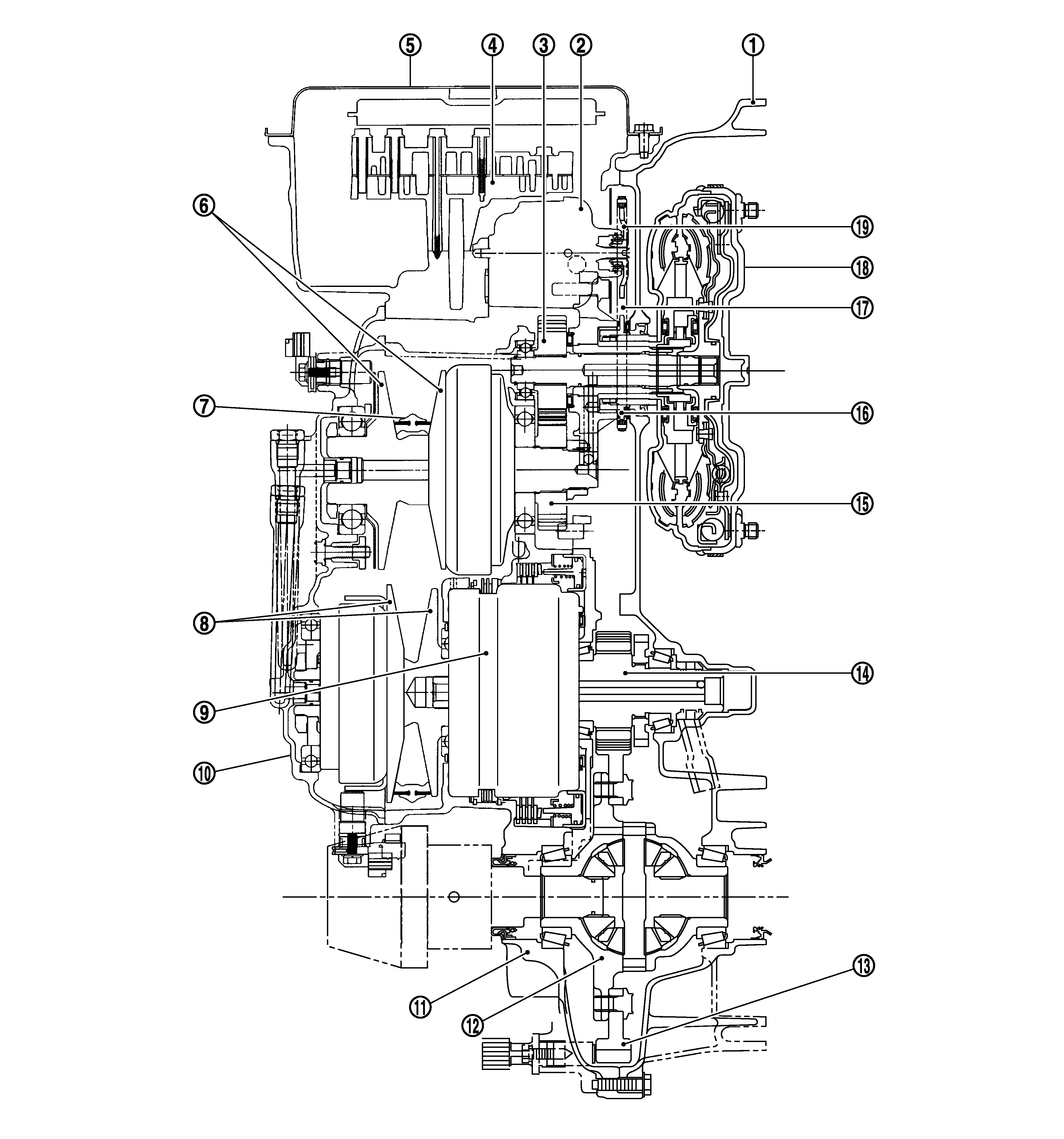
Cross-Sectional View

GNSJSDIA1777Z-777Courtesy of NISSAN NORTH AMERICA, INC.

1.

Converter housing

2.

Oil pump

3.

Counter drive gear

4.

Control valve

5.

Oil pan

6.

Primary pulley

7.

Steel belt

8.

Secondary pulley

9.

Planetary gear (auxiliary gearbox)

10.

Side cover

11.

Transaxle case

12.

Differential case

13.

Final gear

14.

Reduction gear

15.

Counter driven gear

16.

Drive sprocket

17.

Oil pump chain

18.

Torque converter

19.

Driven sprocket