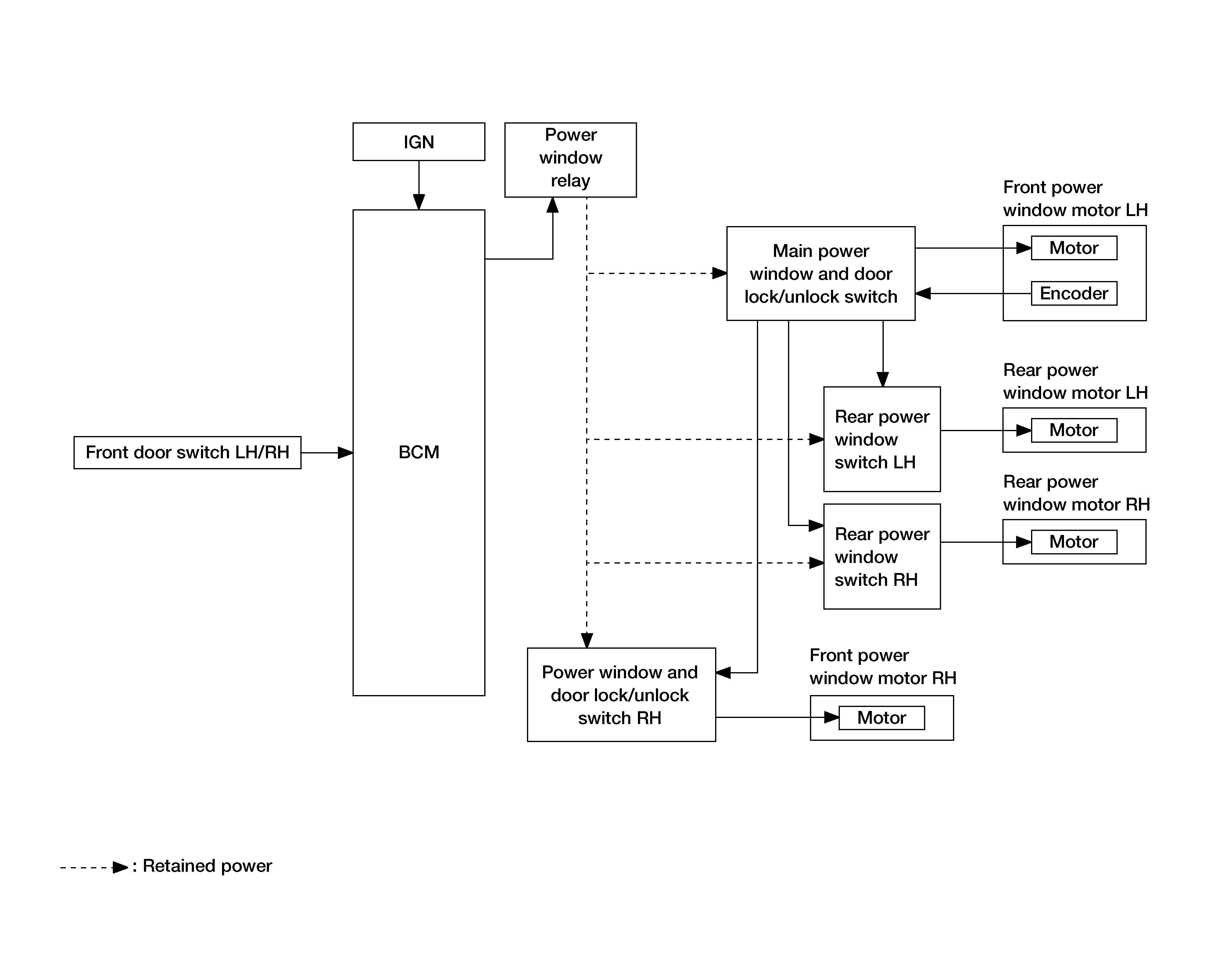
System Description
INPUT/OUTPUT SIGNAL CHART
|
Item |
Input signal to main power window and door lock/unlock switch |
Main power window and door lock/unlock switch function |
Actuator |
|
Encoder |
Encoder pulse signal |
Power window control |
Front power window motor |
|
Main power window and door lock/unlock switch |
Front power window motor LH UP/DOWN signal |
||
|
Power window and door lock/unlock switch RH |
Front power window motor RH UP/DOWN signal |
||
|
BCM |
RAP signal |
||
|
Rear power window switch |
Rear power window motor UP/DOWN signal |
Rear power window motor |
POWER WINDOW OPERATION
- The power window system is activated by the power window switch when the ignition switch is in the ON position or during retained power operation after the ignition switch is placed OFF.
- The main power window and door lock/unlock switch can open/close all the windows.
- The front & rear power window switches can open/close the corresponding windows.
- The power window lock switch can lock all the power windows other than the driver's window.
- If the door glass receives resistance that is more than the specified value and the power window is in AUTO-UP operation (Front LH), the power window will move in the reverse direction (Anti-Pinch Function).
POWER WINDOW AUTO-OPERATION (FRONT LH)
- AUTO UP/DOWN operation can be performed when the main power window and door lock/unlock switch is in the AUTO position.
- The encoder continues detecting the movement of the power window motor and transmits this signal to the main power window and door lock/unlock switch as the encoder pulse signal while the power window motor is operating.
- The main power window and door lock/unlock switch reads the changes of the encoder signal and stops AUTO operation when door glass is at the fully opened/closed position.
- The power window motor is operable in case the encoder is malfunctioning.
RETAINED POWER OPERATION
- Retained power operation is an additional power supply function that enables the power window system to operate for 45 seconds even when the ignition switch is turned OFF.
Retained power function cancel conditions:
- Front door CLOSE (door switch OFF)->OPEN (door switch ON).
- When ignition switch is ON.
- When timer time passes. (45 seconds)
- AUTO function does not operate if encoder is malfunctioning.
POWER WINDOW LOCK FUNCTION
A ground circuit inside the main power window and door lock/unlock switch shuts off when the power window lock switch is ON. This inhibits power window switch operation except with the main power window and door lock/unlock switch.
ANTI-PINCH OPERATION (FRONT LH)
- Pinch foreign material in the door glass during AUTO-UP operation, and it is the anti-pinch function that lowers the door glass when detected.
- The Encoder continues detecting the movement of the power window motor and transmits this signal to the main power window and door lock/unlock switch as the encoder pulse signal while the power window motor is operating.
- Resistance applied to the power window motor rotation changes the frequency of encoder pulse signal if foreign material is trapped in the door glass.
- The power window switch controls the lowering of the window glass after it detects a encoder pulse signal frequency change.
OPERATION CONDITION
- When AUTO-UP operation is performed (anti-pinch function does not operate just before the door glass closes and is fully closed)