LEMON Manuals: Even more car manuals for everyone: 1960-2025
Home >> Nissan-Datsun >> 2023 >> Altima SL, AWD >> Repair and Diagnosis >> Engine Performance >> Engine Control Systems >> Engine Control System (Pr25DD) (2 Of 2) >> Removal And Installation >> ECM >> ECM : Exploded View
April 5, 2026: LEMON Manuals is launched! Read the announcement.

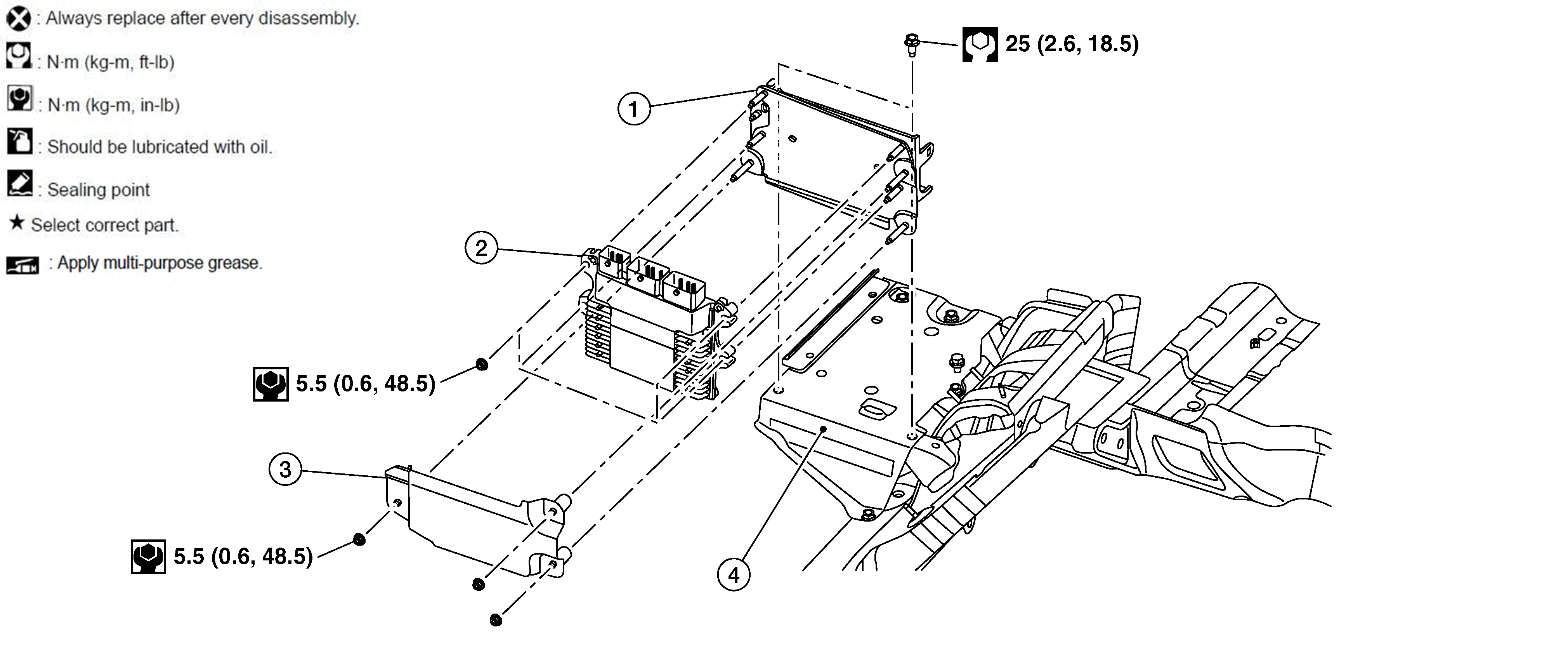
ECM : Exploded View

Fig 1: ECM With Torque Specifications
GNSDB49111Courtesy of NISSAN
1. Rear bracket 2. ECM 3. Front bracket
4. Battery tray