LEMON Manuals: Even more car manuals for everyone: 1960-2025
Home >> Nissan-Datsun >> 2023 >> Frontier PRO-X >> Repair and Diagnosis >> Restraints >> Restraints Control Systems >> SRS Air Bag Control System >> System Description >> System >> Occupant Classification System >> System Diagram
April 5, 2026: LEMON Manuals is launched! Read the announcement.

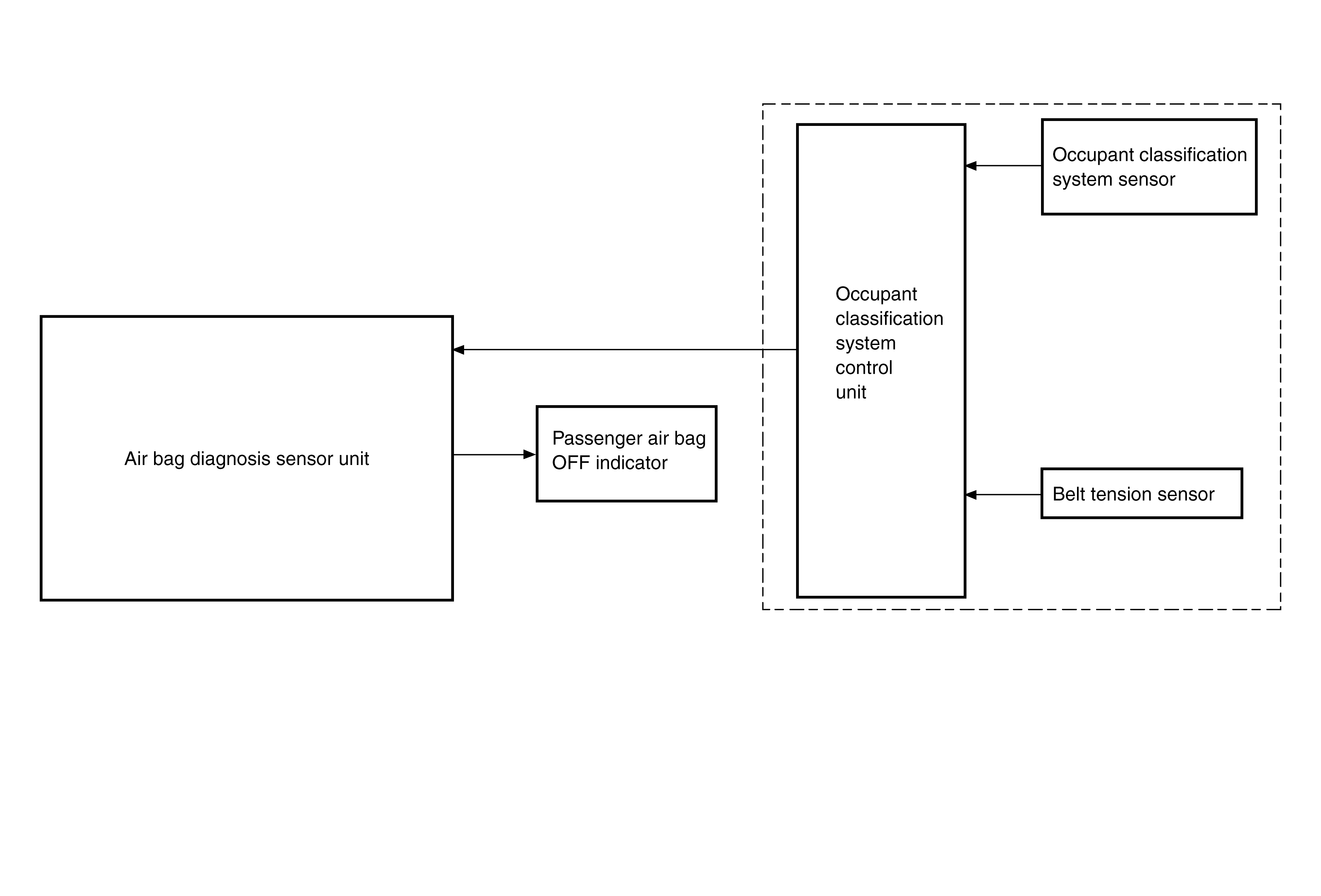
System Diagram

GNSDB42565Courtesy of NISSAN