LEMON Manuals: Even more car manuals for everyone: 1960-2025
Home >> Nissan-Datsun >> 2023 >> Sentra S >> Repair and Diagnosis (Single Page) >> Accessories & Equipment >> Drivers Assistance Systems - ADAS >> Driver Assistance System >> Basic Inspection >> Distance Sensor Alignment >> Work Procedure
April 5, 2026: LEMON Manuals is launched! Read the announcement.

Work Procedure

Always perform the radar alignment after removing and installing or replacing the distance sensor.

Application Notice 

Type Description
TYPE 1 When using KV99112700 for radar alignment. Refer to Description.
TYPE 2 When using 1-20-2851-1 for radar alignment. Refer to Description.

TYPE 1 

Description 

OUTLINE OF RADAR ALIGNMENT PROCEDURE

Warning: 

WARNING: Radio waves could adversely affect electric medical equipment. Those who use a pacemaker should contact the electric medical equipment manufacturer for the possible influences before use.
CAUTION:

The system does not operate normally unless the radar alignment is performed. Always perform it.

  1. Set the target board (SST: KV99112700) to the correct position in front of the vehicle.
  2. Set the radar alignment mode ("MILLIWAVE RADAR ADJUST" on "Work support") with CONSULT, and then perform the adjustment according to the display. (Distance sensor automatically adjusts.)

CAUTIONARY POINT FOR RADAR ALIGNMENT PROCEDURE

CAUTION:
  • For radar alignment procedure, choose a level location with a few meter of working space in front and surrounding the vehicle.
  • Vehicle must be stationary and unoccupied during the whole alignment procedure.
  • Any slight vibration during the alignment procedure can cause the test to fail. If this happens, you will have to restart the alignment process.
  • The ignition switch must be in the ON position.
  • The battery voltage must not fall below 12 volts during the whole alignment procedure. Failure to maintain adequate battery voltage will cause the test to fail. If this happens, you will have to restart the alignment process.
  • The target board must be set in front of the vehicle facing the sensor.
  • Adjust the radar alignment with CONSULT. (The radar alignment procedure cannot be adjusted without CONSULT.)
  • Never enter the vehicle during radar alignment.
  • Never block the area between the radar and the target board at any time during the alignment process.
  • Accurate steering wheel setting is crucial. Once set, do not disturb the steering wheel for the remainder of the alignment procedure.
  • For proper system operation and adjustment, all vehicle wheels must be of the same size.

Preparation 

  1. ADVANCE PREPARATION FOR RADAR ALIGNMENT 
      1. Adjust all tire pressure to the specified value.
      2. Empty the vehicle. (Remove any luggage from the passenger compartment, trunk room, etc.)
      3. Shift the selector lever to "P" position, and release the parking brake.
      4. Fully fill the fuel tank, and then check that the coolant and oils are filled up to correct level.
      5. Clean the distance sensor area SYMBOL of the front bumper grille.
        GNSDB47120Courtesy of NISSAN

    >>

    GO TO 2.

  2. RADAR ALIGNMENT OPERATION AREA 
    1. Position the vehicle in a place that is level and where SYMBOL area can be secured.
      GNSDB46798Courtesy of NISSAN
      W : 3000 mm (118.11 in)
      L : 2000 mm (78.74 in)
      H : 2000 mm (78.74 in)
      NOTE: SYMBOLSYMBOL is a no object zone.

    >>

    Go to Setting The Target Board.

Setting The Target Board 

Accurate adjustment of the radar alignment requires that the target board be accurately positioned.

CAUTION:

If the radar alignment is adjusted with the target board in the incorrect position, the AEB/I-FCW systems do not function normally.

  1. TARGET BOARD HEIGHT ADJUSTMENT 
    1. Adjust the center of target board to approximately 595 mm (23.43 in) from the ground.

    >>

    GO TO 2.

  2. PREPARATION OF SETTING TARGET BOARD (1) 
    1. GNSDB35906Courtesy of NISSAN
      "A"-"E" ("C"-"F") : 1900 mm (74.8 in)
      1. Mark points "A", "B", "C" and "D"at the center of the lateral surface of each wheels.
        GNSDB48107Courtesy of NISSAN
        NOTE: SYMBOL Hang a string with a cone from the fender so as to pass through the center of wheel, and then mark a point at the center of the lateral surface of the wheel.
      2. Draw line "LH" passing through points "A" and "B" on the left side of vehicle.
        NOTE: SYMBOL Approximately 2 m (6.56 ft) or more from the front end of vehicle.
      3. Mark point "E" on the line "LH" at the positions 1900 mm (74.8 in) from point "A".
      4. Draw line "RH" passing through points "C" and "D" on the right side of vehicle in the same way as step 2.
        NOTE: SYMBOL Approximately 2 m (6.56 ft) or more from the front end of vehicle.
      5. Mark point "F" on the line "RH" at the positions 1900 mm (74.8 in) from point "C".
      6. Draw line "FW" passing through the points "E" and "F" on the front side of vehicle.
      7. Mark point "X" at the center of point "E" and "F" on the line "FW".
        CAUTION:

        Make sure that "E" to "X" is equal to "F" to "X".

    >>

    GO TO 3.

  3. SETTING TARGET BOARD 
    1. Place the center of target board on point "G" at line "E-F" and install the target board.
      CAUTION:

      For performing the radar alignment correctly, securely install (target board) to be parallel with the "E-F" line.

      GNSDB34383Courtesy of NISSAN
      L1 : 1900 mm (74.8 in)
      L2 : 6.5 mm (0.26 in)

    >>

    GO TO 4.

  4. CHECK THE TARGET BOARD INSTALLATION AREA 
    1. Do not place anything other than target board in the space shown in the figure (view from top).
      GNSDB37580Courtesy of NISSAN
      SYMBOL No object zone SYMBOL Distance sensor SYMBOL Target board
      W. 3000 mm (118.11 in) L

      .

      1500 mm (59.06 in)    

    >>

    Go to Radar Alignment.

Radar Alignment 

The radar alignment is performed automatically with CONSULT.

CAUTION:

Perform all necessary work for radar alignment until the adjustment completes as shown in the procedure. If the procedure does not complete, the AEB/I-FCW systems are inoperable.

  1. PERFORM RADAR ALIGNMENT 
      1. Start the engine.
      2. Connect CONSULT and select "Work support" of "LASER/RADAR".
      3. Select "MILLIWAVE RADAR ADJUST".
        NOTE: SYMBOL Confirm the following items;
        • The target should be accurately placed.
        • The vehicle should be stopped.
      4. Select "Start" after the conditions displayed on CONSULT are satisfied.
        CAUTION:

        Never select "Start" when the target is not accurately placed.

      5. Select "Next" after the "Radar alignment conditions are ready." screen is displayed.
        NOTE: SYMBOL If the radar is in alignment at this time, "In progress" is displayed. It may take several 10s of seconds until the result is displayed.
      6. Confirm the displayed item.
        • "Completed.": Go to 7.
        • Except "Completed.": Perform the following services.
          Displayed item Possible cause Service procedure
          Alignment result is over threshold.
          • DTC is detected
          • The position of the target board is incorrect
          • Vehicle is moving
          Check the vehicle alignment condition and perform radar alignment again
          Horizontal value is over threshold. Check the condition. Perform the adjust again.
          • DTC is detected
          • The position of the target board is shifted horizontally
          • Vehicle is moving
          Check the vehicle alignment condition and perform radar alignment again
          Vertical value is over threshold. Check the condition. Perform the adjust again.
          • DTC is detected
          • The position of the target board is shifted vertically
          • Vehicle is moving
          Check the vehicle alignment condition and perform radar alignment again
          Horizontal value and Vertical value are over threshold. Check the condition. Perform the adjust again.
          • DTC is detected
          • The position of the target board is shifted horizontally and vertically
          • Vehicle is moving
          Check the vehicle alignment condition and perform radar alignment again
          This display direction is looking from driver seat side.
          NOTE: SYMBOL This is not an error message, so service procedures are not required.
          Target is not detected. (Reflection radio waves is weak.). Reconfirm the placing condition, and then re-perform adjustment.
          • A target is not-yet-placed
          • The position of the target board is incorrect
          • The position of the distance sensor is incorrect
          Check the vehicle alignment condition and perform radar alignment again
          Target setting is offset in horizontal direction. Reconfirm the placing condition. And then re-perform adjustment or re-install the radar.
          • The position of the target board is shifted horizontally
          • The position of the distance sensor is shifted horizontally
          Check the vehicle alignment condition and perform radar alignment again
          Target setting is offset in vertical direction. Reconfirm the placing condition. And then re-perform adjustment or re-install the radar.
          • The position of the target board is shifted vertically
          • The position of the distance sensor is shifted vertically
          Check the vehicle alignment condition and perform radar alignment again
          EEPROM writing is error. Re-perform adjustment or replace the ECU.
          • The condition of the alignment is incorrect
          • Distance sensor malfunction
          • Check the vehicle alignment condition and perform radar alignment again
          • If same massage displays again, replace the distance sensor
          Hardware is imperfect. Replace the ECU. Distance sensor hardware has trouble for alignment Replace the distance sensor
          Signal of vehicle side is imperfect or combination of ECU is incorrect. Diagnose the other ECU. Other ECU except distance sensor have trouble for alignment
          • Check if any DTC is detected in "Self Diagnostic Result" of other ECU except distance sensor
          • If any DTC is not detected, replace the distance sensor
          Software is incorrect. Replace the ECU. Distance sensor software is incorrect Replace the distance sensor
      7. Confirm displayed value.
        Displayed item Monitor item Reference value
        Completed Vertical Angle Radar angle "DownW" or "UpW"
        Vertical Angle Radar measurement result (- 2.50) - (+ 3.00)
        Horizontal Angle Radar angle "LeftW" or "RightW"
        Horizontal Angle Radar measurement result Less than 0 ± 4.00 deg
        Alignment complete
        • Within reference value: Go to 8.
        • Outside of reference value: Check the target board condition and perform radar alignment again.
          NOTE: SYMBOL
          • Check the condition of the distance sensor installation.
          • Check the vehicle for damage.
          • Replace distance sensor if it is outside the reference value, even when distance sensor installation is installed normally and the vehicle is not damaged.
      8. Select "End".
        CAUTION:

        Once "MILLIWAVE RADAR ADJUST" is started with CONSULT, always continue the work until the horizontal radar alignment is completed successfully. If the job is stopped midway, the radar alignment is not adjusted and the AEB/I-FCW systems cannot operate.

    >>

    RADAR ALIGNMENT END

TYPE 2 

Description 

OUTLINE OF RADAR ALIGNMENT PROCEDURE

Warning: 

WARNING: Radio waves could adversely affect electric medical equipment. Those who use a pacemaker should contact the electric medical equipment manufacturer for the possible influences before use.
CAUTION:

The system does not operate normally unless the distance sensor is aligned properly.

  1. Required tools. Refer to Required Tools.
  2. Preparation. Refer to Preparation.
  3. Vehicle set up. Refer to Vehicle Set Up.
  4. Setting the target board. Refer to Setting The Target Board.
  5. Distance sensor adjustment. Refer to distance Sensor Adjustment.

CAUTIONARY POINT FOR RADAR ALIGNMENT PROCEDURE

CAUTION:
  • For radar alignment procedure, choose a level location with a few feet of working space in front and surrounding the vehicle.
  • Vehicle must be stationary and unoccupied during the whole alignment procedure.
  • Any slight vibration during the alignment procedure can cause the test to fail. If this happens, you will have to restart the alignment process.
  • The battery voltage must not fall below 12 volts during the whole alignment procedure. Failure to maintain adequate battery voltage will cause the test to fail. If this happens, you will have to restart the alignment process.
  • The target board must be set in front of the vehicle facing the sensor.
  • Adjust the radar alignment with CONSULT. (The radar alignment procedure cannot be adjusted without CONSULT.)
  • Never enter the vehicle during radar alignment.
  • Never block the area between the radar and the target board at any time during the alignment process.
  • Accurate steering wheel setting is crucial. Once set, do not disturb the steering wheel for the remainder of the alignment procedure.
  • For proper system operation and adjustment, all vehicle wheels must be of the same size.

Required Tools 

The following tools are necessary to perform distance sensor alignment:

a) Target Board (Fixture)b) Laser assemblyc) Rear Stand

Use kit 1-20-2851-1 with a self-centering wheel adapter (e.g. 1-20-2722-1-IF, Hunter 20-3339-1 or equivalent).

NOTE: SYMBOL Tools 1-20-2721-1-IF, 1-20-2722-1-IF and J-50808 have been superseded and are no longer available, but may still be used for distance sensor alignment.

Preparation 

  1. ADVANCE PREPARATION FOR RADAR ALIGNMENT PROCEDURE 
      1. Adjust all tire pressure to the specified value.
      2. Empty the vehicle. (Remove any luggage from the passenger compartment, luggage room, etc.)
      3. Shift the selector lever to "P" position, and release the parking brake.
      4. Fully fill the fuel tank, and then check that the coolant and oils are filled up to correct level.
      5. Clean the distance sensor area SYMBOL of the front bumper grille.
        GNSDB47120Courtesy of NISSAN

    >>

    Refer to Vehicle Set Up.

Vehicle Set Up 

Accurate adjustment of the radar alignment requires that the target board, wheel adapter, laser assembly, and rear stand be properly positioned.

CAUTION:

If the radar alignment is adjusted with the target board, wheel adapter, laser assembly, or rear stand in the incorrect position, the AEB/I-FCW systems will not function properly or the alignment procedure may not be completed successfully.

  1. PREPOSITION TARGET BOARD 
      NOTE: SYMBOL
      • To identify the sensor wave axis center, measure the point SYMBOL as shown in the illustration.
        GNSDB47598Courtesy of NISSAN
        A : 595 mm (23.43 in)
      • Target board setting must be in the center position. (Position 2)
      • Attaching the distance sensor alignment kit attachment board to the target board.
      1. Position the target board in front facing the right front side of the vehicle:
        GNSDB122129Courtesy of NISSAN NORTH AMERICA, INC.
        1. Place the marked center of the target board SYMBOL 1060 mm (41.73 in.) ± 50 mm (1.97 in) facing the distance sensor.
        2. Adjust the height of the target board using the adjustable nut SYMBOL to achieve the proper height. The up/down tolerance is ± 30 mm (1.18 in).
        3. Adjust the target board lateral position aligning the marked center of the board horizontally with the center of the distance sensor. The right/left tolerance is ± 80 mm (3.15 in).
      2. Extend the machined arm of the target board exposing the reflective surface SYMBOL to the right front side of the vehicle.
      3. Place one side of the laser assembly SYMBOL flush against the center of the target board SYMBOL to assist in the positioning.
        GNSDB36109Courtesy of NISSAN
      4. Turn the laser assembly ON SYMBOL allowing the laser beam to emit through the opening of the laser assembly toward the center of the distance sensor.
      5. Move the target board SYMBOL as necessary so that center of target board aligns with center of distance sensor.
      6. Turn the laser assembly OFF when done.

    Are using Hunter alignment equipment?

    YES>>

    Refer to Hunter's equipment instructions for complete vehicle set up and target board setting. Then. Refer to Distance Sensor Adjustment.

    NO>>

    GO TO 2.

  2. INSTALLING LASER ASSEMBLY 
      NOTE: SYMBOL
      • Insure the steering wheel is positioned in the center straight forward position.
      • Insure all 4 vehicle wheels do not contain any physical damage.
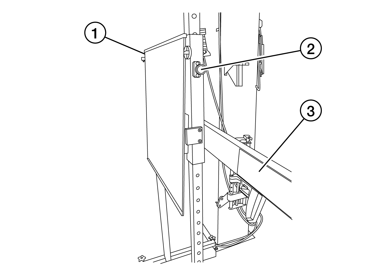
      1. Install the wheel adapter SYMBOL on the right front wheel.
        GNSDB112333Courtesy of NISSAN NORTH AMERICA, INC.
      2. Mount the laser assembly SYMBOL to the wheel adapter SYMBOL as shown in the figure.
        NOTE: SYMBOL When the power switch is turned ON, the front laser signal SYMBOL will be emitted toward the front target board, and the rear laser signal SYMBOL will be emitted toward the rear of the vehicle.

    >>

    GO TO 3.

  3. SETTING UP REAR STAND 
      1. Place the rear stand next to the right rear tire as shown in the figure.
        GNSDB33147Courtesy of NISSAN
      2. Turn the laser assembly ON allowing the laser beam to be emitted through the front and rear laser assembly openings.
      3. Measure and record the distance (D

      r

      ) between the edge of the right rear wheel and the laser beam SYMBOL on the rear stand (horizontal line).

    1. Measure and record the height (Hr

      ) between the laser beam SYMBOL on the rear stand and ground level (vertical line).

    2. Measure and record the distance (Df

      ) between the edge of the right front wheel and the laser beam signal/opening SYMBOL on the laser assembly (horizontal line).

      GNSDB35439Courtesy of NISSAN
    3. Measure and record the height (Hf

      ) between the laser beam signal/opening SYMBOL on the laser assembly and ground level (vertical line).

      NOTE: SYMBOL
      • Horizontal adjustment [front distance (Dfr )
      • Vertical adjustment [front height (Hfr )
      • Directional arrows SYMBOL and SYMBOL are shown to illustrate the direction of the laser assembly beams.
    4. Adjust laser beam as necessary until the two distances match and the two heights match.
      NOTE: SYMBOL Must be verify both horizontal and vertical adjustments anytime one adjustment is made.

>>

Refer to Setting The Target Board.

Setting The Target Board 

Accurate adjustment of the radar alignment requires that the target board be accurately positioned.

CAUTION:

If the radar alignment is adjusted with the target board in the incorrect position, the AEB/I-FCW systems will not function properly or the alignment procedure may not be completed successfully.

  1. TARGET BOARD FINAL SETTING 
      1. With the target board arm extended, the laser beam SYMBOL emitted by the laser assembly SYMBOL will be reflected back SYMBOL toward the laser assembly.
        GNSDB33431Courtesy of NISSAN
        NOTE: SYMBOL When adjusted properly, reflected laser beam SYMBOL must align with emitted laser beam SYMBOL and the two laser beams will be seen as one.
      2. Rotate the target board to achieve the necessary horizontal adjustment.
      3. Adjust the target board leveling screws to achieve the necessary vertical adjustment.
      4. The figure shown illustrates the laser beam SYMBOL emitted by the laser assembly SYMBOL and its reflection SYMBOL off of the target board arm.
        GNSDB32943Courtesy of NISSAN

    >>

    GO TO 2.

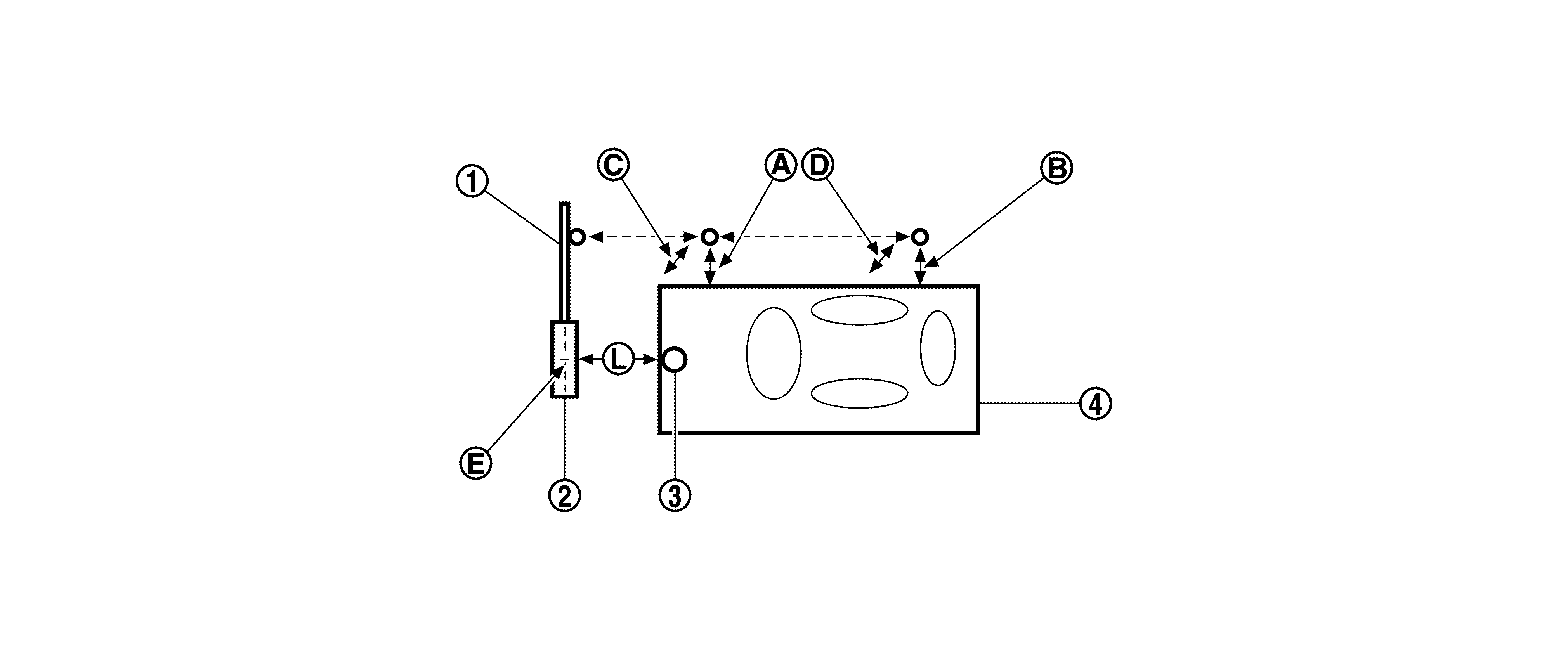
  2. CHECK THE POSITION OF THE TARGET BOARD 
    1. Do not place anything other than the target board in the space shown in front of the vehicle (view from top).
      GNSDB32981Courtesy of NISSAN
      SYMBOL Target board arm SYMBOL Target board SYMBOL Distance sensor
      SYMBOL Vehicle        
      SYMBOL Distance between front wheel and laser beam (D

      f)

      SYMBOL Distance between rear wheel and laser beam (D

      r)

      SYMBOL Height between front laser beam and ground (H

      f)

      SYMBOL Height between rear laser beam and ground (H

      r)

      SYMBOL Target board center position SYMBOL 1010 - 1110 mm (39.76 - 43.7 in)

    >>

    Refer to Distance Sensor Adjustment.

Distance Sensor Adjustment 

The radar alignment is performed automatically with CONSULT.

CAUTION:

Perform all necessary work for radar alignment until the adjustment completes as shown in the procedure. If the procedure does not complete, the AEB/I-FCW systems are inoperable.

  1. PERFORM RADAR ALIGNMENT 
      1. Start the engine.
      2. Connect CONSULT and select "Work support" of "LASER/RADAR".
      3. Select "MILLIWAVE RADAR ADJUST".
        NOTE: SYMBOL Confirm the following items;
        • The target should be accurately placed.
        • The vehicle should be stopped.
      4. Select "Start" after the conditions displayed on CONSULT are satisfied.
        CAUTION:

        Never select "Start" when the target is not accurately placed.

      5. Select "Next" after the "Radar alignment conditions are ready." screen is displayed.
        NOTE: SYMBOL If the radar is in alignment at this time, "In progress" is displayed. It may take several 10s of seconds until the result is displayed.
      6. Confirm the displayed item.
        • "Completed.": Go to 7.
        • Except "Completed.": Perform the following services.
          Displayed item Possible cause Service procedure
          Alignment result is over threshold.
          • DTC is detected
          • The position of the target board is incorrect
          • Vehicle is moving
          Check the vehicle alignment condition and perform radar alignment again
          Horizontal value is over threshold.Check the condition.Perform the adjust again.
          • DTC is detected
          • The position of the target board is shifted horizontally
          • Vehicle is moving
          Check the vehicle alignment condition and perform radar alignment again
          Vertical value is over threshold.Check the condition.Perform the adjust again.
          • DTC is detected
          • The position of the target board is shifted vertically
          • Vehicle is moving
          Check the vehicle alignment condition and perform radar alignment again
          Horizontal value and Vertical value are over threshold.Check the condition.Perform the adjust again.
          • DTC is detected
          • The position of the target board is shifted horizontally and vertically
          • Vehicle is moving
          Check the vehicle alignment condition and perform radar alignment again
          This display direction is looking from driver seat side.
          NOTE: SYMBOL This is not an error message, so service procedures are not required.
          Target is not detected. (Reflection radio waves is weak.)Reconfirm the placing condition, and then re-perform adjustment.
          • A target is not-yet -placed
          • The position of the target board is incorrect
          • The position of the distance sensor is incorrect
          Check the vehicle alignment condition and perform radar alignment again
          Target setting is offset in horizontal direction. Reconfirm the placing condition. And then re-perform adjustment or re-install the radar.
          • The position of the target board is shifted horizontally
          • The position of the distance sensor is shifted horizontally
          Check the vehicle alignment condition and perform radar alignment again
          Target setting is offset in vertical direction. Reconfirm the placing condition. And then re-perform adjustment or re-install the radar.
          • The position of the target board is shifted vertically
          • The position of the distance sensor is shifted vertically
          Check the vehicle alignment condition and perform radar alignment again
          EEPROM writing is error. Re-perform adjustment or replace the ECU.
          • The condition of the alignment is incorrect
          • Distance sensor malfunction
          • Check the vehicle alignment condition and perform radar alignment again
          • If same massage displays again, replace the distance sensor
          Hardware is imperfect. Replace the ECU. Distance sensor hardware has trouble for alignment Replace the distance sensor
          Signal of vehicle side is imperfect or combination of ECU is incorrect. Diagnose the other ECU. Other ECU except distance sensor have trouble for alignment
          • Check if any DTC is detected in "Self Diagnostic Result" of other ECU except distance sensor
          • If any DTC is not detected, replace the distance sensor
          Software is incorrect. Replace the ECU. Distance sensor software is incorrect Replace the distance sensor
      7. Confirm displayed value.
        Displayed item Monitor item Reference value
        Completed Vertical Angle Radar angle "DownW" or "UpW"
        Vertical Angle Radar measurement result (- 2.50) - (+ 3.00)
        Horizontal Angle Radar angle "LeftW" or "RightW"
        Horizontal Angle Radar measurement result Less than 0 ± 4.00 deg
        Alignment complete
        • Within reference value: Go to 8.
        • Outside of reference value: Check the target board condition and perform radar alignment again.
          NOTE: SYMBOL
          • Check the condition of the distance sensor installation.
          • Check the vehicle for damage.
          • Replace distance sensor if it is outside the reference value, even when distance sensor installation is installed normally and the vehicle is not damaged.
      8. Select "End".
        CAUTION:

        Once "MILLIWAVE RADAR ADJUST" is started with CONSULT, always continue the work until the horizontal radar alignment is completed successfully. If the job is stopped midway, the radar alignment is not adjusted and the AEB/I-FCW systems cannot operate.

    >>

    RADAR ALIGNMENT END