LEMON Manuals: Even more car manuals for everyone: 1960-2025
Home >> Nissan-Datsun >> 2023 >> Sentra S >> Repair and Diagnosis (Single Page) >> Electrical >> Body Electrical >> Power Control System (IPDM E/R) >> System Description >> System >> Power Control System >> System Description
April 5, 2026: LEMON Manuals is launched! Read the announcement.

System Description

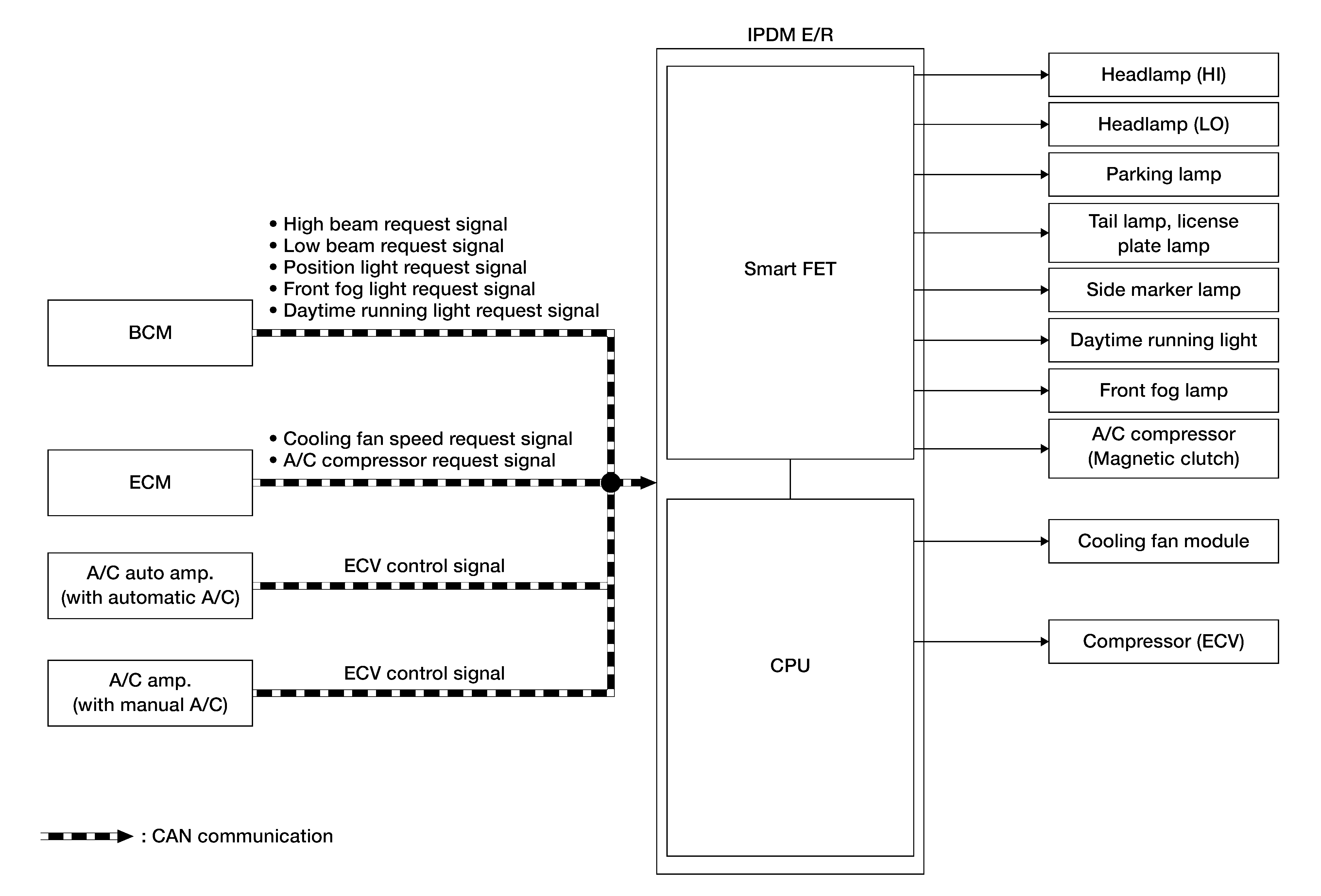
SYSTEM DIAGRAM 

GNSDB47545Courtesy of NISSAN
Description

Component Function
Smart FET Refer to Component Description .
Headlamp (HI) The IPDM E/R supplies power supply voltage to each lamp, and turns the each lamp ON.
Headlamp (LO)
Parking lamp
Tail lamp, license plate lamp
Daytime running light
Front fog lamp
A/C compressor (magnetic clutch) The IPDM E/R supplies power supply voltage to the A/C compressor (magnetic clutch), and turns the magnet clutch ON.
Cooling fan module The IPDM E/R controls each actuator.
Compressor (ECV)

INPUT SIGNAL AND OUTPUT SIGNAL 

Major signal transmission between each unit via communication lines is shown in the following table:

Component parts Signal description
BCM The BCM transmits the ON/OFF request signal for each lamp to IPDM E/R via CAN communication.
ECM
  • The ECM calculates the cooling level, and transmits the cooling fan speed request signal to the IPDM E/R via CAN communication.
  • The ECM transmits the A/C compressor request signal to the IPDM E/R via CAN communication according to the status of the engine and refrigerant pressure.
A/C auto amp. 1 The A/C auto amp. 1 or A/C amp. 2 transmits the ECV control signal to the IPDM E/R via CAN communication.
A/C amp. 2
IPDM E/R
  • The IPDM E/R controls the Smart FET to control each lamp according to the control signal status of each lamp received from the BCM via CAN communication. Refer to the following:
  • The IPDM E/R controls the Smart FET to control the A/C compressor (magnetic clutch) according to the A/C compressor request signal received from the ECM via CAN communication. Refer to System Description (automatic A/C) or System Description (manual A/C).
  • The IPDM E/R controls the cooling fan module according to the cooling fan speed request signal received from the ECM via CAN communication. Refer to System Description .
  • The IPDM E/R controls the ECV (Electrical Control Valve) according to the ECV control signal received from the A/C auto amp. 1 or A/C amp. 2 via CAN communication. Refer to System Description (automatic A/C) or System Description (manual A/C).

1: Automatic A/C

2: Manual A/C