LEMON Manuals: Even more car manuals for everyone: 1960-2025
Home >> Nissan-Datsun >> 2023 >> Z Performance, Automatic Trans >> Repair and Diagnosis >> Engine Performance >> Engine Control Systems >> Engine Control System (1 Of 2) >> Basic Inspection >> Fuel Pressure Check >> Work Procedure
April 5, 2026: LEMON Manuals is launched! Read the announcement.

Work Procedure

FUEL PRESSURE RELEASE 

  1. FUEL PRESSURE RELEASE 

    SYMBOL With CONSULT

    1. Turn ignition switch ON.
    2. Select ENGINE using CONSULT.
    3. Perform "FUEL PRESSURE RELEASE" in "WORK SUPPORT" mode.
    4. Start engine.
    5. After engine stalls, crank it two or three times to release all fuel pressure.
    6. Turn ignition switch OFF.

    SYMBOL Without CONSULT

    1. Remove fuel pump fuse.
      NOTE: SYMBOL
      • For the fuse number, Refer to Wiring Diagram .
      • For the fuse arrangement.
    2. Start engine.
    3. After engine stalls, crank it two or three times to release all fuel pressure.
    4. Turn ignition switch OFF.
    5. Reinstall fuel pump fuse after servicing fuel system.

    >>

    INSPECTION END

LOW FUEL PRESSURE CHECK 

CAUTION:
  • Before disconnecting fuel line, release fuel pressure from fuel line to eliminate danger.
  • The fuel hose connection method used when taking fuel pressure check must not be used for other purposes.
  • Be careful not to scratch or put debris around connection area when servicing, so that the quick connector maintains sealability with O-rings inside.
  • Do not perform fuel pressure check with electrical systems operating (i.e. lights, rear defogger, A/C, etc.) Fuel pressure gauge may indicate false readings due to varying engine load and changes in manifold vacuum.
NOTE: SYMBOL Prepare pans or saucers under the disconnected fuel line because the fuel may spill out. The fuel pressure cannot be completely released because this model does not have fuel return system.
  1. FUEL PRESSURE CHECK 
    1. Release fuel pressure to zero.
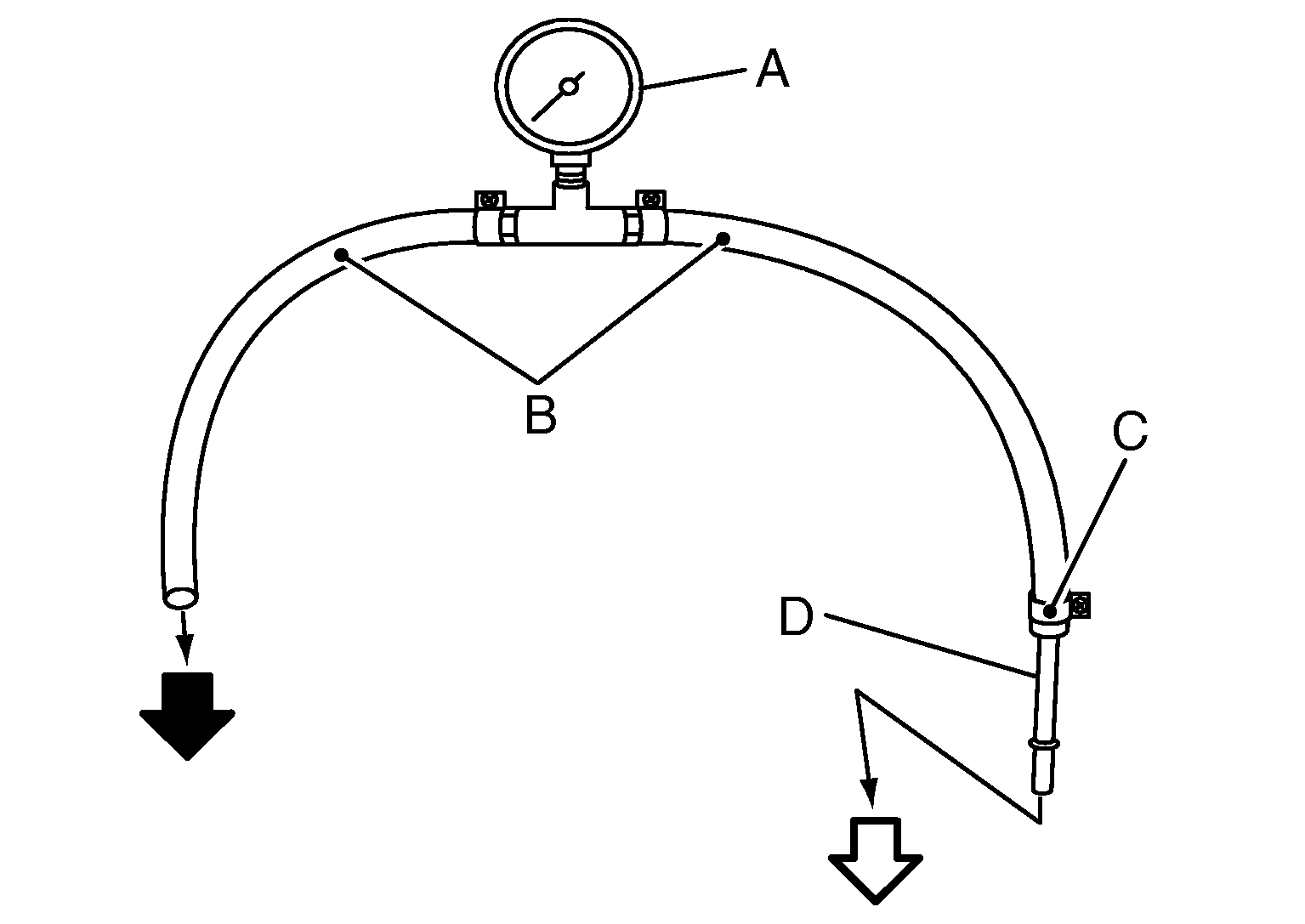
    2. Prepare fuel hose for fuel pressure check (B) and fuel tube adapter [SST: KV10120000 (-)] (D), then connect fuel pressure gauge (commercial service tool) (A).
      GNSDB107788Courtesy of NISSAN NORTH AMERICA, INC.
      SYMBOL : To quick connector
      SYMBOL : To fuel tube (engine side)
      C : Clamp
      CAUTION:
      • Use suitable fuel hose for fuel pressure check (genuine NISSAN fuel hose without quick connector).
      • To avoid unnecessary force or tension to hose, use moderately long fuel hose for fuel pressure check.
      • Do not use the fuel hose for checking fuel pressure with damage or cracks on it.
      • Use Pressure Gauge to check fuel pressure.
    3. Remove fuel hose.
      CAUTION:

      Do not twist or kink fuel hose because it is plastic hose.

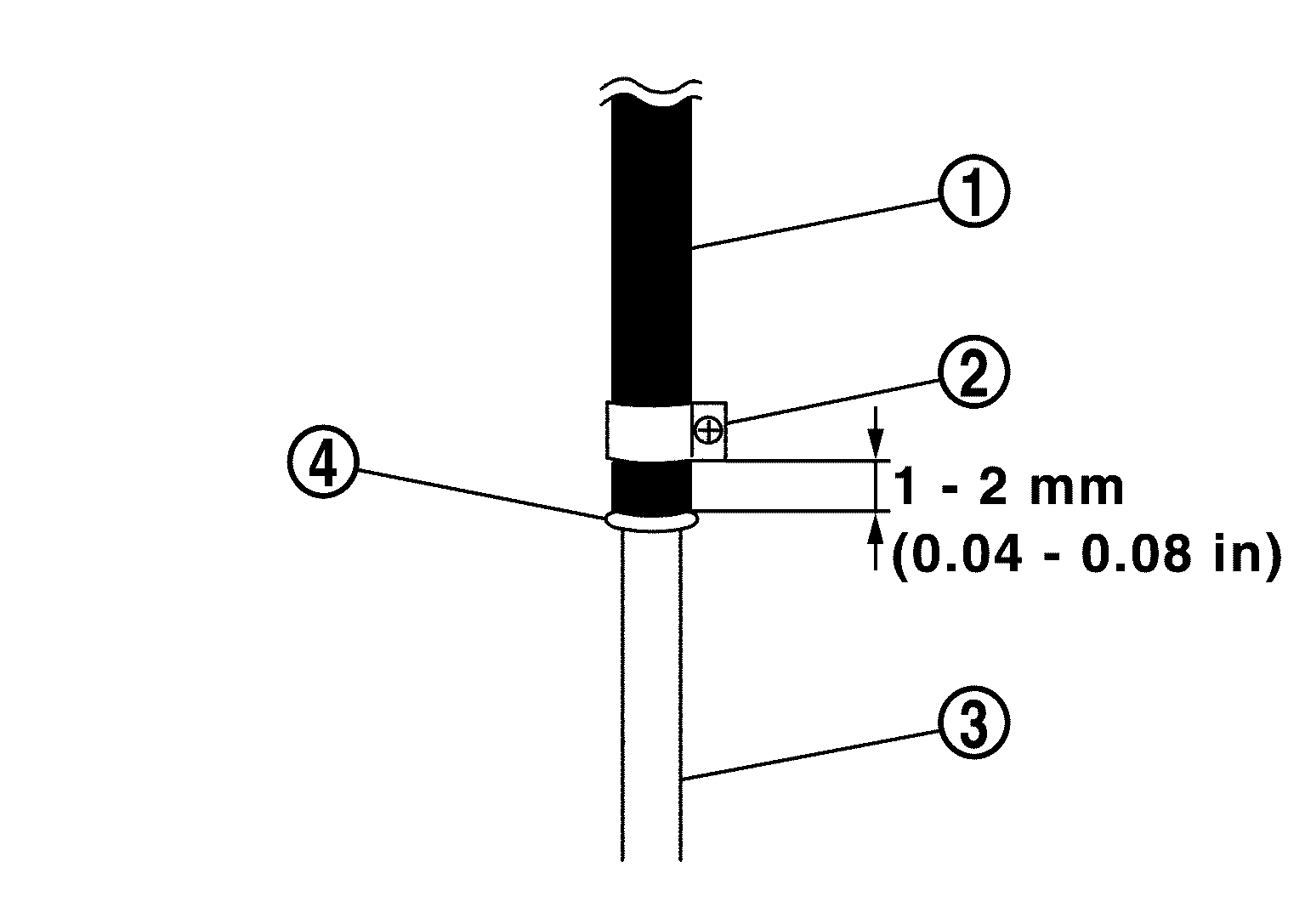
    4. Connect fuel hose for fuel pressure check (1) to fuel tube (engine side) (3) with clamp (2) as shown in the figure, below.
      GNSDB107343Courtesy of NISSAN NORTH AMERICA, INC.
      CAUTION:
      • Wipe off oil or dirt from hose insertion part using cloth moistened with gasoline.
      • Apply proper amount of gasoline between top of the high pressure fuel pump (3) and spool (4).
      • Insert fuel hose for fuel pressure check until it touches the spool on high pressure fuel pump.
      • Use NISSAN genuine hose clamp (part number: 16439 N4710 or 16439 40U00).
      • When reconnecting fuel line, always use new clamps.
      • Use a torque driver to tighten clamps.
        Tightening torque: 1.0 - 1.5 N.m (0.1 - 0.15 kg-m, 9 - 13 in-lb)
      • Install hose clamp to the position within 1 - 2 mm (0.04 - 0.08 in).
      • Make sure that clamp screw does not contact adjacent parts.
      • After connecting fuel hose for fuel pressure check, pull the hose with a force of approximately 98 N (10 kg, 22 lb) to confirm high pressure fuel pump does not come off.
    5. Connect fuel tube adapter to quick connector.
      GNSDB148929Courtesy of NISSAN NORTH AMERICA, INC.
      A : Fuel pressure gauge
    6. Turn ignition switch ON and check for fuel leakage.
    7. Start engine and check for fuel leakage.
    8. Stop the engine.
    9. Turn ignition switch ON and read the indication of fuel pressure gauge.
      CAUTION:
      • Do not perform fuel pressure check with system operating. Fuel pressure gauge may indicate false readings.
      • During fuel pressure check, confirm for fuel leakage from fuel connection every 3 minutes.
      At ignition switch ON : Approximately 450 kPa (4.5 bar, 4.59 kg/cm2 , 65.25 psi)

    Is the inspection result normal?

    YES>>

    INSPECTION END

    NO>>

    GO TO 2.

  2. CHECK FUEL HOSES 

    Check the following.

    • Fuel hoses for clogging
    • Fuel filter for clogging
    • Low pressure fuel pump
    • Fuel pressure regulator for clogging

    Is the inspection result normal?

    YES>>

    Replace fuel pressure regulator.

    NO>>

    Repair or replace error-detected parts.

HIGH FUEL PRESSURE CHECK 

NOTE: SYMBOL Since the fuel pressure gauge kit cannot be connected, follow the method shown below to check high fuel pressure.

SYMBOL WITH CONSULT

  1. Start engine.
  2. Check "FUEL PRES SEN" in "DATA MONITOR" mode with CONSULT.
    Monitor Item Condition Values/Status
    FUEL PRES SEN V Idle 0.7 - 1.0 V
    2, 000 RPM 0.6 - 1.0 V

SYMBOL WITHOUT CONSULT

  1. Start the engine.
  2. Check fuel rail pressure sensor signal voltage.
+ - Condition Value (Approx.)
Fuel rail pressure sensor
Connector Terminal
F32 2 Ground Engine speed: idle 0.7 - 1.0 V
2, 000 RPM 0.6 - 1.0 V