LEMON Manuals: Even more car manuals for everyone: 1960-2025
Home >> Nissan-Datsun >> 2023 >> Z Performance, Automatic Trans >> Repair and Diagnosis >> Steering >> Steering Control Systems >> Steering Control System >> System Description >> System >> EPS System >> Circuit Diagram
April 5, 2026: LEMON Manuals is launched! Read the announcement.

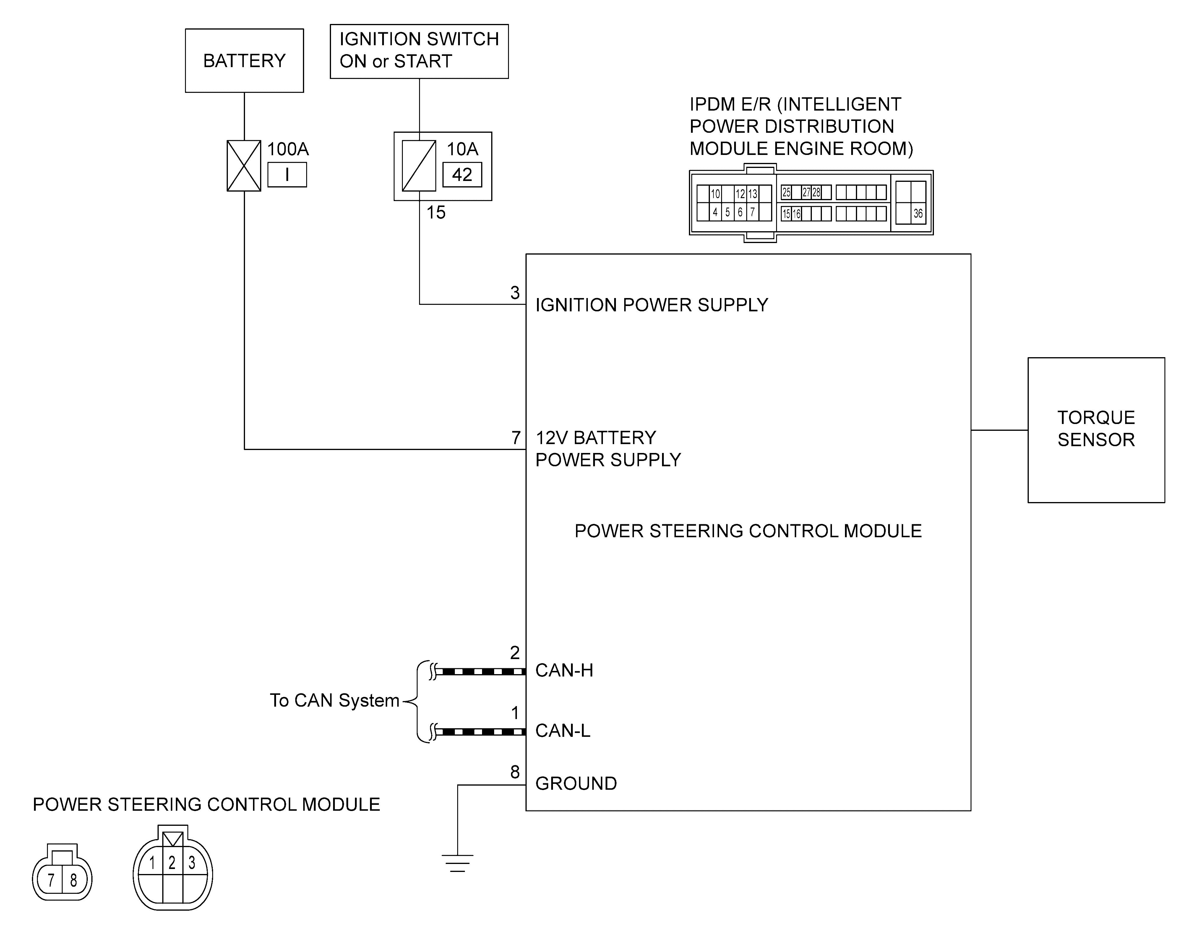
Circuit Diagram

GNSDB154689Courtesy of NISSAN NORTH AMERICA, INC.