LEMON Manuals: Even more car manuals for everyone: 1960-2025
Home >> Nissan-Datsun >> 2024 >> Frontier PRO-4X >> Repair and Diagnosis >> Restraints >> Restraints Control Systems >> SRS Air Bag Control System >> System Description >> System >> Occupant Classification System >> System Diagram
April 5, 2026: LEMON Manuals is launched! Read the announcement.

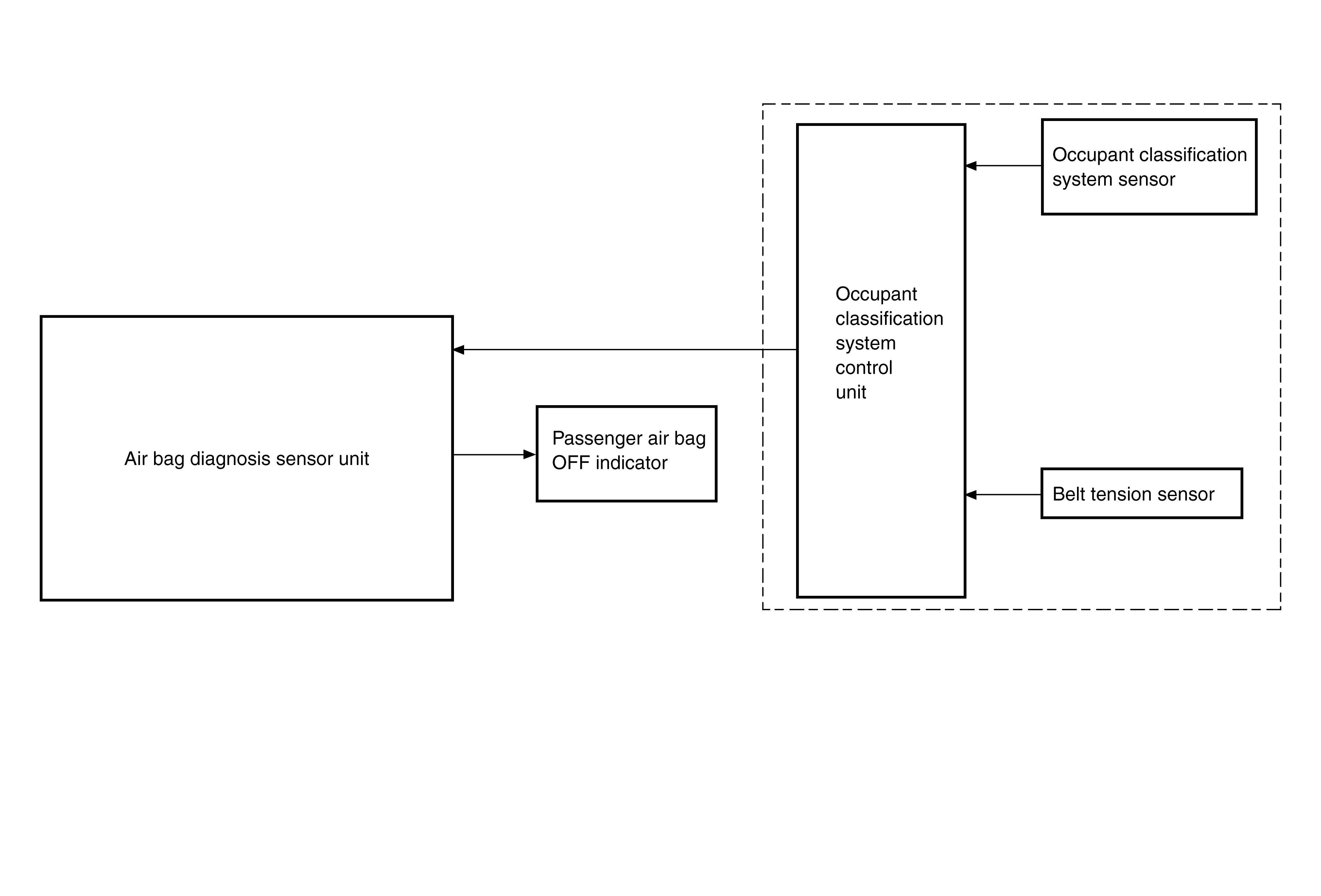
System Diagram

GNSDB134843Courtesy of NISSAN NORTH AMERICA, INC.