LEMON Manuals: Even more car manuals for everyone: 1960-2025
Home >> Nissan-Datsun >> 2024 >> Kicks S >> Repair and Diagnosis >> Engine Performance >> Engine Control Systems >> Engine Control System (1 Of 2) >> Basic Inspection >> Fuel Pressure Check >> Work Procedure
April 5, 2026: LEMON Manuals is launched! Read the announcement.

Work Procedure

FUEL PRESSURE RELEASE 

  1. FUEL PRESSURE RELEASE 

    SYMBOL With CONSULT

    1. Turn ignition switch ON.
    2. Perform "FUEL PRESSURE RELEASE" in "WORK SUPPORT" mode with CONSULT.
    3. Start engine.
    4. After engine stalls, crank it two or three times to release all fuel pressure.
    5. Turn ignition switch OFF.

    SYMBOL Without CONSULT

    1. Remove fuel pump fuse located in IPDM E/R.
    2. Start engine.
    3. After engine stalls, crank it two or three times to release all fuel pressure.
    4. Turn ignition switch OFF.
    5. Reinstall fuel pump fuse after servicing fuel system.

    >>

    INSPECTION END

FUEL PRESSURE CHECK 

  1. FUEL PRESSURE CHECK 
    CAUTION:
    • Before disconnecting fuel line, release fuel pressure from fuel line to eliminate danger.
    • The fuel hose connection method used when taking fuel pressure check must not be used for other purposes.
    • Be careful not to scratch or put debris around connection area when servicing, so that the quick connector maintains seal ability with O-rings inside.
    • Do not perform fuel pressure check with electrical systems operating (i.e. lights, rear defogger, A/C, etc.) Fuel pressure gauge may indicate false readings due to varying engine load and changes in manifold vacuum.
    NOTE: SYMBOL Prepare pans or saucers under the disconnected fuel line because the fuel may spill out. The fuel pressure cannot be completely released because this models do not have fuel return system.
    1. Release fuel pressure to zero.
    2. Prepare fuel hose for fuel pressure check (B) and fuel tube adapter [SST: KV10120000] (D), then connect fuel pressure gauge (A).
      GNSDB108868Courtesy of NISSAN NORTH AMERICA, INC.
      SYMBOL To quick connector
      SYMBOL To fuel tube (engine side)
      C : Hose clamp
      CAUTION:
      • Use suitable fuel hose for fuel pressure check (genuine NISSAN fuel hose without quick connector).
      • To avoid unnecessary force or tension to hose, use moderately long fuel hose for fuel pressure check.
      • Do not use the fuel hose for checking fuel pressure with damage or cracks on it.
      • Use Pressure Gauge to check fuel pressure.
    3. Remove fuel hose.
      CAUTION:

      Do not twist or kink fuel hose because it is plastic hose.

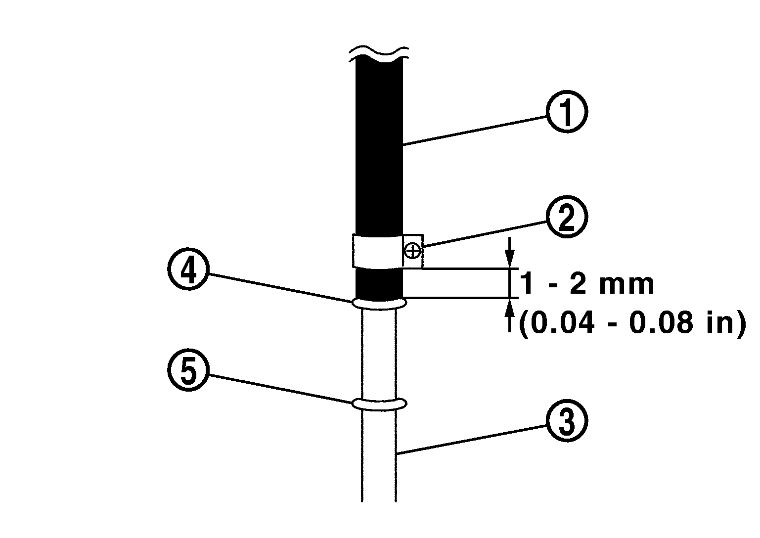
    4. Connect fuel hose for fuel pressure check (1) to fuel tube (engine side) with clamp (2) as shown in the figure, below.
      GNSDB110192Courtesy of NISSAN NORTH AMERICA, INC.
      5 : No. 2 spool
      CAUTION:
      • Wipe off oil or dirt from hose insertion part using cloth moistened with gasoline.
      • Apply proper amount of gasoline between top of the fuel tube (3) and No. 1 spool (4).
      • Insert fuel hose for fuel pressure check until it touches the No. 1 spool on fuel tube.
      • Use NISSAN genuine hose clamp (part number: 16439 N4710 or 16439 40U00).
      • When reconnecting fuel line, always use new clamps.
      • Use a torque driver to tighten clamps.
      • Install hose clamp to the position within 1 - 2 mm (0.04 - 0.08 in).
        Tightening torque : 1 - 1.5 N.m (0.1 - 0.15 kg-m, 9 - 13 in-lb)
      • Make sure that clamp screw does not contact adjacent parts.
    5. Connect fuel tube adapter to quick connector (1).
      GNSDB109259Courtesy of NISSAN NORTH AMERICA, INC.
      A : Fuel pressure gauge
    6. After connecting fuel hose for fuel pressure check, pull the hose with a force of approximately 98 N (10 kg, 22 lb) to confirm fuel tube does not come off.
    7. Turn ignition switch ON and check for fuel leakage.
    8. Start engine and check for fuel leakage.
    9. Read the indication of fuel pressure gauge.
      CAUTION:
      • Do not perform fuel pressure check with system operating. Fuel pressure gauge may indicate false readings.
      • During fuel pressure check, confirm for fuel leakage from fuel connection every 3 minutes.
      At idling : Approximately 350 kPa (3.5 bar, 3.57 kg/cm2, 51 psi)

    Is the inspection result normal?

    >>

    INSPECTION END

    >>

    GO TO 2.

  2. CHECK FUEL HOSE AND FUEL TUBE 

    If result is unsatisfactory, check fuel hoses and fuel tubes for clogging.

    Is the inspection result normal?

    >>

    Replace "fuel filter and fuel pump assembly". Refer to Exploded View - Without FFV .

    >>

    Repair or replace.