LEMON Manuals: Even more car manuals for everyone: 1960-2025
Home >> Nissan-Datsun >> 2024 >> Kicks S >> Repair and Diagnosis >> Engine Performance >> Engine Control Systems >> Engine Control System (2 Of 2) >> Removal And Installation >> Electric Intake Valve Timing Control Module >> Exploded View
April 5, 2026: LEMON Manuals is launched! Read the announcement.

Exploded View

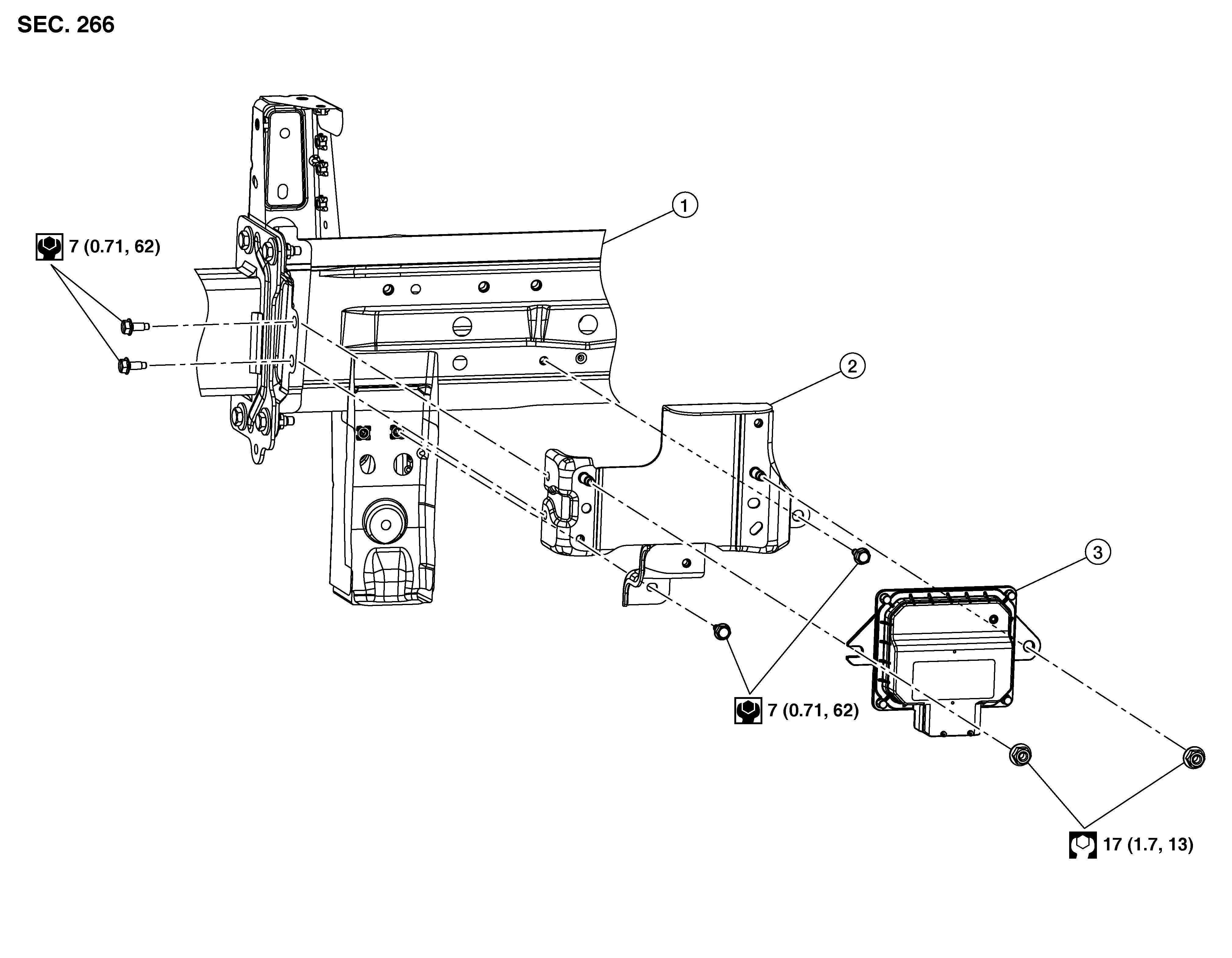
Fig 1: Electric Intake Valve Timing Control Module With Torque Specifications
GNSDB111392Courtesy of NISSAN NORTH AMERICA, INC.
1. Side member 2. Electric intake valve timing control module bracket 3. Electric intake valve timing control module