System Description
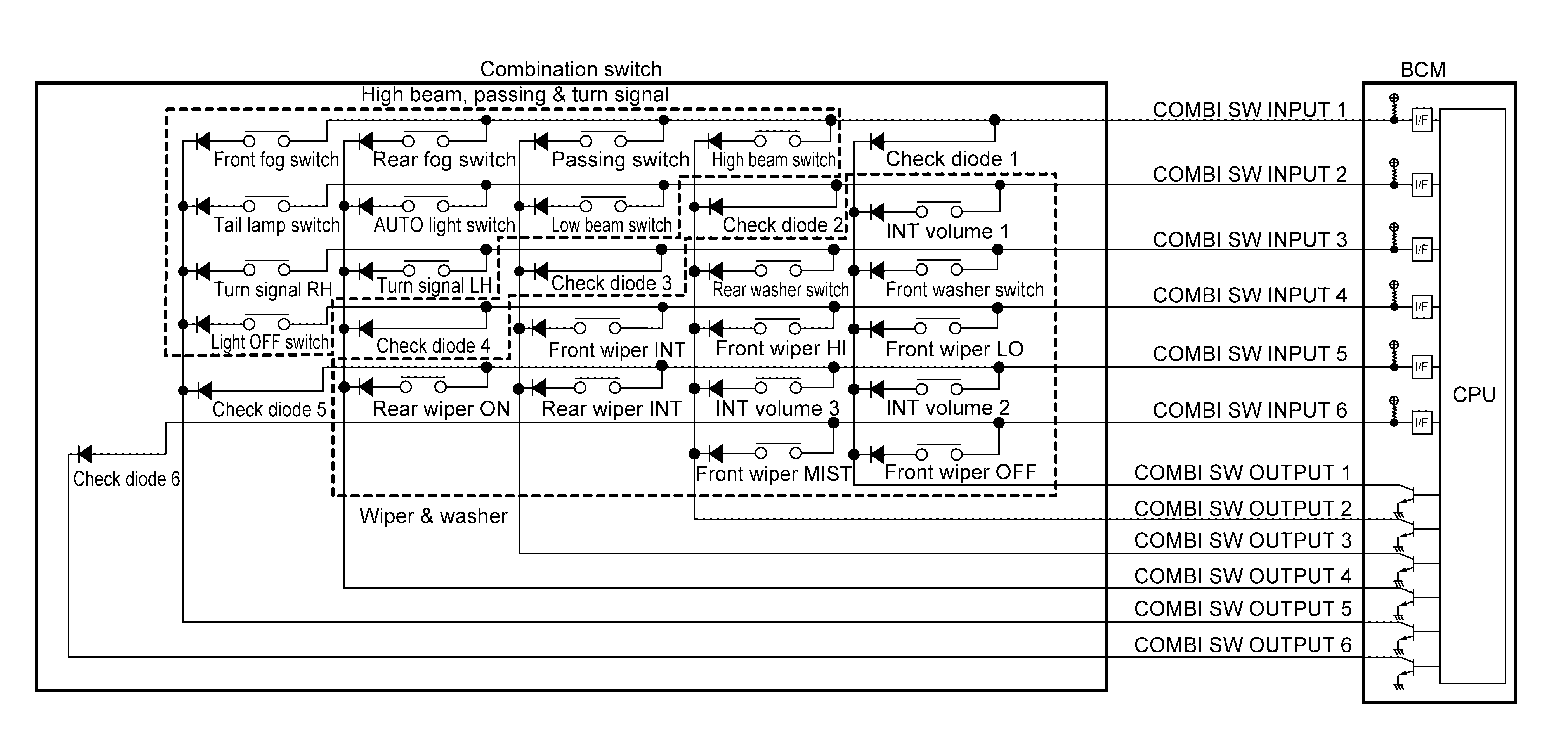
SYSTEM DIAGRAM
OUTLINE
- The BCM reads the status of the combination switch and recognizes the status of each switch.
- The BCM has a combination of 6 input terminals (INPUT 1 - 6) and 6 output terminals (OUTPUT 1 - 6) and reads a maximum of 22 switch states.
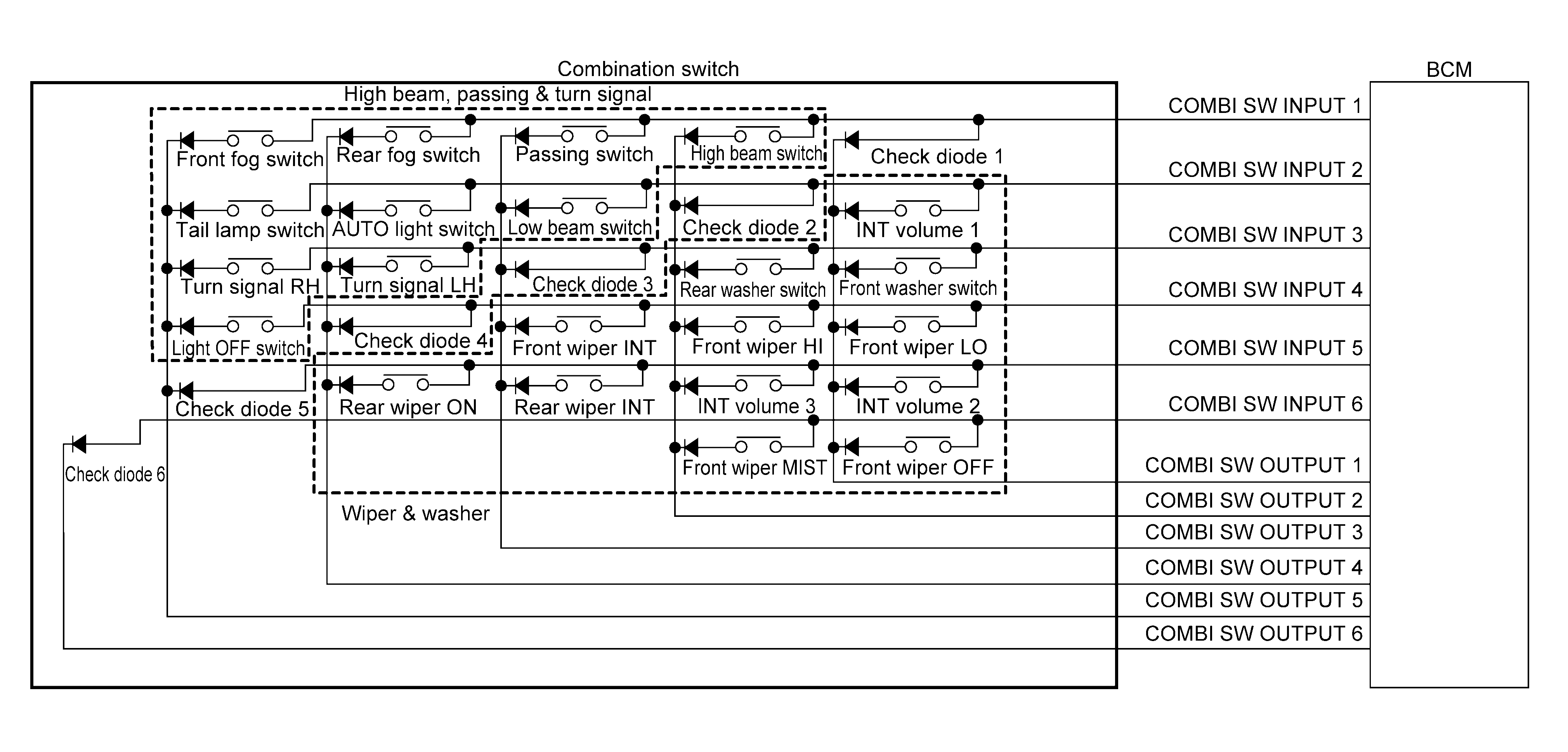
COMBINATION SWITCH MATRIX
Combination switch INPUT-OUTPUT system list
| System | INPUT 1 | INPUT 2 | INPUT 3 | INPUT 4 | INPUT 5 | INPUT 6 |
|---|---|---|---|---|---|---|
| OUTPUT 1 | Check diode 1 | INT volume 1 | Front washer switch | Front wiper LO | INT volume 2 | Front wiper OFF |
| OUTPUT 2 | High beam switch | Check diode 2 | Rear washer switch | Front wiper HI | INT volume 3 | Front wiper MIST |
| OUTPUT 3 | Passing switch | Low beam switch | Check diode 3 | Front wiper INT | Rear wiper INT | - |
| OUTPUT 4 | Rear fog switch | AUTO light switch | Turn signal LH | Check diode 4 | Rear wiper ON | - |
| OUTPUT 5 | Front fog switch | Tail lamp switch | Turn signal RH | Light OFF switch | Check diode 5 | - |
| OUTPUT 6 | - | - | - | - | - | Check diode 6 |
COMBINATION SWITCH READING FUNCTION
Description
- The BCM reads the status of the combination switch at 10 ms intervals normally.
- The BCM operates as follows and judges the status of the combination switch:
- It operates the transistor on INPUT side in the following order: OUTPUT 6-> 5 -> 4 -> 3 -> 2 -> 1, and outputs voltage waveform.
- The voltage waveform of OUTPUT corresponding to the formed circuit is input into the interface on the INPUT side if any (1 or more) switches are ON.
- It reads this change of the voltage as the status signal of the combination switch.
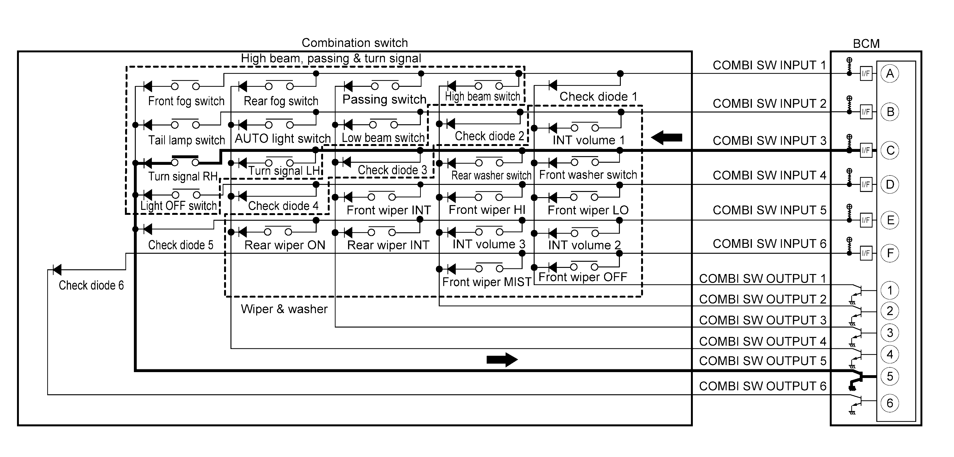
Operation Example
In the following operation example, the combination of the status signals of the combination switch is replaced as follows: INPUT 1 - 6 to "
-
" and OUTPUT 1 - 6 to "
-
".
Example 1: When a switch (Turn signal RH) is turned ON
- The circuit between INPUT 3 (
) and OUTPUT 5 (
) is formed when the Turn signal RH is turned ON.
- The BCM detects the combination switch status signal "
" when the signal of INPUT 3 is input to OUTPUT 5.
- The BCM judges that the Turn signal RH is ON when the signal "
" is detected.
Example 2: When multiple switches (Front fog switch, Turn signal RH) are turned ON
- The circuits between INPUT 1 (
) and OUTPUT 5 (
) and between INPUT 3 (
) and OUTPUT 5 (
) are formed when the Front fog switch and Turn signal RH are turned ON.
- The BCM detects the combination switch status signal "
" when the signals of INPUT 1 and INPUT 3 are input to OUTPUT 5.
- The BCM judges that the Front fog switch and Turn signal RH are ON when the signal "
" is detected.
WIPER INTERMITTENT DIAL POSITION (WITH WIPER INTERMITTENT DIAL POSITION)
The BCM judges the wiper intermittent dial 1 - 5 by the status of INT volume 1, 2 and 3 switches.
| Wiper Intermittent Dial Position | Switch Status | ||
|---|---|---|---|
| INT volume 1 | INT volume 2 | INT volume 3 | |
| 1 | ON | ON | OFF |
| 2 | ON | OFF | OFF |
| 3 | OFF | OFF | OFF |
| 4 | OFF | OFF | ON |
| 5 | OFF | ON | ON |
NOTE:
For details of wiper intermittent dial position: Refer to System Description
.