LEMON Manuals: Even more car manuals for everyone: 1960-2025
Home >> Nissan-Datsun >> 2024 >> Sentra SV >> Repair and Diagnosis >> Steering >> Steering Column >> Steering System >> Service Data And Specifications (SDS) >> Service Data And Specifications (SDS) >> Steering Column
April 5, 2026: LEMON Manuals is launched! Read the announcement.

Steering Column

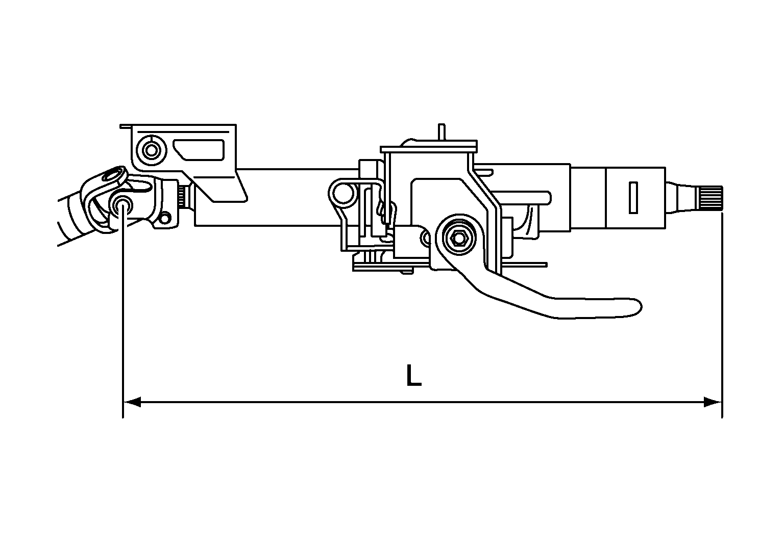
STEERING COLUMN LENGTH 

Unit: mm (in)

 
GNSDB133921Courtesy of NISSAN NORTH AMERICA, INC.
 
Steering column length Length (L) 462 (18.19)
Telescopic maximum 489 (19.25)
Telescopic minimum 435 (17.13)

TILT MECHANISM OPERATING RANGE 

Unit: mm (in)

 
GNSDB134172Courtesy of NISSAN NORTH AMERICA, INC.
 
Tilt mechanism operating range (A) 44 (1.73)
Telescopic mechanism operating range (B) 50 (1.97)
Rotating torque 0 - 1.8 N.m (0 -0.18 kg-m, 0 -15 in-lb)