LEMON Manuals: Even more car manuals for everyone: 1960-2025
Home >> Nissan-Datsun >> 2025 >> Rogue SL, AWD >> Repair and Diagnosis >> Steering >> Steering Column >> Steering System >> Unit Disassembly And Assembly >> Steering Gear And Linkage >> Disassembly and Assembly
April 5, 2026: LEMON Manuals is launched! Read the announcement.

Disassembly and Assembly

DISASSEMBLY (JAPAN PRODUCTION MODELS) 

CAUTION:

Disassemble and assemble steering gear assembly by fixing the mounting area with a vise using copper plates.

  1. Loosen inner socket lock nut (A).
    GNSDB108608Courtesy of NISSAN NORTH AMERICA, INC.
    CAUTION:

    To prevent damage, hold outer socket (1) across flats using suitable tool while loosening inner socket lock nut (A).

  2. Remove boot clamps, and then remove boot from inner socket and housing.
    CAUTION:

    Never damage inner socket part of gear housing assembly when removing boot. Steering gear assembly must be replaced if gear housing assembly are damaged because it may cause foreign material interfusion.

  3. Remove hole cover seal.
  4. Perform inspection after disassembly. Refer to Inspection .

DISASSEMBLY (NORTH AMERICA PRODUCTION MODELS) 

CAUTION:

Disassemble and assemble steering gear assembly by fixing the mounting area with a vise using copper plates.

  1. Loosen inner socket lock nut (A).
    GNSDB108608Courtesy of NISSAN NORTH AMERICA, INC.
    CAUTION:

    To prevent damage, hold outer socket (1) across flats using suitable tool while loosening inner socket lock nut (A).

  2. Remove boot clamps, and then remove boot from inner socket and housing.
    CAUTION:

    Never damage inner socket part of gear housing assembly when removing boot. Steering gear assembly must be replaced if gear housing assembly are damaged because it may cause foreign material interfusion.

  3. Remove the inner socket.
    CAUTION:

    To prevent damage to the steering gear when installing the inner socket, hold suitable tool (A) across steering gear flats (C) while turning suitable tool (B) across inner socket flats (D).

    GNSDB106364Courtesy of NISSAN NORTH AMERICA, INC.
  4. Remove hole cover seal.
  5. Perform inspection after disassembly. Refer to Inspection .

ASSEMBLY (JAPAN PRODUCTION MODELS) 

  1. Install hole cover seal to gear housing assembly.
  2. Apply recommended grease to part (A) of inner socket, and install boot to inner socket and gear housing.
    GNSDB131482Courtesy of NISSAN NORTH AMERICA, INC.

    Use Dow Corning 111 (manufactured by TOURE.DAUKONINGU) or equivalent. 

    CAUTION:

    Never reuse boot.

    Grease application position (Reference)
    B : 10 mm (0.39 in)
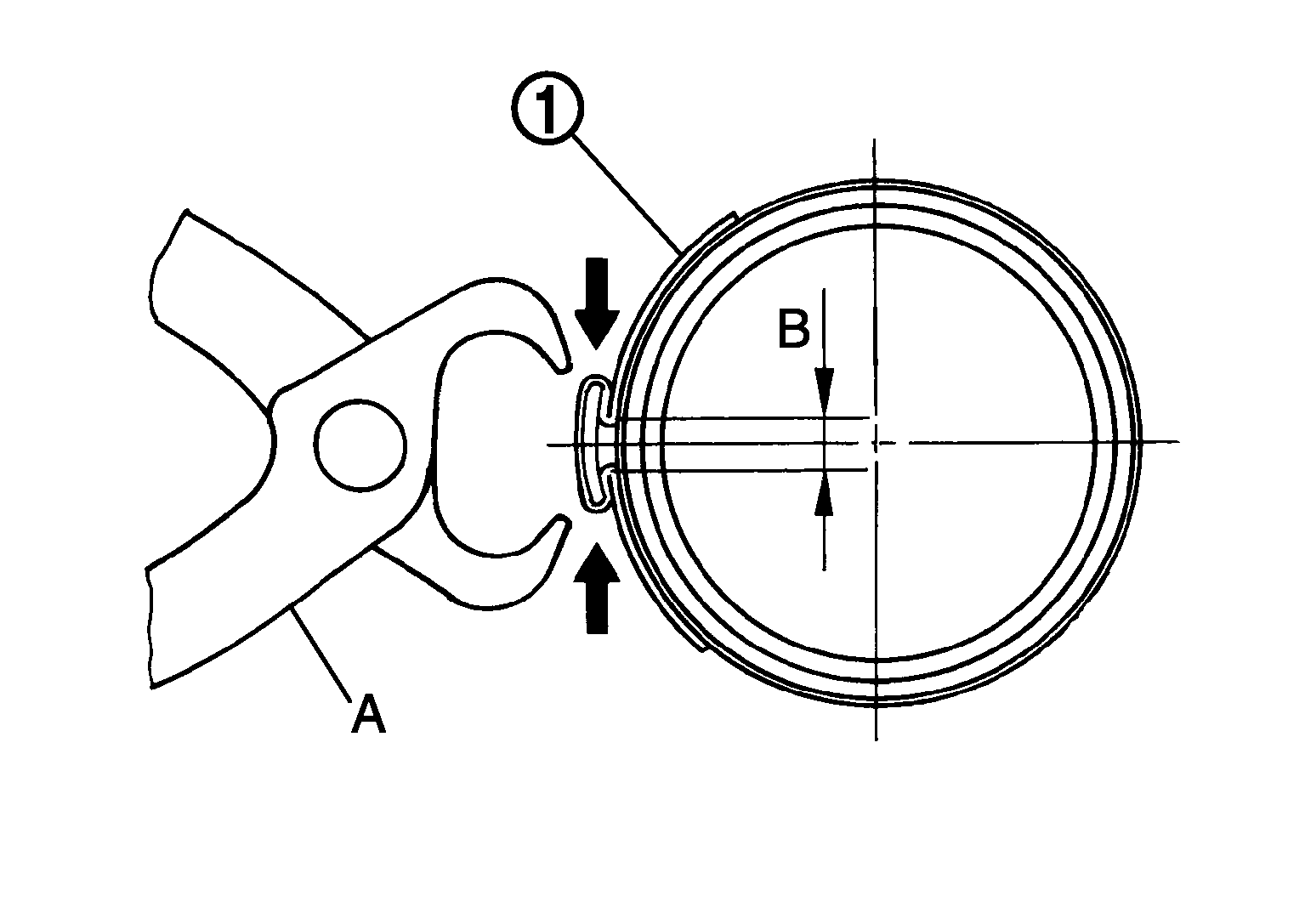
  3. Install boot clamp (large diameter) (1) to boot using boot band crimping tool (SST: KV40107300) (A).
    GNSDB132257Courtesy of NISSAN NORTH AMERICA, INC.
    CAUTION:
    • Never reuse boot clamp (large diameter).
    • Install boot clamp (large diameter) securely to boot groove, and crimp it so as to have clearance (B) of 3 mm (0.12 in) or less as shown, above.
  4. Install boot clamp (small diameter) to boot.
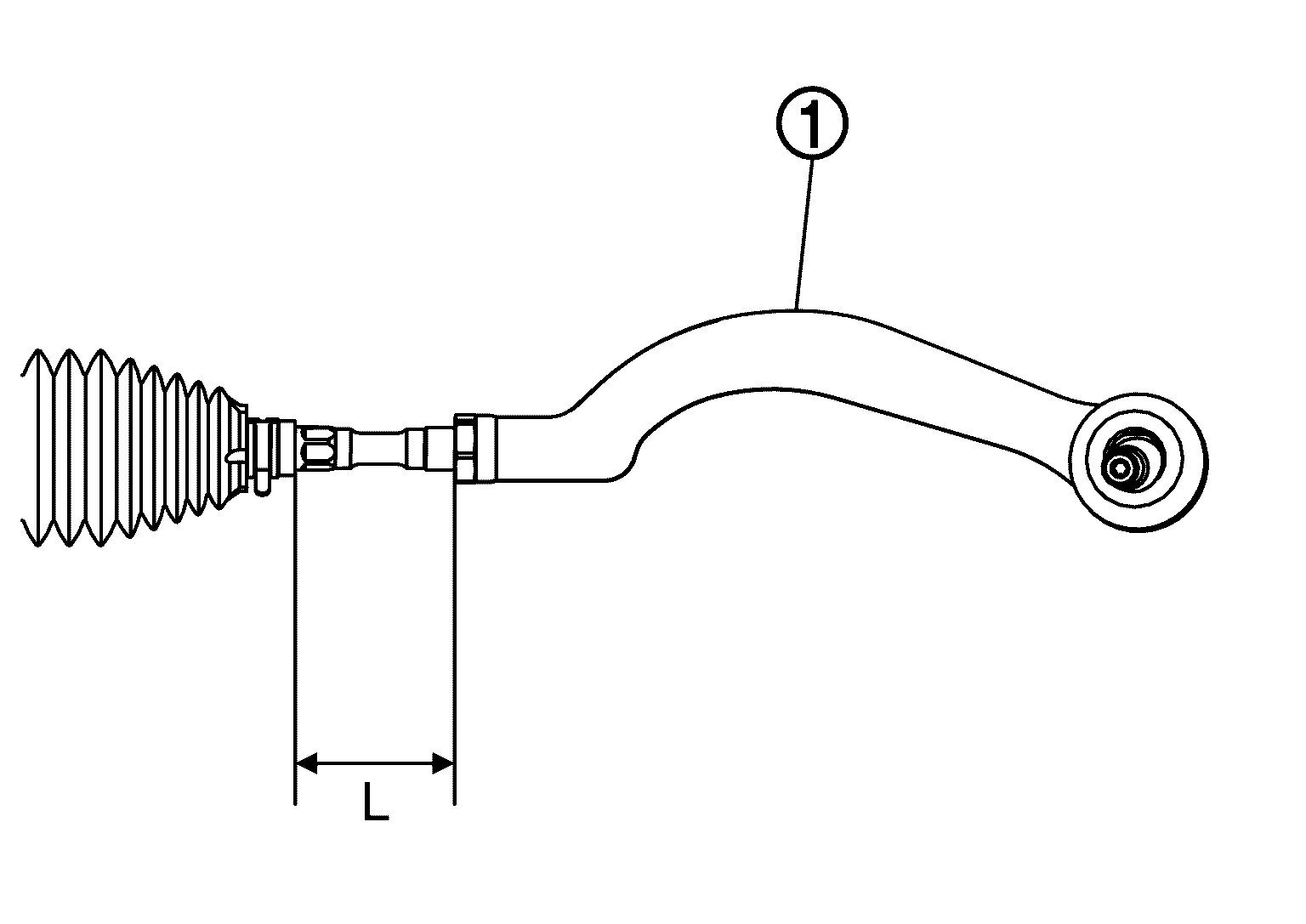
  5. Adjust inner socket to standard length (L), and then tighten lock nut to the specified torque. Check length again after tightening lock nut.
    GNSDB130712Courtesy of NISSAN NORTH AMERICA, INC.
    1. : Outer socket
    Inner socket length (L) : Steering Gear and Linkage 
    CAUTION:
    • When tightening the lock nut (1), be sure to fix outer socket (2) with a wrench or an equivalent to prevent the ball joint from getting contact with the knuckle.
      GNSDB129408Courtesy of NISSAN NORTH AMERICA, INC.
    • Adjust toe-in after this procedure. The length achieved after toe-in adjustment is not necessarily the above value.

ASSEMBLY (NORTH AMERICA PRODUCTION MODELS) 

  1. Install hole cover seal to gear housing assembly.
  2. Install inner socket. Tighten to specified torque. Refer to Exploded View .
    CAUTION:

    To prevent damage to the steering gear when installing the inner socket, hold suitable tool (A) across steering gear flats (C) while turning suitable tool (B) across inner socket flats (D).

    GNSDB106364Courtesy of NISSAN NORTH AMERICA, INC.
  3. Apply recommended grease to part (A) of inner socket, and install boot to inner socket and gear housing.
    GNSDB131482Courtesy of NISSAN NORTH AMERICA, INC.

    Use Dow Corning 111 (manufactured by TOURE.DAUKONINGU) or equivalent. 

    CAUTION:

    Never reuse boot.

    Grease application position (Reference)
    B : 10 mm (0.39 in)
  4. Install boot clamp (large diameter) (1) to boot using boot band crimping tool (SST: KV40107300) (A).
    GNSDB132257Courtesy of NISSAN NORTH AMERICA, INC.
    CAUTION:
    • Never reuse boot clamp (large diameter).
    • Install boot clamp (large diameter) securely to boot groove, and crimp it so as to have clearance (B) of 3 mm (0.12 in) or less as shown, above.
  5. Install boot clamp (small diameter) to boot.
  6. Adjust inner socket to standard length (L), and then tighten lock nut to the specified torque. Check length again after tightening lock nut.
    GNSDB130712Courtesy of NISSAN NORTH AMERICA, INC.
    1. : Outer socket
    Inner socket length (L) : Steering Gear and Linkage 
    CAUTION:
    • When tightening the lock nut (1), be sure to fix outer socket (2) with a wrench or an equivalent to prevent the ball joint from getting contact with the knuckle.
      GNSDB129408Courtesy of NISSAN NORTH AMERICA, INC.
    • To prevent damage, hold outer socket across flats using suitable tool while tightening inner socket lock nut.
    • Adjust toe-in after this procedure. The length achieved after toe-in adjustment is not necessarily the above value.
    • Inspect to make sure no boot deformation has occurred during toe-in adjustment. Adjust boot as necessary.
    • Adjust toe-in after this procedure. The length achieved after toe-in adjustment is not necessary the above value.