System Description
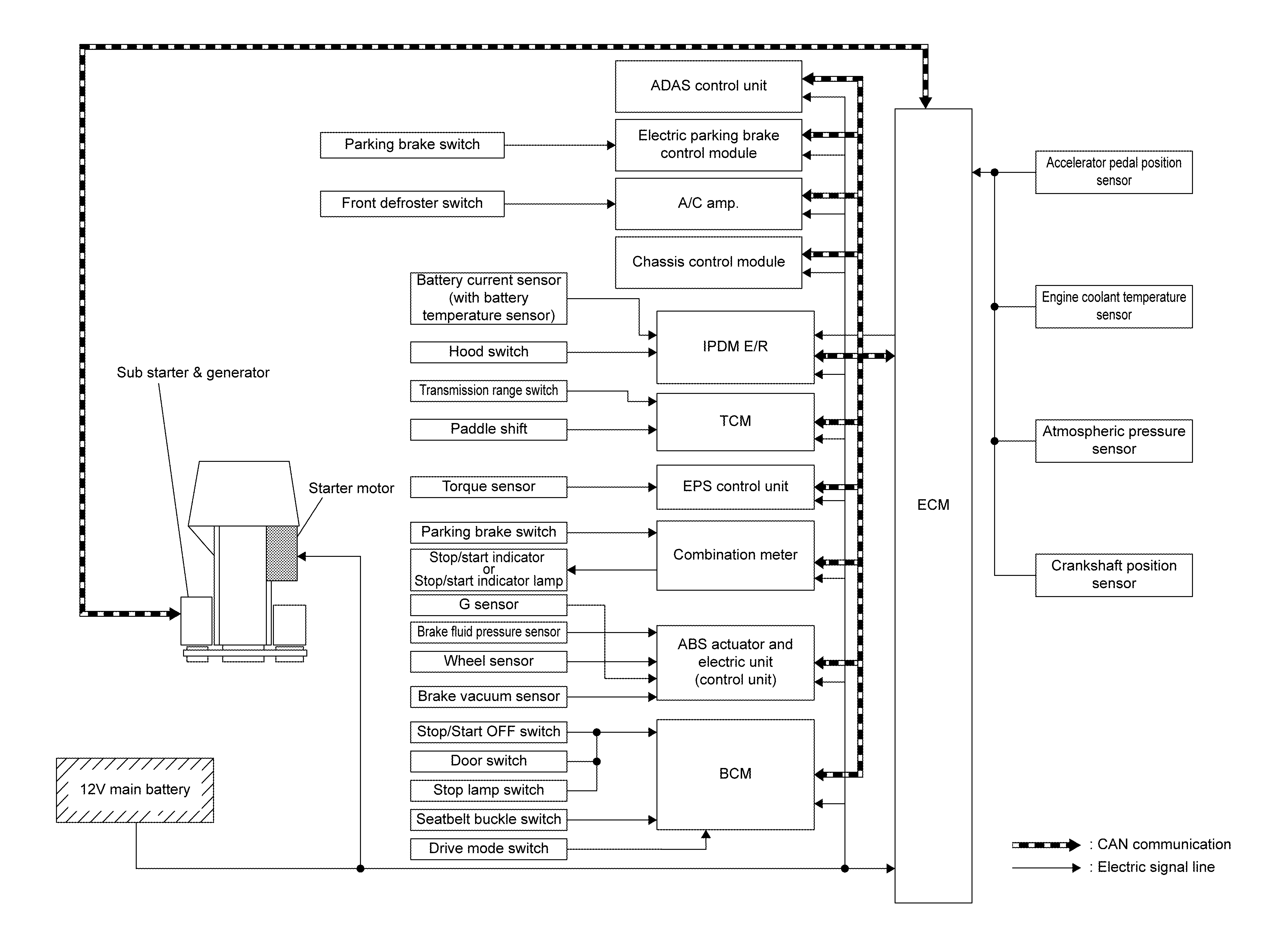
SYSTEM DIAGRAM
INPUT/OUTPUT SIGNAL CHART
| Input/Output | Transmits/Receives component | Signal name | Description | |
|---|---|---|---|---|
| Input | Accelerator pedal position sensor | Accelerator pedal position sensor signal | Detects an accelerator pedal position. | |
| Crankshaft position sensor | Crankshaft position sensor signal | Detects an engine speed. | ||
| Engine coolant temperature sensor | Engine coolant temperature sensor signal | Detects an engine coolant temperature. | ||
| Atmospheric pressure sensor | Atmospheric pressure sensor signal | Detects an atmospheric pressure. | ||
| IPDM E/R | CAN communication | Stop/Start permit signal | Detects the Electric Energy management system is ready to operate the stop/start system. | |
| Hood switch signal | Detects engine hood status. | |||
| BCM | CAN communication | Stop lamp switch signal | Detects the status of brake pedal switch. | |
| Door switch signal | Detects the status of driver side door. | |||
| Stop/Start OFF switch signal | Detects stop/start OFF switch status. | |||
| I-key exist information signal | Detects the i-key exist | |||
| Driver seatbelt switch malfunction signal | Detects the driver seatbelt switch is malfunction. | |||
| Delivery mode signal | Detects vehicle is in delivery mode | |||
| Seat belt buckle switch signal | Detects driver is sitting on the driver seat. | |||
| ABS actuator and electric unit (control unit) | CAN communication | Vehicle speed signal | Detects vehicle speed. | |
| Brake fluid pressure sensor signal | Detects brake fluid pressure. | |||
| ABS operation signal | Detects ABS operation. | |||
| Stop/Start permit signal | Detects the Braking system is ready to operate the stop/start system | |||
| ABS malfunction signal | Detects ABS is malfunction | |||
| Brake booster pressure status signal | Detects the status of brake booster pressure. | |||
| Stand Still Assist signal | Detect the Stand still Assist status. | |||
| Road slope estimation signal | Detects vehicle angularity. | |||
| EPS control unit | CAN communication | EPS torque signal | Detects an operational state of EPS system. | |
| A/C auto amp. | CAN communication | Stop/Start permit signal | Detects the air conditioning system is ready to operate the stop/start system. | |
| Combination meter | CAN communication | Parking brake status signal | Detects the status of parking brake | |
| TCM | CAN communication | Stop/Start permit signal | Detects the transmission is ready to operate the stop/start system. | |
| Shift position signal | Detects the transmission is ready to operate the stop/start system. | |||
| Transmission malfunction signal | Detects Transmission is malfunction. | |||
| Electric parking brake | CAN communication | Stop/Start permit signal | Detects the electrical parking brake status. | |
| Sub starter and generator | CAN communication | CAN communication (sub starter and generator) | Receives sub starter and generator operating status and diagnostic information. | |
| ADAS control unit | CAN communication | Stop/Start permit signal | Detects the Intelligent parking assist status. | |
| Stop/Start permit signal | Detects the pro pilot status. | |||
| Chassis control module | CAN communication | Drive mode status signal | Detects the drive mode status. | |
| Output | BCM | CAN communication | Stop/Start status signal | Transmits a stop/start status signal |
| Stop/start switch lamp ON request signal | Transmits the stop/start switch lamp ON request | |||
| ABS actuator and electric unit (control unit) | CAN communication | Stop/Start status signal | Transmits a stop/start status signal | |
| Brake hold request signal | Transmits the brake hold/release request according to the stop/start system. | |||
| EPS control unit | CAN communication | Stop/Start status signal | Transmits a stop/start status signal | |
| A/C auto amp. | CAN communication | Stop/Start status signal | Transmits a stop/start status signal | |
| TCM | CAN communication | Stop/Start status signal | Transmits a stop/start status signal | |
| Combination meter | CAN communication | Stop/Start indicator lamp and message request signal | Transmits request signal which turns ON the stop/start indicator lamp and display message | |
| Electric parking brake | CAN communication | Stop/Start status signal | Transmit a stop/start status signal. | |
| ADAS control unit | CAN communication | Stop/Start status signal | Transmit a stop/start status signal. | |
| Stop/Start permit signal | Detects the Intelligent parking assist status. | |||
| Sub starter and generator | CAN communication | Sub starter drive signal | Sends a signal to operation (restart) the sub starter and generator. | |
SYSTEM DESCRIPTION
The stop/start system enables the engine to automatically stop/restart with a simple operation and reduces unnecessary idling during stoplight or traffic congestion to improve fuel economy, reduce exhaust gas, and minimize noise. ECM detects a vehicle condition, engine condition and driver's operation condition based on signals sent from each unit and the sensors to comprehensively control the stop/start system. The operation condition of the stop/start system is indicated by the stop/start indicator lamp on the combination meter and showing on the information display. (Refer to Switch Name and Function ). If a malfunction is detected in the stop/start system, the system control is automatically deactivated and the malfunction is alerted to the driver by blinking the stop/start indicator lamp and showing the status on the information display. When a driver's operation is judged as dangerous one during the stop/start system operation, the stop/start indicator lamp blinks and the status is shown on the information display. The buzzer mounted on the combination meter sounds simultaneously to warn the driver of the dangerous operation.
Stop/Start Indicator Lamp Status
| System Condition | Condition | Stop/start indicator lamp | Warning chime |
|---|---|---|---|
| Operate | Normal | Illuminate | - |
| Hood open * | High speed blinking | Sound | |
| Normal operation: Stop/Start system inhibited state | System conditions excluded failure are not satisfied. (Battery state of charge, A/C steering operation, driver`s seat belt is unbuckled etc.). | Illuminate | - |
| Fail-Safe | Malfunction of stop/start system | Blinking | - |
BASIC OPERATION
FUNCTION DESCRIPTION
When the stop/start system readiness conditions are satisfied while the vehicle is moving, the system is ready. When the stop/start system operation conditions are satisfied while the vehicle is in a stop condition, the engine is stopped. In addition, the AT electric oil pump is activated to supply oil pressure to the clutch and the pulley. The amount of fuel saved by the stop/start system are indicated on the combination meter. When the engine restart conditions are satisfied, ECM makes IPDM E/R restart the engine. After restarting the engine, the stop/start indicator lamp and the indication on the information display turn OFF.
Stop/Start Readiness Condition
ECM judges stop/start system is ready when the following conditions are satisfied.
| Item | Condition | ||
|---|---|---|---|
| Vehicle | Stop/start OFF switch | OFF (Switch indicator: OFF) | |
| Stop/start indicator Lamp | Not blink (No malfunction) | ||
| Door (driver side) | Close | ||
| Seat belt (driver side) | Fastened | ||
| Driving history | Drive the vehicle at 13 km/h (8 MPH) or more after start the engine with ignition switch | ||
| Drive the vehicle at 8 km/h (5 MPH) or more after restart
NOTE:
|
|||
| Passes 5 seconds or more after restart | |||
| Hood | Close | ||
| Air conditioning | Automatic air conditioning | Not in DEF mode | |
| Receives Stop/start permit signal | |||
| Manual air conditioning | Not in DEF mode | ||
| ABS | System is normal | ||
| ABS not activated *2 | |||
| Receives Stop/start permit signal | |||
| EPS | System is normal | ||
| Battery status | Receives Stop/start permit signal from IPDM E/R. | ||
| Gear Position | D position | ||
| I-key | I-key exists inside vehicle | ||
| Sub starter and generator | No sub starter and generator long continuous operation | ||
| Delivery mode | Not in delivery mode *2 | ||
| Brake booster pressure | Presence of sufficient negative pressure to a brake force. (Refer to System Description ). | ||
| Stand Still Activation | Receives Stop/Start permit signal. | ||
| Pro pilot | Receives Stop/Start permit signal. | ||
| Intelligent Parking Assist | Receives Stop/Start permit signal. | ||
| Engine | MIL (Malfunction indicator lamp) | Not illuminate (No malfunction) | |
*1: If ABS system is activated, drive the vehicle at 12 km/h (7.5 MPH) or more after stop the vehicle. *2: No activation in market
- The stop/start system may be cancelled when the battery is weak or if a battery other than the stop/start system specific battery is used.
- Even though the vehicle is in above conditions, the stop/start system may be cancelled automatically.
Stop/Start Operation Condition
When the following conditions are satisfied, ECM stops the engine. And the combination meter turns ON a stop/start indicator lamp.
| Item | Condition | |
|---|---|---|
| Vehicle | Vehicle speed | Vehicle stopped [0 km/h (0 MPH)] |
| Steering wheel | Not steer (steering force does not occur) | |
| Brake pedal | Depressed | |
| Brake fluid pressure | 0.6 Mpa (6 bar, 6.12 kg/cm2 , 87 psi) | |
| Vehicle angularity | Approx. 14% or less | |
| ST RLY Cut relay | Close | |
| Engine | Engine speed | Around idle speed (Approx. 1, 250 RPM or less) |
| Elevation | 2500 m (8, 202 ft) | |
| Engine coolant temperature | 40 - 100°C (104 - 212°F) | |
| Engine system | Permit Stop/start operation | |
| Transmission | Transmission system | Receives Stop/start permit signal |
| Gear position | D position. | |
Restart Condition
When any of the following conditions is satisfied during stop/start system operating condition, ECM restarts the engine. And the combination meter turns OFF the stop/start indicator lamp.
| Item | Condition | ||
|---|---|---|---|
| Stop/Start | |||
| Vehicle | Stop/start OFF switch | ON (Switch indicator ON) | |
| Door (driver side) | Open | ||
| Seat belt | Released | ||
| I-key | I-key doesn't exist inside vehicle | ||
| Air conditioning | Auto air conditioning | Select DEF mode | |
| Air conditioning system cannot keep the performance. | |||
| Manual air conditioning | Select DEF mode and fan is ON | ||
| Brake | Brake pedal | Released | |
| Brake pedal negative pressure | Insufficient brake negative pressure | ||
| Accelerator pedal | Depressed | ||
| Engine | Engine coolant temperature | less than 40°C (104°F), over than 100°C (212°F) | |
| Engine system | Inhibit Stop/start operation | ||
| Trans mission | Shift lever position | Except for D position | |
| Paddle shift | Operation | ||
| Battery | Poor battery performance (for details, refer to 12 V Battery Current Sensor ). | ||
| ABS | Receives Stop/start operation | ||
| Intelligent Parking Assist | |||
| Stand Still Assist | |||
| Traffic Jam Pilot | |||
| Emergency brake | |||
Engine stalled Condition
When any of the following conditions is satisfied during stop/start system operating condition, ECM stalls the engine.
| Item | Condition | |
|---|---|---|
| Vehicle | Hood | Open |
- The engine may restart automatically if required by the Idling Stop System.
- Place the Ignition switch in the "OFF" position before opening the hood or performing any maintenance. Failure to do so may result in serious injuries due to automatic engine restart.
- Always place the Ignition switch in the "OFF" position before leaving your vehicle, as the system may have turned the engine off, but the Ignition will still be on and automatic restart may occur.