LEMON Manuals: Even more car manuals for everyone: 1960-2025
Home >> Toyota >> 1982 >> Tercel/Cor. Tercel L4-1452cc 1AC,3A,3AC >> Repair and Diagnosis >> Powertrain Management >> Emission Control Systems >> Evaporative Emissions System >> Testing and Inspection >> System Testing
April 5, 2026: LEMON Manuals is launched! Read the announcement.

System Testing

Charcoal Canister


1978 Corolla 1600 California, 1979 All, 1980 Except Corolla & Tercel & 1981-82 Except Corolla, Tercel & Fuel Injected Models, Figs. 7 to 14.

Fig.7 - Charcoal Canister Test:




1978 4M & 20R engines, 1978-79 2T-C & 3K-C engines

Fig.8 - Charcoal Canister Test:




1979-80 4M-E engine, 1981 5M-E engine & 1982 5M-GE engine

Fig.9 - Charcoal Canister Test:




1979 4M & 20R engines

Fig.10 - Charcoal Canister Test:




1980 except 4M-E engine & 1981-82 3A-C engine

Fig.11 - Charcoal Canister Test:




1981-82 3T-C engine

Fig.12 - Charcoal Canister Test:




1981-82 4K-C engine

Fig.13 - Charcoal Canister Test:




1982 22R engine, 1982 Corona & Pickup

Apply compressed air to tank port. Air should flow freely from other ports. Apply compressed air to purge port. Air should flow freely from other ports. If air flow is not as described or charcoal blows out from canister, replace canister. To clean canister, apply 40 psi compressed air to pipe for outer vent control valve while covering other upper ports on 1978-81 models except 1979-80 4M-E, 1980 20R, and 1981 22R engines. To clean canister on 1979-80 4M-E, 1980 20R, and 1981 22R engines, apply 40 psi compressed air to purge port while closing off other upper ports. To clean canister on 1982 except 4K-C engine, apply 43 psi compressed air to purge port while closing off other upper ports. To clean canister on 1982 4K-C engine, apply 43 psi compressed air to outer vent control valve pipe while closing off other upper ports.

1978 Except Corolla 1600 California, 1980-82 Corolla & Tercel & 1981-82 Fuel Injected Models.
Apply compressed air to tank port. Air should flow freely from other ports. Apply compressed air to purge port. Air should not flow from other ports. If air flow is not as described or charcoal blows out of canister, replace canister. To clean canister on all 1978 models and 1980-82 Tercel, blow 40 psi for 1978 models and 1980 Tercel, or 43 psi compressed air for 1981-82 Tercel, into pipe for outer vent control valve while closing off other upper ports. To clean canister on 1980-82 Corolla, 1981 5M-E engine, and 1982 5M-GE engine, blow 40 psi for 1980 Corolla or 43 psi compressed air to tank port while closing off other upper ports.

SPEED SENSOR TO VACUUM SWITCHING VALVE (IF EQUIPPED)


1978-82

1. Check hoses and wiring for loose connections and check that fuses are not burned.

2. On 78 models, connect vacuum gauge to hose between VSV and canister using 3-way connector with an orifice of not more than .04 in. in canister side and place gauge near driver's seat. On 1979-80 models and 1982 Celica, connect vacuum gauge to hose between VSV and TVSV using 3-way connector and place gauge near driver's seat. On 1981 models and 1982 except Celica, connect vacuum gauge to hose between VSV and vacuum pipe using 3-way connector and place gauge near driver's seat.

3. On 1978 models except Corolla, warm up engine and pinch off vacuum hose. On 1980-82 models, warm up engine.

4. On 1978 models, vacuum gauge should read zero when vehicle speed is below preset level of speed sensor and should deflect toward vacuum side when vehicle speed is above preset level of speed sensor. On 1979 models, gauge should read zero regardless of vehicle speed when coolant temperature is below 140° F. and, when coolant temperature is above 140° F., should indicate intake manifold vacuum when vehicle speed is below preset level of speed sensor and less than 4 in. Hg. vacuum when vehicle speed is above preset level of speed sensor. On 1980-82 models, gauge should indicate intake manifold vacuum when vehicle speed is below preset level of speed sensor and vacuum less than that of intake manifold when vehicle speed is above preset level of speed sensor.

5. On 1978-82 vehicles, if gauge readings are incorrect check speed sensor and VSV.

6. If VSV is not faulty, check speed sensor. If speed sensor is faulty, replace speedometer and repeat road test.

7. If gauge readings are still incorrect, check wiring thoroughly.

8. If speed sensor is not faulty and wiring is OK, replace computer and repeat road test.


VACUUM SWITCHING VALVE

1978-81 & 1982 Celica Short Circuit Test

Except for 1980 20R engine, 1981 22R engine, and 1982 Celica, check for continuity between all terminals of vacuum switching valve wiring connector and valve body. For 1980 20R engine, 1981 22R engine, and 1982 Celica, check for continuity between positive terminal of connector and valve body. If there is continuity, repair or replace vacuum switching valve.

1978-81 & 1982 Celica Open Circuit Test
On 1978-81 models and 1982 Celica, resistance should be as follows: 1978-79 - 48 to 60 ohms cold, 1981 except Federal Pickup with automatic transmission and 1982 Pickup Cab & Chassis and California with four wheel drive - 18 to 23 ohms at 68° F, 1981 Federal Pickup with automatic transmission and 1982 Pickup except Cab & Chassis and California with four wheel drive - 38 to 43 ohms at 68° F., and 1982 Celica - 51 to 57 ohms at 68° F. If resistance is not within specifications, replace vacuum switching valve.

1978-81 & 1982 Celica Vacuum Circuit Continuity Test

Fig.39 - Vacuum Switch Test:






For 1978 2T-C engine - Connect VSV terminals to battery terminals, Fig. 39, and check for continuity between pipes 1,3, and 4. Disconnect battery and check for continuity between pipes 1 and 3 as well as between pipes 0 and 4.

Fig.40 - Vacuum Switch Test:






For 1978 20R engine - Connect VSV terminals to battery terminals, Fig. 40, and check for continuity between pipes 1 and "A". Disconnect battery and check for continuity between pipes "A" and 8.

Fig.41 - Vacuum Switch Test:







For 1979 Federal Celica and Corona - Connect VSV terminals to battery terminals, Fig. 41, and check that there is continuity between pipes * and 3 as well as pipes 4 and 5. Disconnect battery and check that there is continuity between pipe 4 and the atmosphere.


Fig.42 - Vacuum Switch Test:






For 1979 Federal Pickup - Connect VSV terminals to battery terminals, Fig. 42, and check that there is continuity between "E" and "F". Disconnect battery and check for continuity between "E" and "G".


Fig.43 - Vacuum Switch Test:






For 1979 California models with 20R engine - Connect VSV terminals to battery terminals, Fig. 43, and check for continuity between pipes * and 3, 1 and 6, and 4 and 5. Disconnect battery and check for continuity between pipe 1 and the atmosphere as well as pipe 4 and the atmosphere.

Fig.44 - Vacuum Switch Test:




Fig.45 - Vacuum Switch Test:






For 1981 22R engine and 1982 Celica - Connect VSV terminals to battery terminals, Figs. 44 and 45, and blow into pipe to make sure VSV is open. Disconnect positive battery terminal and blow into pipe to check that VSV is closed.

1982 Corona & Pickup

Fig.46 - Vacuum Switch Test:






1. Connect VSV terminals to battery terminals, Fig. 46.

2. Blow air into a pipe to check that VSV is open.

3. Disconnect positive battery terminal and again blow air into pipe to check that VSV is closed.

4. Check that there is no continuity between positive terminal of VSV connector and valve body. If there is continuity, replace VSV.

5. Check resistance between positive terminal and other terminals of VSV connector. Resistance should be between 51 and 57 ohms at 68° F. If not, replace VSV.


Speed Sensor
1. Check that speed sensor terminals at rear of speedometer are properly connected.

2. Raise and support rear axle so that only one rear wheel is off ground, release parking brake, and place shift lever in neutral.

3. Unplug wiring connector from computer.

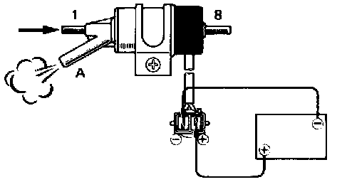
Fig.50 - Testing Speed Sensor:




1978 20R

Fig.51 - Testing Speed Sensor:




1978 2T-C

Fig.52 - Testing Speed Sensor:




1979-80 20R

Fig.53 - Testing Speed Sensor:




1981-82 Pickup

Fig.54 - Testing Speed Sensor:




1982 Celica Corona

4. Connect circuit tester, Figs. 50 to 54, and turn rear wheel slowly while checking that pointer deflects consistently.

5. Reconnect wiring connector to computer.

6. If pointer does not deflect consistently, replace speedometer assembly.

VACUUM CONTROL VALVE

1978-79 Corolla 1200

1. Remove VCV, then remove VCV filter cover and filter.

2. Blow filter clean with compressed air and replace if damaged.

3. Install filter in VCV with thicker side positioned outward.

4. Install VCV, being sure it is installed in right direction.

5. Install vacuum gauge between VCV and carburetor and disconnect hose from filter side of VCV.

6. VCV should be closed when engine vacuum is below 21.3 in. Hg.

7. Race engine, then release accelerator.

8. VCV should be open when engine vacuum is above 22 in. Hg.

9. Reconnect vacuum hose.

Fig.55 - Testing Vacuum Control Valve:




Fig.56 - Testing Speed Sensor:






1978-79 Cressida With Carburetor & 1979-80 Celica & Cressida With Fuel Injection, Figs. 55 & 56.
1. Check vacuum passage in VCV by blowing air into pipe "Y".

2. Apply vacuum above 4.33 in. Hg. on 1979 fuel injected models, or above 3.54 in. Hg. on 1980 models, to pipe "S".

3. Check that VCV is open.

4. Stop applied vacuum and check that VCV is closed.

5. Reconnect hoses.

Fig.57 - Testing Vacuum Control Valve:




Fig.58 - Testing Vacuum Control Valve:






1980-82 Tercel, Figs. 57 & 58
1. Check VCV by blowing air into pipe.

2. Apply vacuum of above 3.54 in. Hg. to pipe "S,, and blow air into pipe "T" while closing off pipes "R" and "Y".

3. Check that air comes out of pipes "U", "W",and "Z" on 1980 models or pipes "U", "V", "9W", and "Z" on 1981 models.

4. Release applied vacuum and again blow air into pipe "T" while closing off "R" and "Y".

5. Check that no air escapes from any of the pipes.


Fig.59 - Testing Vacuum Control Valve:






1981-82 Starlet, Fig. 59
1. Check VCV by blowing air into pipe.

2. Plug pipe "T" and apply vacuum above 5.31 in. Hg. to pipe "S".

3. Blow air into pipe "X" and check that VCV opens.

4. Release applied vacuum, then blow air into pipe "X" and check that VCV closes.

5. If air flow is not as described, replace VCV.

Fig.60 - Testing Vacuum Control Valve:






1982 Corolla, Fig. 60
1. Apply vacuum above 2.95 in. Hg. to pipe "S".

2. Blow air into a pipe and check that VCV opens.

3. Stop applied vacuum and again blow air into pipe. VCV should close.

4. If VCV does not operate as described, replace it.

Fig.61 - Testing Vacuum Control Valve:






1982 22R Engine, Fig. 61
1. Apply vacuum above 9.84 in. Hg. to pipe "B".

2. Check that a large amount of air flows from"A" to "C".

3. Release applied vacuum and check that a small amount of air flows from "A" to "C".

4. If VCV does not operate as described, replace it.

OUTER VENT CONTROL VALVE

1978-82 Except 1982 Celica, Corona, Pickup & Starlet

1. Disconnect hoses from valve.

2. Check that valve is open when ignition switch is off and closed when ignition switch is on.

3. Reconnect hoses and, if valve does not operate, check fuse and wiring connection.

1981-82 Celica, Corona & Pickup
1. Disconnect outer vent hose from carburetor.

2. Blow air into outer vent pipe and check that valve opens.

3. Start engine and blow air into outer vent pipe. Check that valve closes.

1981-82 Starlet
1. Disconnect hoses from valve.

2. Blow air into pipe and check that a large amount of air flows when ignition switch is off while a small amount flows when ignition switch is on.

3. Reconnect hoses.

4. If valve does not operate, check fuse and wiring connections.

BI-METAL VACUUM SWITCHING VALVE

1978-79 Cressida Without Fuel Injection

1. Cool BVSV and blow air into either pipe. Air should not flow from other pipe at temperatures below 86° F.

2. Heat BVSV to above 1O9.4° F and blow air into either pipe. Air should flow from other pipe.

3. Reconnect vacuum hoses.

1979-82 Models With Fuel Injection
1. Drain coolant.

2. Remove BVSV from water outlet.

3. Cool BVSV to below 95° F and blow air into either pipe. Air should not flow out of either pipe.

4. Heat BVSV to above 129.2° F and blow air into either pipe. Air should flow out other pipe.

5. Apply suitable sealer to threads of BVSV and reinstall in water outlet.

6. Reconnect vacuum hoses and refill coolant.

1980 Tercel & 1981-82 Starlet
1. With coolant temperature below 122° F on Tercel or 86F on Starlet, blow air into either pipe. Air should not flow from other pipe on Tercel while it should on Starlet.

2. Warm up engine, then blow air into either pipe. Air should flow from other pipe on Tercel while it should not on Starlet.

3. Reconnect vacuum hoses.

1982 Corolla
1. With coolant temperature below 104° F, blow air into either pipe and check that BVSV closes.

2. After engine reaches operating temperature, blow air into either pipe and check that BVSV opens.

3. If BVSV does not operate as described, replace it.